TOP
|
特許
|
意匠
|
商標
特許ウォッチ
Twitter
他の特許を見る
公開番号
2025159796
公報種別
公開特許公報(A)
公開日
2025-10-22
出願番号
2024062560
出願日
2024-04-09
発明の名称
照明装置
出願人
矢崎総業株式会社
代理人
個人
,
個人
,
個人
主分類
B60Q
1/24 20060101AFI20251015BHJP(車両一般)
要約
【課題】簡易的な構造又は形状で照明機能とインジケータ機能とを有する照明装置を提供する。
【解決手段】照明装置1は、複数の光源11と、複数の光源11による光射出空間Sの少なくとも一部を覆う外装カバー50と、を備える。外装カバー50は、複数の光源11から射出された光を透過させることで外部に照射する第1光照射壁51a及び第2光照射壁51bを有する。第1光照射壁51aと第2光照射壁51bとは、それぞれ無色透明又は乳白色の平板部であり、かつ、直線状の稜線部51hを介して互いに連続する。複数の光源11のうちの少なくとも1つは、光の色を可変とする。
【選択図】図5
特許請求の範囲
【請求項1】
複数の光源と、
複数の前記光源による光射出空間の少なくとも一部を覆う外装カバーと、を備え、
前記外装カバーは、複数の前記光源から射出された光を透過させることで外部に照射する第1光照射壁及び第2光照射壁を有し、
前記第1光照射壁と前記第2光照射壁とは、それぞれ無色透明又は乳白色の平板部であり、かつ、直線状の稜線部を介して互いに連続し、
複数の前記光源のうちの少なくとも1つは、前記光の色を可変とする、照明装置。
続きを表示(約 750 文字)
【請求項2】
複数の前記光源のうち、前記光の色を可変とする前記光源とは別の少なくとも1つは、単色の照明光を射出する、請求項1に記載の照明装置。
【請求項3】
複数の前記光源を実装する基板を備え、
前記基板において複数の前記光源が配置された第1基板面が前記稜線部に向かう方向を第1方向とすると、
前記第1方向と直交する仮想面に対する前記第1光照射壁及び前記第2光照射壁の各々の外面の傾斜角は、鋭角である、請求項1又は2に記載の照明装置。
【請求項4】
前記仮想面に対する前記第1光照射壁の外面の前記傾斜角を第1傾斜角とし、
前記仮想面に対する前記第2光照射壁の外面の前記傾斜角を第2傾斜角とすると、
前記第1傾斜角と前記第2傾斜角とは、同一である、請求項3に記載の照明装置。
【請求項5】
環状のパッキンを備え、
前記外装カバーは、
前記パッキンを取り付ける環状の枠部と、
前記枠部と前記第1光照射壁又は前記第2光照射壁の少なくとも1つとを一体化させる複数の側壁とを有する、請求項1又は2に記載の照明装置。
【請求項6】
前記外装カバーは、充電インレットの一部を構成する照明取付孔部に対して、当該照明取付孔部から前記第1光照射壁及び前記第2光照射壁が外方に露出し、かつ、前記第1光照射壁から照射された前記光が前記充電インレットの充電口に向かうように取り付けられる、請求項1又は2に記載の照明装置。
【請求項7】
前記光の色を可変とする前記光源は、前記充電インレットを利用した充電時の稼働状態に対応した照射パターンに基づいて前記光を射出する、請求項6に記載の照明装置。
発明の詳細な説明
【技術分野】
【0001】
本発明は、照明装置に関する。
続きを表示(約 1,500 文字)
【背景技術】
【0002】
従来、電気自動車又はプラグインハイブリッド自動車等の車両に設置され、車両外部から車載バッテリに電力を供給させるための充電インレットがある。特許文献1には、車両周辺が暗い夜間等において、充電インレットの充電口に光を照射することで、ユーザーによる充電コネクタの連結作業を容易化させる照明部を備えた車両に関する技術が開示されている。また、特許文献2には、充電インレットの充電口の近傍に設置され、光透過性のケースの内部に、少なくとも1つがバッテリの充電状態等を表示するものとして機能し得る複数の光源を備えた充電表示装置に関する技術が開示されている。
【先行技術文献】
【特許文献】
【0003】
特開2008-254700号公報
特開2012-253843号公報
【発明の概要】
【発明が解決しようとする課題】
【0004】
特許文献1に開示の車両における照明部は、夜間等に単に充電口を照らす照明機能のみを有するものであり、バッテリの充電状態等を表示するインジケータ機能は有さない。
【0005】
一方、特許文献2に開示の充電表示装置によれば、1つの光源がインジケータとして機能し、他の光源が充電口を照らす照明として機能することもあり得る。しかしながら、当該充電表示装置では、複数の光源は、1つの基板において表裏で異なる基板面に実装されるとともに、各々の光源が光を射出させる方向も互いに異なる。そのため、基板を含む内部構造が複雑化したり、外装としてのケースの形状が複雑化することでデザイン性に欠けたりすることも考えられる。
【0006】
本発明は、このような従来技術が有する課題に鑑みてなされたものである。そして本発明の目的は、簡易的な構造又は形状で照明機能とインジケータ機能とを有する照明装置を提供することにある。
【課題を解決するための手段】
【0007】
本発明の態様に係る照明装置は、複数の光源と、複数の光源による光射出空間の少なくとも一部を覆う外装カバーと、を備え、外装カバーは、複数の光源から射出された光を透過させることで外部に照射する第1光照射壁及び第2光照射壁を有し、第1光照射壁と第2光照射壁とは、それぞれ無色透明又は乳白色の平板部であり、かつ、直線状の稜線部を介して互いに連続し、複数の光源のうちの少なくとも1つは、光の色を可変とする。
【発明の効果】
【0008】
本発明によれば、簡易的な構造又は形状で照明機能とインジケータ機能とを有する照明装置を提供することができる。
【図面の簡単な説明】
【0009】
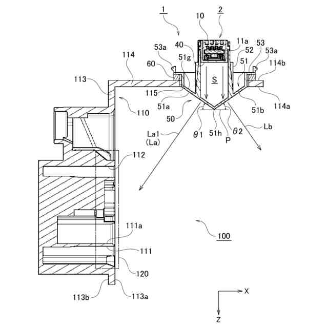
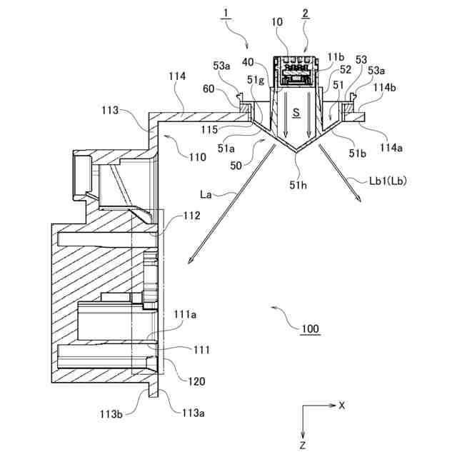
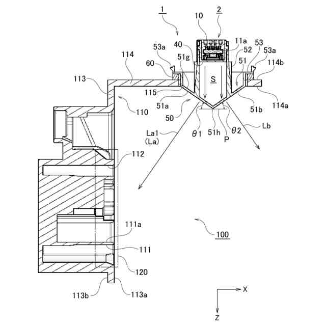
一実施形態に係る照明装置を取り付けた充電インレットの斜視図である。
一実施形態に係る照明装置の表側の斜視図である。
一実施形態に係る照明装置の裏側の斜視図である。
一実施形態に係る照明装置の分解斜視図である。
第1光源及び第2光源が配置された基板の表側の斜視図である。
第1光源による照射状態が示された照明装置の断面図である。
第2光源による照射状態が示された照明装置の断面図である。
稼働状態ごとに対応した第2光源の照射パターンを示す表である。
【発明を実施するための形態】
【0010】
以下、図面を用いて一実施形態に係る照明装置について詳細に説明する。なお、図面の寸法比率は説明の都合上誇張されており、実際の比率と異なる場合がある。
(【0011】以降は省略されています)
この特許をJ-PlatPat(特許庁公式サイト)で参照する
関連特許
矢崎総業株式会社
端子
25日前
矢崎総業株式会社
箱状体
18日前
矢崎総業株式会社
箱状体
18日前
矢崎総業株式会社
箱状体
18日前
矢崎総業株式会社
コネクタ
17日前
矢崎総業株式会社
コネクタ
17日前
矢崎総業株式会社
接続構造
18日前
矢崎総業株式会社
照明装置
25日前
矢崎総業株式会社
コネクタ
2日前
矢崎総業株式会社
照明装置
26日前
矢崎総業株式会社
照明装置
26日前
矢崎総業株式会社
電源回路
2日前
矢崎総業株式会社
コネクタ
3日前
矢崎総業株式会社
報知装置
1か月前
矢崎総業株式会社
バスバー
1か月前
矢崎総業株式会社
コネクタ
1か月前
矢崎総業株式会社
コネクタ
2日前
矢崎総業株式会社
コネクタ
1か月前
矢崎総業株式会社
コネクタ
1か月前
矢崎総業株式会社
照明装置
1か月前
矢崎総業株式会社
カバー構造
23日前
矢崎総業株式会社
コネクタ構造
1か月前
矢崎総業株式会社
画像表示装置
26日前
矢崎総業株式会社
画像表示装置
26日前
矢崎総業株式会社
コネクタ構造
1か月前
矢崎総業株式会社
コネクタ構造
1か月前
矢崎総業株式会社
端子付き電線
1か月前
矢崎総業株式会社
フラット導体
1か月前
矢崎総業株式会社
通信ケーブル
15日前
矢崎総業株式会社
車両用室内灯
15日前
矢崎総業株式会社
連結コネクタ
2日前
矢崎総業株式会社
車両用室内灯
15日前
矢崎総業株式会社
スイッチ装置
15日前
矢崎総業株式会社
スイッチ装置
15日前
矢崎総業株式会社
スイッチ装置
15日前
矢崎総業株式会社
車両用表示装置
26日前
続きを見る
他の特許を見る