TOP
|
特許
|
意匠
|
商標
特許ウォッチ
Twitter
他の特許を見る
10個以上の画像は省略されています。
公開番号
2025162730
公報種別
公開特許公報(A)
公開日
2025-10-28
出願番号
2024066120
出願日
2024-04-16
発明の名称
照明装置
出願人
矢崎総業株式会社
代理人
個人
,
個人
,
個人
主分類
F21V
13/02 20060101AFI20251021BHJP(照明)
要約
【課題】レンズと所定の絵柄等が形成されたプレートとの位置関係のズレを抑制することにより、投影領域のズレ、投影される絵柄等の変形又はズレの発生を抑制することができる照明装置を提供する。
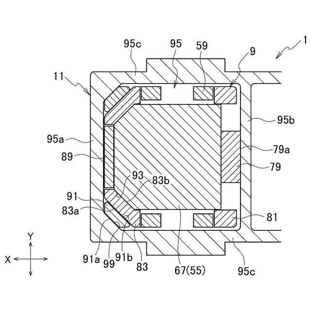
【解決手段】照明装置1は、ハウジング3と、照明部材5と、レンズユニット9と、レンズカバー11とを備える。レンズユニット9は、コリメートレンズ51と、拡大レンズ53と、コリメートレンズ51と拡大レンズ53との間に配置される刻印プレート55とを有する。コリメートレンズ51は、レンズ本体57の前端部から拡大レンズ53側に向けて突出する前端壁部89を有する。拡大レンズ53は、レンズ本体61の後端部からコリメートレンズ51側に向けて突出して弾性変形可能な弾性変形部79を有する。レンズカバー11のレンズ収容部95の内壁の前後方向の間隔Gが、レンズユニット9の前端部位から後端部位までの長さLよりも小さい。
【選択図】図2
特許請求の範囲
【請求項1】
ハウジングと、
前記ハウジングに収容され、発光部を有する照明部材と、
前記ハウジングに組付けられ、前記発光部から放射された光を透過するレンズユニットと、
前記ハウジングに装着され、前記レンズユニットを覆うレンズカバーと、を備え、
前記レンズユニットは、
前記発光部から放射された光の光軸上に配置される第1レンズと、
前記第1レンズに対向させて前記光軸上に配置される第2レンズと、
前記第1レンズと前記第2レンズとの間に配置され、投影用画像が形成されたプレートと、を有し、
前記第1レンズは、第1レンズ本体と、前記第1レンズ本体の前端部から前記第2レンズ側に向けて突出する前端壁部と、を有し、
前記第2レンズは、第2レンズ本体と、前記第2レンズ本体の後端部から前記第1レンズ側に向けて突出して弾性変形可能な弾性変形部と、を有し、
前記レンズカバーは、前記レンズユニットを収容するレンズ収容部を有し、
前記レンズ収容部の内壁の前後方向間隔が、前記レンズユニットの前端部位から後端部位までの長さよりも小さい、
照明装置。
続きを表示(約 510 文字)
【請求項2】
前記プレートは、プレート本体を有し、
前記第1レンズは、前記第1レンズ本体の前端部の左右方向両側から前記第2レンズ側に向けて突出して前記プレート本体の前方に配置された第1レンズ側柱部を有し、
前記第2レンズは、前記第2レンズ本体の前端部の左右方向両側から前記第1レンズ側に向けて突出して前記プレート本体と前記第1レンズ側柱部との間に配置された第2レンズ側柱部を有し、
前記レンズカバーは、前記レンズ収容部を構成する前壁部と後壁部と左右一対の側壁部とを有し、
前記プレート本体、前記第2レンズ側柱部、前記第1レンズ側柱部及び前記レンズカバーの前記前壁部と前記側壁部との交差部には、それぞれ前後方向に対して傾斜した傾斜面部が形成されている、
請求項1に記載の照明装置。
【請求項3】
前記第1レンズ及び前記第2レンズにはそれぞれ、係止部が形成され、
前記第1レンズの係止部と前記第2レンズの係止部とを係止させることにより、前記第1レンズと前記第2レンズとの間に前記プレートが保持される、
請求項1又は2に記載の照明装置。
発明の詳細な説明
【技術分野】
【0001】
本発明は、照明装置に関する。
続きを表示(約 1,600 文字)
【背景技術】
【0002】
従来、投影対象に画像を投影するプロジェクター(照明装置)を備えた車両内装用画像投影システム(車室内照明装置)が知られている(特許文献1参照)。
【0003】
従来の車室内照明装置では、プロジェクター(照明装置)は、光を発する光源と、投影用の柄を有する柄プレートと、光源から発せられた光を集めて柄プレートに送る第1のレンズ部品と、柄プレートの柄を投影するための第2のレンズ部品とを備える。
【先行技術文献】
【特許文献】
【0004】
特開2023-159592号公報
【発明の概要】
【発明が解決しようとする課題】
【0005】
従来の照明装置においては、投影される絵柄等が照明装置内のレンズによって比較的大きな比率で拡大されるため、レンズと所定の絵柄等が形成されたプレートとの位置関係がズレると、投影領域がズレたり、投影される絵柄等が変形又はズレる可能性がある。
【0006】
本発明は、このような従来技術が有する課題に鑑みてなされたものである。そして本発明の目的は、レンズと所定の絵柄等が形成されたプレートとの位置関係のズレを抑制することにより、投影領域のズレ、投影される絵柄等の変形又はズレの発生を抑制することができる照明装置を提供することにある。
【課題を解決するための手段】
【0007】
本発明の態様に係る照明装置は、ハウジングと、ハウジングに収容され、発光部を有する照明部材と、ハウジングに組付けられ、発光部から放射された光を透過するレンズユニットと、ハウジングに装着され、レンズユニットを覆うレンズカバーと、を備え、レンズユニットは、発光部から放射された光の光軸上に配置される第1レンズと、第1レンズに対向させて光軸上に配置される第2レンズと、第1レンズと第2レンズとの間に配置され、投影用画像が形成されたプレートと、を有し、第1レンズは、第1レンズ本体と、第1レンズ本体の前端部から第2レンズ側に向けて突出する前端壁部と、を有し、第2レンズは、第2レンズ本体と、第2レンズ本体の後端部から第1レンズ側に向けて突出して弾性変形可能な弾性変形部と、を有し、レンズカバーは、レンズユニットを収容するレンズ収容部を有し、レンズ収容部の内壁の前後方向間隔が、レンズユニットの前端部位から後端部位までの長さよりも小さい。
【発明の効果】
【0008】
本発明によれば、レンズと所定の絵柄等が形成されたプレートとの位置関係のズレを抑制することにより、投影領域のズレ、投影される絵柄等の変形又はズレの発生を抑制することができる照明装置を提供することができる。
【図面の簡単な説明】
【0009】
本実施形態に係る照明装置の一例を示す斜視図である。
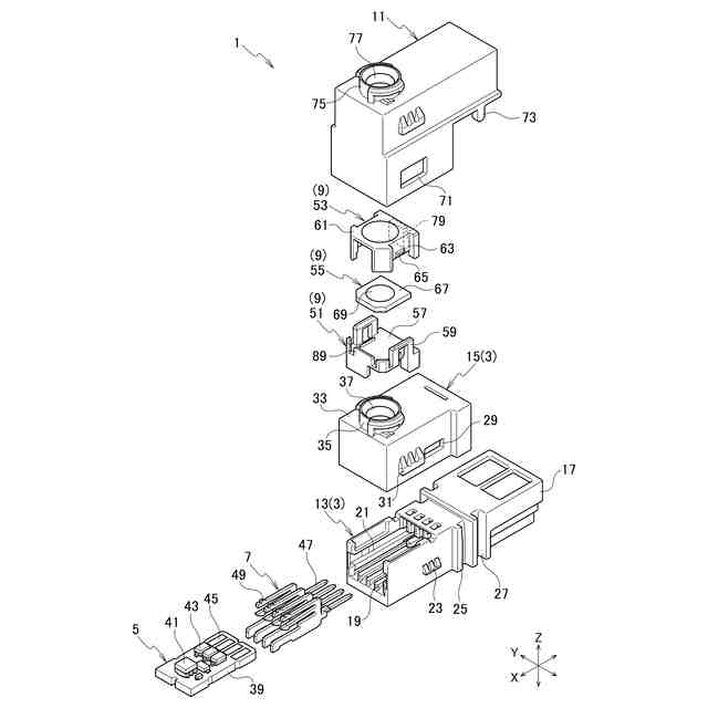
本実施形態に係る照明装置の分解斜視図である。
本実施形態に係る照明装置の平面図である。
図3のA-A線による断面図である。
本実施形態に係る照明装置の側面図である。
図5のB-B線による断面図である。
照明装置を構成するレンズユニットの斜視図である。
レンズユニットに含まれる拡大レンズの斜視図である。
レンズカバー取付け前の図3のA-A線に対応する断面図である。
レンズカバー取付け前の図5のB-B線に対応する断面図である。
【発明を実施するための形態】
【0010】
以下、図面を用いて本実施形態に係る照明装置について詳細に説明する。なお、図面の寸法比率は説明の都合上誇張されており、実際の比率と異なる場合がある。
(【0011】以降は省略されています)
この特許をJ-PlatPat(特許庁公式サイト)で参照する
関連特許
個人
照明装置
13日前
個人
室外機器
5か月前
個人
照明システム
4か月前
個人
車載機器の通気構造
2か月前
個人
消火器設置表示装置
24日前
株式会社遠藤照明
照明装置
2か月前
株式会社小糸製作所
車両用灯具
1か月前
株式会社小糸製作所
車両用灯具
1か月前
デンカ株式会社
照明装置
5か月前
個人
LEDライト
4か月前
能美防災株式会社
表示灯
2か月前
デンカ株式会社
道路用照明
5か月前
株式会社小糸製作所
投光装置
2か月前
アクア株式会社
冷蔵庫
3か月前
株式会社小糸製作所
投光装置
2か月前
株式会社小糸製作所
誘導装置
1か月前
スタンレー電気株式会社
照射用光源
1か月前
フルトラム株式会社
光学機器
1か月前
株式会社小糸製作所
表示用灯具
1か月前
株式会社小糸製作所
車両用灯具
1か月前
株式会社小糸製作所
車両用灯具
5か月前
株式会社小糸製作所
車両用灯具
4か月前
株式会社小糸製作所
車両用灯具
16日前
株式会社小糸製作所
車両用灯具
27日前
株式会社小糸製作所
表示用灯具
1か月前
株式会社小糸製作所
車両用灯具
4か月前
株式会社小糸製作所
車両用灯具
27日前
株式会社小糸製作所
車両用灯具
4か月前
株式会社小糸製作所
車両用灯具
5か月前
株式会社小糸製作所
車両用灯具
5か月前
株式会社小糸製作所
車両用灯具
28日前
株式会社小糸製作所
車両用灯具
6か月前
株式会社小糸製作所
車両用灯具
5か月前
トキコーポレーション株式会社
照明器具
6か月前
オムロン株式会社
発光エンブレム
1か月前
株式会社北井地所
照明装置
1か月前
続きを見る
他の特許を見る