TOP
|
特許
|
意匠
|
商標
特許ウォッチ
Twitter
他の特許を見る
公開番号
2025147528
公報種別
公開特許公報(A)
公開日
2025-10-07
出願番号
2024047817
出願日
2024-03-25
発明の名称
車両用灯具
出願人
株式会社小糸製作所
代理人
主分類
F21S
43/50 20180101AFI20250930BHJP(照明)
要約
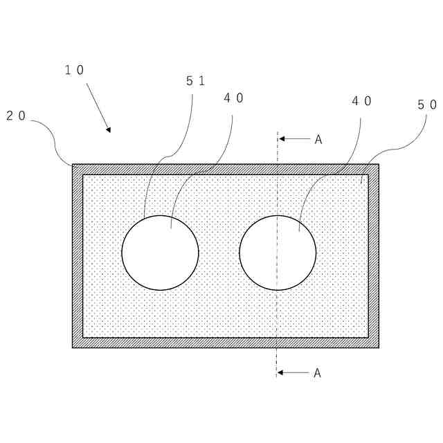
【課題】ポリプロピレン樹脂からなるエクステンションを有する車両用灯具を提供する。
【解決手段】車両用灯具10は、ランプカバー30とランプボディ20によって形成された灯室11内に、ランプユニット40とランプユニット40を囲うエクステンション50とが配置された車両用灯具10において、エクステンション50は、フィラー54を含むポリプロピレンからなる本体部52と、本体部52の表面の少なくとも一部をフィラーを含まないポリプロピレンの層からなる表面部53で構成されている。
【選択図】図2
特許請求の範囲
【請求項1】
ランプカバーと、ランプボディとによって形成された灯室内に、ランプユニットと、前記ランプユニットを囲うエクステンションとが配置された車両用灯具において、
前記エクステンションは、フィラーを含むポリプロピレンからなる本体部と、前記本体部の表面の少なくとも一部を、フィラーを含まないポリプロピレンの層からなる表面部で覆われている、車両用灯具。
続きを表示(約 150 文字)
【請求項2】
前記表面部は不透明ポリプロピレンフィルムからなり、前記本体部をラミネートしている、請求項1記載の車両用灯具。
【請求項3】
前記ランプボディがポリプロピレンからなり、前記エクステンションが前記ランプボディと溶着し固定されている、請求項1記載の車両用灯具。
発明の詳細な説明
【技術分野】
【0001】
本開示は、車両用灯具の内部に設けられるエクステンションに関する。
続きを表示(約 1,000 文字)
【背景技術】
【0002】
近年、カーボンニュートラルの観点より、車体重量の軽量化による燃費向上を目指し、車両用灯具においても更なる軽量化が求められており、特にエクステンションは、デザイン性の高い意匠部品として車両用灯具における存在感が増している。
【先行技術文献】
【特許文献】
【0003】
特開2012-169115号公報
特開2022-135732号公報
【発明の概要】
【発明が解決しようとする課題】
【0004】
従来より、車両用灯具の意匠部品であるエクステンションは、成形時の寸法安定性、軽量性、透明性などの観点から、特許文献1に示すように、ポリカーボネート樹脂製のエクステンションが知られている。
【0005】
また、特許文献2では、ポリカーボネート樹脂より比重が軽いポリプロピレン樹脂からなる車両用灯具のハウジング部材が開示されている。
【0006】
しかしながら、ポリプロピレン樹脂はそれ自体剛性が低いことから、フィラー等の添加剤を添加することで剛性を高めることができる反面、表面平滑性が損なわれる為、外観部品として用いられるエクステンション部材にそのまま使用することができないという課題がある。
【0007】
本開示は、上記のような事情を鑑みてなされたものであり、車両用灯具の更なる軽量化を図るため、ポリカーボネート樹脂よりも比重が軽いポリプロピレン樹脂をエクステンションに採用し、剛性と表面平滑性を両立させたエクステンションを提供することにある。
【課題を解決するための手段】
【0008】
本開示の車両用灯具は、ランプカバーとランプボディとよって形成された灯室内に、ランプユニットと前記ランプユニットを囲うエクステンションとが配置された車両用灯具において、前記エクステンションは、フィラーを含むポリプロピレンからなる本体部と、前記本体部の表面の少なくとも一部を、フィラーを含まないポリプロピレンの層からなる表面部で覆われるように構成した。
【0009】
また、前記表面部は不透明ポリプロピレンフィルムからなり、前記本体部をラミネートするものとした。
【0010】
また、前記ランプボディがポリプロピレンからなり、前記エクステンションが前記ランプボディと溶着し固定されるものとした。
(【0011】以降は省略されています)
この特許をJ-PlatPat(特許庁公式サイト)で参照する
関連特許
株式会社小糸製作所
車両用灯具
1か月前
株式会社小糸製作所
車両用灯具
28日前
株式会社小糸製作所
車両用灯具
1か月前
株式会社小糸製作所
表示用灯具
1か月前
株式会社小糸製作所
車両用灯具
1か月前
株式会社小糸製作所
車両用灯具
1か月前
株式会社小糸製作所
車両用灯具
1か月前
株式会社小糸製作所
車両用灯具
1か月前
株式会社小糸製作所
車両用灯具
1か月前
株式会社小糸製作所
車両用灯具
1か月前
株式会社小糸製作所
表示用灯具
1か月前
株式会社小糸製作所
車両用灯具
27日前
株式会社小糸製作所
車両用灯具
27日前
株式会社小糸製作所
車輌用灯具
27日前
株式会社小糸製作所
車両用灯具
1か月前
株式会社小糸製作所
車両用灯具
16日前
株式会社小糸製作所
車両用灯具
1か月前
株式会社小糸製作所
照明表示装置
1か月前
株式会社小糸製作所
画像表示装置
21日前
株式会社小糸製作所
虚像表示装置
1か月前
株式会社小糸製作所
画像投影装置
1か月前
株式会社小糸製作所
画像投影装置
今日
株式会社小糸製作所
画像生成装置
8日前
株式会社小糸製作所
画像表示装置
8日前
株式会社小糸製作所
表示システム
1か月前
株式会社小糸製作所
道路冠水通知システム
28日前
株式会社小糸製作所
固定構造及び固定方法
14日前
株式会社小糸製作所
表示制御装置及び表示装置
1か月前
株式会社小糸製作所
ヘッドアップディスプレイ
8日前
株式会社小糸製作所
電子ユニット及び車両用灯具
1か月前
株式会社小糸製作所
車両用灯具及び車両用灯具の製造方法
1か月前
株式会社小糸製作所
レンズに付着する雪を融かす融雪機構
1か月前
株式会社小糸製作所
画像投影ユニットおよび画像投影装置
1か月前
株式会社小糸製作所
開閉機構、車両用灯具及び車両用前照灯
1か月前
株式会社小糸製作所
素子搭載基板、車両用灯具および素子搭載方法
1か月前
株式会社小糸製作所
車両用灯具、ハウジング及びハウジングの製造方法
1か月前
続きを見る
他の特許を見る