TOP
|
特許
|
意匠
|
商標
特許ウォッチ
Twitter
他の特許を見る
10個以上の画像は省略されています。
公開番号
2025171234
公報種別
公開特許公報(A)
公開日
2025-11-20
出願番号
2024076355
出願日
2024-05-09
発明の名称
画像投影装置
出願人
株式会社小糸製作所
代理人
弁理士法人プロウィン
主分類
G02B
27/01 20060101AFI20251113BHJP(光学)
要約
【課題】広い面積での視認性を確保しながらも省電力化を図ることが可能な画像投影装置を提供する。
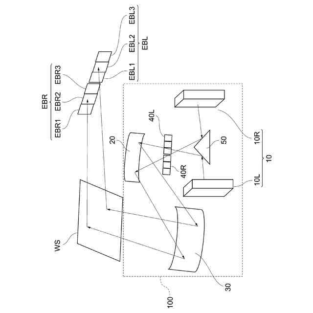
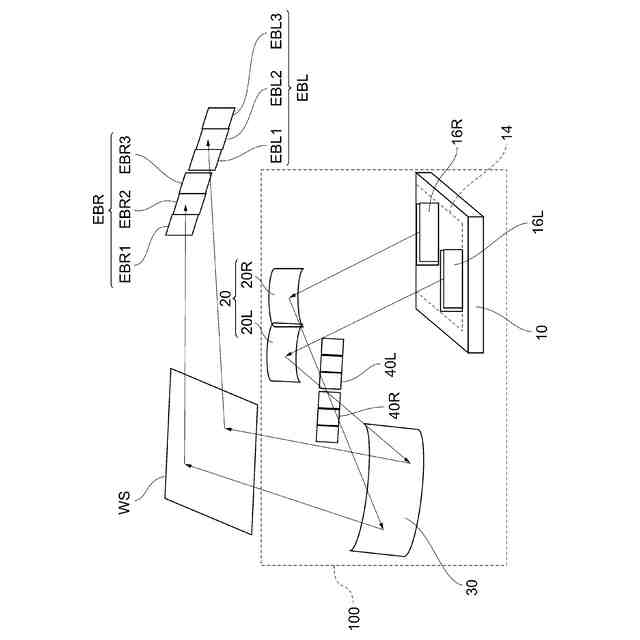
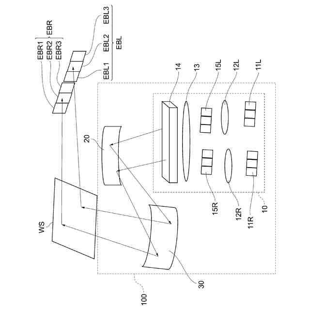
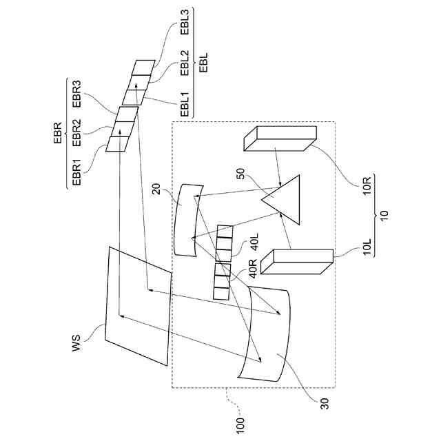
【解決手段】虚像を表示するための表示部(WS)に対して投影画像を投影する画像投影装置(100)であって、画像光を照射する画像照射部(10)と、画像光を表示部(WS)に対して投影する投影光学部(20,30)とを備え、画像照射部(10)はアイボックス全体(EBL)を複数に分割した領域を部分アイボックス(EBL1~EBL3)とし、選択された部分アイボックス(EBL1~EBL3)にのみ画像光を照射し、画像光は表示部(WS)に至る前の光路上で部分アイボックスに共役な中間像として結像される画像投影装置(100)。
【選択図】図1
特許請求の範囲
【請求項1】
虚像を表示するための表示部に対して投影画像を投影する画像投影装置であって、
画像光を照射する画像照射部と、
前記画像光を前記表示部に対して投影する投影光学部とを備え、
前記画像照射部は、アイボックス全体を複数に分割した領域を部分アイボックスとし、選択された前記部分アイボックスにのみ前記画像光を照射し、
前記画像光は、前記表示部に至る前の光路上で前記部分アイボックスに共役な中間像として結像されることを特徴とする画像投影装置。
続きを表示(約 1,200 文字)
【請求項2】
請求項1に記載の画像投影装置であって、
前記投影光学部は、前記画像照射部からの前記画像光を反射する一次ミラーと、前記一次ミラーからの前記画像光を反射する二次ミラーとを備え、
前記一次ミラーと前記二次ミラーの間において前記中間像が結像されることを特徴とする画像投影装置。
【請求項3】
請求項1に記載の画像投影装置であって、
前記画像照射部は、画像を表示する画像表示部と、前記画像表示部に対して前記画像光を照射する光源部と、前記光源部からの前記画像光を前記画像表示部に投影する照射光学部とを備え、
前記照射光学部は、前記光源部と前記画像表示部との間において前記中間像を結像することを特徴とする画像投影装置。
【請求項4】
請求項1に記載の画像投影装置であって、
前記画像照射部は、前記画像照射部と前記投影光学部との間において前記中間像を結像することを特徴とする画像投影装置。
【請求項5】
請求項2から4の何れか一つに記載の画像投影装置であって、
前記画像照射部は、右目に対して前記画像光を照射する右目用画像照射部と、左目に対して前記画像光を照射する左目用画像照射部とを備えることを特徴とする画像投影装置。
【請求項6】
請求項2から4の何れか一つに記載の画像投影装置であって、
前記画像光の光分布は、隣接した前記部分アイボックスに一部が重畳することを特徴とする画像投影装置。
【請求項7】
請求項2から4の何れか一つに記載の画像投影装置であって、
前記画像照射部は、画像を表示する画像表示部と、前記画像表示部に対して前記画像光を照射する光源部と、前記光源部からの前記画像光を前記画像表示部に投影する照射光学部とを備え、
前記光源部は、複数の発光素子が配列されており、前記部分アイボックスに対応した前記発光素子を選択的に点灯し、
前記画像光は、前記部分アイボックスの何れが選択されても、前記画像表示部の表示領域全体に対して照射されることを特徴とする画像投影装置。
【請求項8】
請求項2から4の何れか一つに記載の画像投影装置であって、
前記画像照射部は、搭乗者の視点位置を検出した視点検出結果に基づいて、前記画像光を照射する前記部分アイボックスを選択することを特徴とする画像投影装置。
【請求項9】
請求項2から4の何れか一つに記載の画像投影装置であって、
選択された前記部分アイボックスに応じて、画像の歪みを補正する画像補正部を備えることを特徴とする画像投影装置。
【請求項10】
請求項1から4の何れか一つに記載の画像投影装置であって、
前記表示部に対する前記投影光学部の角度を変更して、前記表示部への前記画像光の入射角度を変更する駆動部を備えることを特徴とする画像投影装置。
発明の詳細な説明
【技術分野】
【0001】
本発明は、画像投影装置に関し、特に複数の画像を投影するための画像投影装置に関する。
続きを表示(約 1,600 文字)
【背景技術】
【0002】
従来から、車両内に各種情報を表示する装置として、アイコンを点灯表示する計器盤が用いられている。また、表示する情報量の増加とともに、計器盤に画像表示装置を埋め込むことや、計器盤全体を画像表示装置で構成することも提案されている。
【0003】
しかし、計器盤は車両のフロントガラス(ウィンドシールド)より下方に位置しているため、計器盤に表示された情報を運転者等の搭乗者が視認するには、運転中に視線を下方に移動させる必要があり好ましくない。そこで、フロントガラスに画像を投影して、搭乗者が車両の前方を視認したときに情報を読み取れるようにするヘッドアップディスプレイ(以下HUD:Head Up Display)のような画像投影装置が提案されている(例えば、特許文献1,2を参照)。
【0004】
従来の画像投影装置は、画像照射部が画像を含んだ照射光を照射し、自由曲面ミラー等で照射光を反射させて、ウィンドシールド等の表示部を介して空間中に画像が結像するように搭乗者の視点の位置に到達させる。これにより、搭乗者は視点に入射した照射光によって、奥行き方向における結像位置に画像が表示されているように認識することができる。
【先行技術文献】
【特許文献】
【0005】
特開2019-119248号公報
特開2019-119262号公報
【発明の概要】
【発明が解決しようとする課題】
【0006】
一般的に、画像照射部からの照射光は、搭乗者の搭乗位置におけるアイボックスと称される領域に対して照射され、搭乗者の視点がアイボックス内に位置している場合にのみ搭乗者は結像された画像を視認することができる。車両の走行時等には、車両の振動や搭乗者の姿勢変化によって、搭乗者の視点位置が変化するため、アイボックスはある程度の視点位置の変化を許容する程度の面積をカバーするように設定されている。しかし、このような従来の画像投影装置では、広い面積で画像の視認性を確保するためには、大きなアイボックスに対して照射光を照射する必要があるため、省電力化を図ることが困難であるという問題があった。
【0007】
そこで本発明は、上記従来の問題点に鑑みなされたものであり、広い面積での視認性を確保しながらも省電力化を図ることが可能な画像投影装置を提供することを目的とする。
【課題を解決するための手段】
【0008】
上記課題を解決するために、本発明の画像投影装置は、虚像を表示するための表示部に対して投影画像を投影する画像投影装置であって、画像光を照射する画像照射部と、前記画像光を前記表示部に対して投影する投影光学部とを備え、前記画像照射部は、アイボックス全体を複数に分割した領域を部分アイボックスとし、選択された前記部分アイボックスにのみ前記画像光を照射し、前記画像光は、前記表示部に至る前の光路上で前記部分アイボックスに共役な中間像として結像されることを特徴とする。
【0009】
このような本発明の画像投影装置では、画像光は表示部に至る前の光路上で部分アイボックスに共役な中間像として結像され、選択された部分アイボックスにのみ画像光が照射される。これにより、広い面積での視認性を確保しながらも省電力化を図ることが可能となる。
【0010】
また、本発明の一態様では、前記投影光学部は、前記画像照射部からの前記画像光を反射する一次ミラーと、前記一次ミラーからの前記画像光を反射する二次ミラーとを備え、前記一次ミラーと前記二次ミラーの間において前記中間像が結像される。
(【0011】以降は省略されています)
この特許をJ-PlatPat(特許庁公式サイト)で参照する
関連特許
住友化学株式会社
偏光板
1か月前
カンタツ株式会社
光学系
1か月前
株式会社シグマ
結像光学系
24日前
株式会社シグマ
結像光学系
14日前
住友化学株式会社
垂直偏光板
1か月前
日本精機株式会社
ミラーユニット
23日前
古河電気工業株式会社
融着機
1か月前
日本電気株式会社
光モジュール
24日前
個人
多方向視差効果のための微細穴加工
25日前
株式会社コシナ
投射ズームレンズ
7日前
豊田合成株式会社
調光装置
1日前
日東電工株式会社
導光部材
14日前
京セラ株式会社
光学系
22日前
日東電工株式会社
光学積層体
16日前
個人
眼鏡装着位置変更具および眼鏡
1か月前
三菱電機株式会社
レンズモジュール
1か月前
日本精機株式会社
ヘッドアップディスプレイ
14日前
日本精機株式会社
ヘッドアップディスプレイ
17日前
AGC株式会社
インフィニティミラー
1か月前
新光電気工業株式会社
光導波路部品
1か月前
日本精機株式会社
ヘッドアップディスプレイ装置
14日前
マクセル株式会社
映像表示装置
7日前
日本精機株式会社
ヘッドアップディスプレイ装置
15日前
新光電気工業株式会社
光導波路部品
1か月前
株式会社リコー
光走査装置及び画像形成装置
14日前
株式会社タムロン
ズームレンズ及び撮像装置
22日前
スタンレー電気株式会社
透光性樹脂部材
22日前
レーザーテック株式会社
光学装置及び調整方法
14日前
富士通株式会社
波長変換装置および波長変換方法
28日前
キヤノン電子株式会社
光学部材、撮像装置及び宇宙航行体
1か月前
株式会社小糸製作所
画像投影装置
1か月前
キヤノン電子株式会社
光学部材、撮像装置及び宇宙航行体
1か月前
マクセル株式会社
空中浮遊映像表示装置
1日前
株式会社小糸製作所
画像表示装置
22日前
株式会社小糸製作所
画像投影装置
1日前
株式会社小糸製作所
画像生成装置
9日前
続きを見る
他の特許を見る