TOP
|
特許
|
意匠
|
商標
特許ウォッチ
Twitter
他の特許を見る
10個以上の画像は省略されています。
公開番号
2025177231
公報種別
公開特許公報(A)
公開日
2025-12-05
出願番号
2024083866
出願日
2024-05-23
発明の名称
ズームレンズ及び撮像装置
出願人
株式会社タムロン
代理人
個人
主分類
G02B
15/20 20060101AFI20251128BHJP(光学)
要約
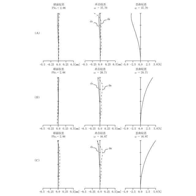
【課題】大口径でありながらズームレンズ全体の小型化を可能とし、ズーム全領域において諸収差が良好に補正されたズームレンズ及び当該ズームレンズを備えた撮像装置を提供することを目的とする。
【解決手段】この目的を達成するため、物体側から順に、正の屈折力を有する第1レンズ群と、負の屈折力を有する第2レンズ群と、正の屈折力を有する第3レンズ群と、正の屈折力を有する第4レンズ群と、少なくとも1つのレンズ群を有する後方群とからなり、広角端から望遠端への変倍に際して前記第1レンズ群は物体側へ移動し、開口絞りは前記第3レンズ群の物体側に配置し、所定の条件式を満足することを特徴とするズームレンズを採用した。
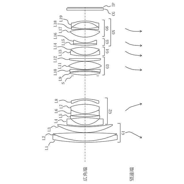
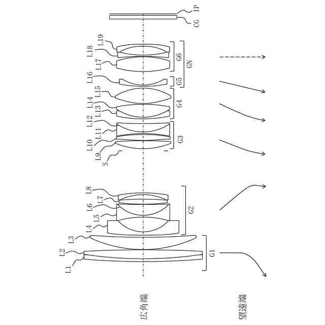
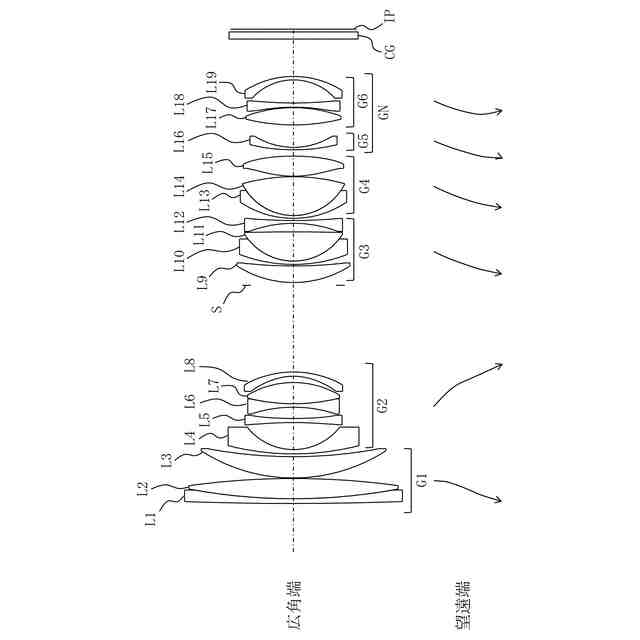
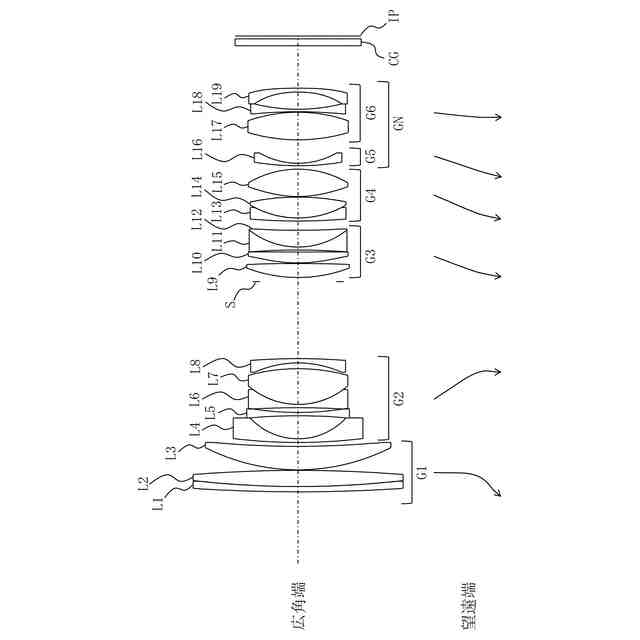
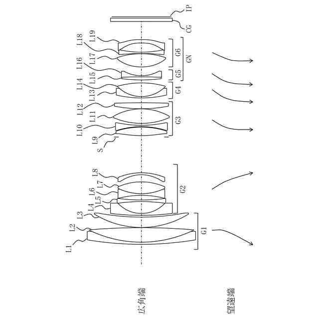
【選択図】図1
特許請求の範囲
【請求項1】
物体側から順に、正の屈折力を有する第1レンズ群と、負の屈折力を有する第2レンズ群と、正の屈折力を有する第3レンズ群と、正の屈折力を有する第4レンズ群と、少なくとも1つのレンズ群を有する後方群とからなり、
広角端から望遠端への変倍に際して前記第1レンズ群は物体側へ移動し、
開口絞りは、前記第3レンズ群の物体側に配置し、
以下の条件式を満足することを特徴とするズームレンズ。
0.90 ≦ Fnof ≦ 1.70 ・・・(1)
0.45 ≦ Bfw/fw ≦ 0.80 ・・・(2)
3.00 ≦ f1/fw ≦ 6.00 ・・・(3)
但し、
Fnof:前記第1レンズ群から前記第4レンズ群までの合成Fナンバーであって、広角端から望遠端までの全変倍領域において最も大きな値
Bfw:広角端におけるバックフォーカスであって、最も像側のレンズの像側面から結像面までの光軸上の距離であり、カバーガラス厚を空気換算したときの値
fw:広角端における当該ズームレンズ全系の焦点距離
f1:前記第1レンズ群の焦点距離
続きを表示(約 1,400 文字)
【請求項2】
前記開口絞りの位置よりも像側に配置されるレンズ群のうち最も物体側の正の屈折力を有するレンズ群内に、物体側の面が凹面である単レンズ或いは接合レンズを配置し、
以下の条件式を満足する請求項1に記載のズームレンズ。
-5.000 ≦ (RF+RB)/(RF-RB) ≦ -0.005 ・・・(4)
但し、
RF:前記物体側の面が凹面である単レンズ或いは接合レンズにおける空気と接する物体側レンズ面の曲率半径
RB:前記物体側の面が凹面である単レンズ或いは接合レンズにおける空気と接する像側レンズ面の曲率半径
【請求項3】
以下の条件式を満足する請求項1に記載のズームレンズ。
1.30 ≦ β2t/β2w ≦ 1.85 ・・・(5)
但し、
β2t:望遠端の無限遠合焦時における前記第2レンズ群の横倍率
β2w:広角端の無限遠合焦時における前記第2レンズ群の横倍率
【請求項4】
以下の条件式を満足する請求項1に記載のズームレンズ。
0.00 < f3m/fw ≦ 0.50 ・・・(6)
但し、
f3m:広角端から望遠端への変倍における前記第3レンズ群の広角端の位置と前記第3レンズ群の望遠端の位置との差分の移動量であって、物体側への移動の符号を正とし像側への移動の符号を負とする
【請求項5】
以下の条件式を満足するレンズを少なくとも1枚有する請求項1に記載のズームレンズ。
15.00 ≦ ν1 ≦ 30.00 ・・・(7)
但し、
ν1:前記開口絞りの位置よりも像側に配置される正の屈折力を有するレンズ群内における正の屈折力を有するレンズのアッベ数
【請求項6】
以下の条件式を満足するレンズを少なくとも1枚有する請求項1に記載のズームレンズ。
66.00 ≦ ν2 ≦ 98.55 ・・・(8)
但し、
ν2:前記開口絞りの位置よりも像側に配置される正の屈折力を有するレンズ群内における正の屈折力を有するレンズのアッベ数
【請求項7】
無限遠物体から有限距離物体への合焦は、前記開口絞りの位置よりも像側に配置される正の屈折力を有するレンズ群に隣接した負の屈折力を有するレンズ群を光軸方向に移動させることで行う請求項1に記載のズームレンズ。
【請求項8】
以下の条件式を満足する請求項1に記載のズームレンズ。
10 ≦ N ≦ 25 ・・・(9)
但し、
N:前記開口絞りの位置よりも像側に配置されるレンズの総枚数
【請求項9】
以下の条件式を満足する請求項1に記載のズームレンズ。
0.05 ≦ f1/f3 ≦ 4.50 ・・・(10)
但し、
f3:前記第3レンズ群の焦点距離
【請求項10】
以下の条件式を満足する請求項1に記載のズームレンズ。
0.01 ≦ f3/f4 ≦ 12.00 ・・・(11)
但し、
f3:前記第3レンズ群の焦点距離
f4:前記第4レンズ群の焦点距離
(【請求項11】以降は省略されています)
発明の詳細な説明
【技術分野】
【0001】
本件発明は、ズームレンズ及び撮像装置に関し、特に、デジタルスチルカメラやデジタルビデオカメラ等の固体撮像素子(CCDやCMOS等)を用いた撮像装置に好適なズームレンズ及び当該ズームレンズを備えた撮像装置に関する。
続きを表示(約 2,700 文字)
【背景技術】
【0002】
デジタルスチルカメラやデジタルビデオカメラ等の固体撮像素子を用いた撮像装置が広く普及している。特に一眼レフカメラやミラーレス一眼カメラなどのレンズ交換式撮像装置は、レンズを交換することによって様々な画角や明るさ、被写界深度などで撮影することが可能となっている。そして、この交換用レンズにおいては、近年、より一層の明るさやボケを活かした撮影のために、大口径比のレンズが望まれている。ここで、従来のズームレンズの場合は明るくてもFナンバーが2.8程度であることが多い。それよりも明るいレンズを求める場合は、単焦点レンズを選択せざるを得ないことが多い。しかしながら、単焦点レンズは焦点距離が固定されているため、撮影可能な範囲が限定される、別の焦点距離に変更するためにレンズを交換する手間がかかる、焦点距離の異なる複数のレンズを持ち歩く必要がある、といった不都合がある。これらの問題を解決し、利便性を改善するために大口径比のズームレンズが望まれている。
【0003】
さらに、ミラーや光学式ファインダー等を備えない小型のミラーレス一眼カメラの普及が進んでいることに伴い、カメラ本体だけでなく、レンズも小型であることも望まれている。しかしながら、大口径比のズームレンズを実現しようとした場合、レンズ径や絞り径が大きくなり、ズームレンズの全長も長くなる。更に、駆動機構等も大型化することになるので、鏡筒部分を含むレンズユニット全体が大型化する問題がある。
【0004】
ここで、ズームレンズの小型化を図るには、絞り径や最も物体側のレンズの径及び最も像側のレンズの径の小型化、そしてズームレンズの全長の短縮が必要である。加えて、鏡筒部分を含むレンズユニット全体の小型化を図るには、フォーカスの駆動機構、絞りユニット、各機構部品等を、鏡筒部分を含むレンズユニット全体中で光学系の径が小さい位置に埋め込むように配置することが望まれることから、外径が小さいレンズが配置されている領域を設けることが必要である。更に、フォーカス群の重量が重い場合、大きな駆動力を有する駆動機構が必要になり、鏡筒部分を含むレンズユニット全体の小型化が困難になってしまう。そこで、フォーカス群を小型にすることも必要である。
【0005】
ここで、Fナンバーが2.0程度の大口径比なズームレンズとしては、特許文献1、2、3などが知られている。特許文献1では、物体側から順に、正の屈折力を有する第1レンズ群、負の屈折力を有する第2レンズ群、正の屈折力を有する第3レンズ群、正の屈折力を有する第4レンズ群、負の屈折力を有する第5レンズ群、正の屈折力を有する第6レンズ群から構成され、35mm判換算時に広角端における焦点距離が25mm程度、望遠端における焦点距離が50mm程度であり、Fナンバーが2.0程度のズームレンズが提案されている。また、特許文献2では、物体側から順に、正の屈折力を有する第1レンズ群、負の屈折力を有する第2レンズ群、正の屈折力を有する第3レンズ群、正の屈折力を有する第4レンズ群、負の屈折力を有する第5レンズ群から構成され、広角端における焦点距離が28mm程度、望遠端における焦点距離が66mm程度であり、Fナンバーが2.0程度のズームレンズが提案されている。また、特許文献3では、物体側から順に、正の屈折力を有する第1レンズ群、負の屈折力を有する第2レンズ群、正の屈折力を有する第3レンズ群、正の屈折力を有する第4レンズ群から構成され、広角端における焦点距離が28mm程度、望遠端における焦点距離が70mm程度であり、Fナンバーが2.0程度のズームレンズが提案されている。
【先行技術文献】
【特許文献】
【0006】
特開2020-190680号
特開2016-014841号
特開2019-015956号
【発明の概要】
【発明が解決しようとする課題】
【0007】
しかしながら、特許文献1のズームレンズにおいては、第1レンズ群が凸レンズ1枚のみの構成であり、かつ、当該レンズの屈折力が弱いことから、広角端におけるズームレンズ全体の小型化が不十分となっている。また、第1レンズ群から第4レンズ群までの合成Fナンバー値が大きいことから、第1レンズ群から第4レンズ群までのレンズ系の大型化を招いている。さらに、APS相当サイズの撮像素子を用いた実施例が提案されているが、撮像素子サイズに対するズームレンズ全体の小型軽量化が十分でなく、ズームレンズ全体が大型化する問題がある。
【0008】
また、特許文献2のズームレンズにおいては、第1レンズ群から第3レンズ群までの合成レンズ群の屈折力が最適化できていないことから、フォーカス群である第4レンズ群に入射する光束径が径方向に大きくなっており、フォーカス群を小型化することができていない。また、絞りから撮像面までのレンズ系において、最も光束径の大きな場所にフォーカス群が配置されていることから、ズームレンズの外径方向の大型化を招いている。さらに、最も像側に配置されたレンズの像側レンズ面から撮像面までの距離(バックフォーカス)が長いことから、バックフォーカスの短いミラーレスカメラに最適化されていないという問題があり、加えて、ズームレンズの全長が長く大型化する問題もある。
【0009】
さらに、特許文献3のズームレンズにおいては、4群からなるレンズ構成を採用していることから、各レンズ群の屈折力の配置に制限があり、ズームレンズ全系で発生する諸収差を補正することに適してはいない。また、当該ズームレンズは、絞りよりも物体側の第2レンズ群をフォーカス群としている。光学系の物体側にフォーカス群が配置されているため、像倍率変化が大きくなってしまうことから、トラッキングAFやコントラストAFには好ましくないという問題がある。さらに、第2レンズ群は比較的に重量があることから、迅速なフォーカシングを行うことが困難になるという問題もある。
【0010】
本件発明は、このような事情に鑑みてなされたものである。本件発明は、上述した問題を解決し、大口径でありながらズームレンズ全体の小型化を可能とし、ズーム全領域において諸収差が良好に補正されたズームレンズ及び当該ズームレンズを備えた撮像装置を提供することを目的とする。
【課題を解決するための手段】
(【0011】以降は省略されています)
この特許をJ-PlatPat(特許庁公式サイト)で参照する
関連特許
株式会社タムロン
ズームレンズ及び撮像装置
今日
株式会社タムロン
ズームレンズ及び撮像装置
1か月前
株式会社タムロン
光学系及び撮像装置
2日前
株式会社タムロン
光学系及び撮像装置
2日前
株式会社タムロン
光学系及び撮像装置
2日前
株式会社タムロン
ズームレンズ及び撮像装置
21日前
株式会社シグマ
結像光学系
1か月前
株式会社シグマ
結像光学系
28日前
日本精機株式会社
ミラーユニット
1か月前
日本電気株式会社
光モジュール
1か月前
アイカ工業株式会社
反射防止フィルム
2日前
個人
多方向視差効果のための微細穴加工
1か月前
日東電工株式会社
導光部材
28日前
豊田合成株式会社
調光装置
15日前
株式会社コシナ
投射ズームレンズ
21日前
京セラ株式会社
光学系
1か月前
日東電工株式会社
光学積層体
1か月前
日本精機株式会社
ヘッドアップディスプレイ
28日前
日本精機株式会社
ヘッドアップディスプレイ
1か月前
キヤノン株式会社
表示装置
7日前
キヤノン株式会社
表示装置
今日
古河電気工業株式会社
光ファイバケーブル
今日
日本精機株式会社
ヘッドアップディスプレイ装置
29日前
京セラ株式会社
アイソレータ
7日前
住友化学株式会社
複合偏光板
今日
マクセル株式会社
映像表示装置
21日前
日本精機株式会社
ヘッドアップディスプレイ装置
28日前
古河電気工業株式会社
光ファイバケーブル
今日
株式会社リコー
光走査装置及び画像形成装置
28日前
株式会社タムロン
ズームレンズ及び撮像装置
1か月前
株式会社タムロン
ズームレンズ及び撮像装置
今日
スタンレー電気株式会社
透光性樹脂部材
1か月前
レーザーテック株式会社
光学装置及び調整方法
28日前
古河電気工業株式会社
融着機、ピッチ変換部材
今日
住友ベークライト株式会社
光学部品の製造方法
今日
富士通株式会社
波長変換装置および波長変換方法
1か月前
続きを見る
他の特許を見る