TOP
|
特許
|
意匠
|
商標
特許ウォッチ
Twitter
他の特許を見る
10個以上の画像は省略されています。
公開番号
2025161605
公報種別
公開特許公報(A)
公開日
2025-10-24
出願番号
2024064933
出願日
2024-04-12
発明の名称
波長変換装置および波長変換方法
出願人
富士通株式会社
代理人
個人
主分類
G02F
1/37 20060101AFI20251017BHJP(光学)
要約
【課題】波長変換での非線形歪の増大を抑えながら信号品質の劣化を抑え、伝送容量を拡大できること。
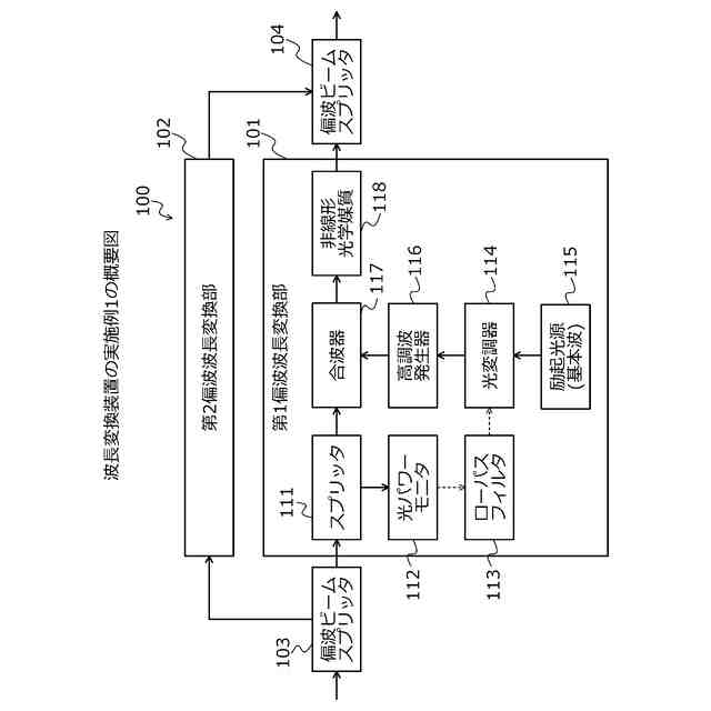
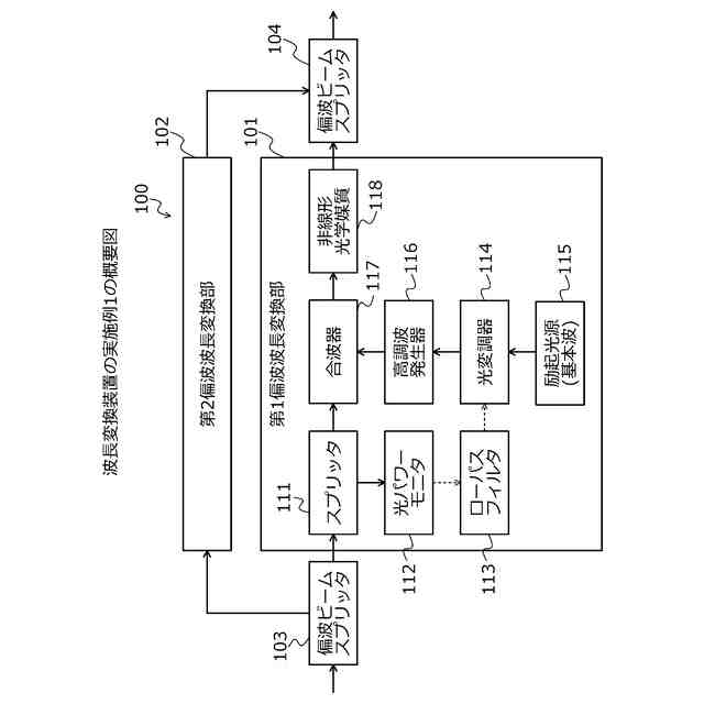
【解決手段】波長変換装置100は、入力される信号光の光パワー変動をモニタする光パワーモニタ112と、励起光源115と、励起光源115の励起光の出力を強度変調する光変調器114と、信号光に強度変調された励起光を合波する合波器117と、非線形光学効果に基づき合波器117が出力する信号光の波長変換光を生成する非線形光学媒質118と、制御部と、を含む。制御部は、光パワーモニタ112で検出した、入力される信号光の光パワー変動に基づき励起光源115の励起光の光パワーを変動させて光変調器114に出力する、制御を行う。
【選択図】図1
特許請求の範囲
【請求項1】
入力される信号光の光パワー変動をモニタする光パワーモニタと、励起光源と、前記励起光源の励起光の出力を強度変調する光変調器と、前記信号光に前記強度変調された励起光を合波する合波器と、非線形光学効果に基づき前記合波器が出力する信号光の波長変換光を生成する非線形光学媒質と、制御部と、を含む波長変換装置において、
前記制御部は、
前記光パワーモニタで検出した、前記入力される信号光の光パワー変動に基づき前記励起光源の前記励起光の光パワーを変動させて前記光変調器に出力する、
制御を行うことを特徴とする波長変換装置。
続きを表示(約 1,300 文字)
【請求項2】
前記制御部は、
前記光パワーモニタで検出した、前記入力される信号光の光パワー変動の検出出力の増減に対応して、前記励起光源の出力を同様に増減させる制御を行うことを特徴とする請求項1に記載の波長変換装置。
【請求項3】
前記入力される信号光の低域の周波数成分を通過させ前記光変調器に出力するローパスフィルタを含み、
前記光変調器は、前記強度変調の周波数帯域を前記信号光の変調速度より低く制限することを特徴とする請求項1に記載の波長変換装置。
【請求項4】
さらに、前記波長変換光の出力パワーおよび前記励起光の入出力の光パワーをそれぞれ検出する光パワーモニタと、
装置に入力される前記信号光の光パワーを可変自在な可変光減衰器と、
装置が出力する前記波長変換光を光増幅する光増幅器と、を含み、
前記制御部は、
前記入力される信号光および出力する信号光の光パワーに基づき前記波長信号光の変換効率を算出し、
前記励起光の入出力パワーにより前記励起光の減衰量を算出し、
目標とする所定の変換効率となるよう前記励起光の光パワーの調整、あるいは前記可変光減衰器の減衰量と前記光増幅器の利得の調整、を行うことを特徴とする請求項1に記載の波長変換装置。
【請求項5】
さらに、前記非線形光学媒質の出力から前記励起光の雑音パワーを検出する光パワーモニタと、
前記光変調器に入力される前記信号光の光パワーを減衰させる光減衰器と、を含み、
前記制御部は、
前記励起光の雑音パワーが目標とする所定の励起光雑音パワーとなるよう前記光減衰器の減衰量の調整、を行うことを特徴とする請求項1に記載の波長変換装置。
【請求項6】
前記非線形光学媒質は、2次非線形光学媒質であり、
前記励起光源は、通信波長帯の基本波の励起光を出力し、
前記光変調器の変調出力を、2次高調波を発生させる2次高調波発生器を介して前記合波器に出力することを特徴とする請求項1に記載の波長変換装置。
【請求項7】
前記非線形光学媒質は、2次非線形光学媒質であり、
前記励起光源は、通信波長帯の基本波の2倍波の励起光を出力することを特徴とする請求項1に記載の波長変換装置。
【請求項8】
前記非線形光学媒質は、3次非線形光学媒質であり、
前記励起光源は、通信波長帯の基本波の励起光を出力することを特徴とする請求項1に記載の波長変換装置。
【請求項9】
入力される信号光の光パワー変動をモニタする光パワーモニタと、励起光源と、前記励起光源の励起光の出力を強度変調する光変調器と、前記信号光に前記強度変調された励起光を合波する合波器と、非線形光学効果に基づき前記合波器が出力する信号光の波長変換光を生成する非線形光学媒質と、制御部と、を含む波長変換装置の波長変換方法において、
前記制御部は、
前記光パワーモニタで検出した、前記入力される信号光の光パワー変動に基づき前記励起光源の前記励起光の光パワーを変動させて前記光変調器に出力する、
制御を行うことを特徴とする波長変換方法。
発明の詳細な説明
【技術分野】
【0001】
本発明は、波長変換装置および波長変換方法に関する。
続きを表示(約 1,700 文字)
【背景技術】
【0002】
増大し続ける光ネットワークのトラフィックに対し、波長多重チャネル数を増やして伝送容量の拡大等のために、マルチバンド伝送技術の導入が進められている。マルチバンド伝送を効果的に実現するため波長変換技術の研究が進められている。例えば、従来開発が進んできた帯域の光送受信器を用いながら、伝送路では新規の波長帯で伝送することで、伝送帯域を拡大することを可能にする。光送受信器に設ける波長変換器に対して入力する光パワーが適切でないと信号に歪あるいは線形雑音の増大が生じる。
【0003】
先行技術としては、例えば、ラマン増幅媒体に入力される信号光パワーを測定した結果に応じて前方励起光の生じる利得と後方励起光の生じる利得の割合を制御し、前方励起で発生する付加的な非線形波形歪みによる劣化を抑える技術がある。また、光増幅器で入力信号と光ポンプを含む他のシステム特性をモニタし、散乱を補償するコンポーネントを有する技術がある。また、入力光をモニタフォトダイオードで受光し、入出力アンプの電力測定に応じて電流源を安定化するために必要な信号をコントローラが生成してASEの低減および増幅器系のS/N比を向上させる技術がある。また、多重光の差周波数の強度ノイズを受信機で検出し、誤差信号を使用して励起レーザーの駆動電流特性を調整して誤差信号を低減する技術がある(例えば、下記特許文献1~4参照。)。
【先行技術文献】
【特許文献】
【0004】
特開2003-131273号公報
特開2016-164664号公報
米国特許出願公開第2004/0017603号明細書
米国特許出願公開第2004/0253001号明細書
【発明の概要】
【発明が解決しようとする課題】
【0005】
波長変換器に高い光パワーを入力すると、変換効率が飽和し変換信号が歪んでしまうため、従来技術では、この非線形歪を避けるために波長変換器への入力パワーを制限している。しかし、入力光パワーを制限すると、後段の光増幅器で発生する線形雑音が増大してしまう。
【0006】
詳細は後述するが、波長変換器への入力パワーを低減し、その入力パワー低減分を後段の光アンプで補償することで、非線形歪の発生を避けることができるが、光アンプで発生する線形雑音量が増加する。結果として、従来技術では、非線形雑音もしくは線形雑音が増大し、信号品質が劣化した。
【0007】
そして、従来技術の波長変換器を用いたマルチバンド伝送では、単純に波長多重チャネル数を増加させようとしても、光送受信器および光増幅器等による帯域が制限され、増加分の帯域については、新たに光送受信器および光増幅器を開発する必要が生じた。また、波長変換による変換効率は、非線形光学媒質の特性で制限され、高効率化と非線形雑音の抑圧との両立が困難であった。
【0008】
一つの側面では、本発明は、波長変換での非線形歪の増大を抑えながら信号品質の劣化を抑え、伝送容量を拡大できることを目的とする。
【課題を解決するための手段】
【0009】
本発明の一側面によれば、入力される信号光の光パワー変動をモニタする光パワーモニタと、励起光源と、前記励起光源の励起光の出力を強度変調する光変調器と、前記信号光に前記強度変調された励起光を合波する合波器と、非線形光学効果に基づき前記合波器が出力する信号光の波長変換光を生成する非線形光学媒質と、制御部と、を含む波長変換装置において、前記制御部は、前記光パワーモニタで検出した、前記入力される信号光の光パワー変動に基づき前記励起光源の前記励起光の光パワーを変動させて前記光変調器に出力する、制御を行うことを要件とする。
【発明の効果】
【0010】
本発明の一態様によれば、波長変換での非線形歪の増大を抑えながら信号品質の劣化を抑え、伝送容量を拡大できるという効果を奏する。
【図面の簡単な説明】
(【0011】以降は省略されています)
この特許をJ-PlatPat(特許庁公式サイト)で参照する
関連特許
富士通株式会社
半導体装置
1か月前
富士通株式会社
行列演算回路
1か月前
富士通株式会社
周波数変換器
1か月前
富士通株式会社
半導体デバイス
1か月前
富士通株式会社
メッシュ微細化
1か月前
富士通株式会社
画像処理モデル
26日前
富士通株式会社
演算器及び演算方法
1か月前
富士通株式会社
ポイントクラウド分類
1か月前
富士通株式会社
冷却装置及び電子機器
1か月前
富士通株式会社
OLT及びPONシステム
10日前
富士通株式会社
アレイアンテナモジュール
1か月前
富士通株式会社
電子機器筐体及び電子機器
1か月前
富士通株式会社
光送信器及び光トランシーバ
1か月前
富士通株式会社
プログラム及びデータ処理装置
4日前
富士通株式会社
通信制御装置及び移動中継装置
1か月前
富士通株式会社
演算処理装置及び演算処理方法
1か月前
富士通株式会社
基板及びこれを備えた電子装置
1か月前
富士通株式会社
演算処理装置及び情報処理装置
20日前
富士通株式会社
波長変換装置および波長変換方法
23日前
富士通株式会社
テキスト案内される画像エディタ
1か月前
富士通株式会社
動的多次元メディアコンテンツ投影
1か月前
富士通株式会社
ラックマウント装置及びラック装置
23日前
富士通株式会社
メモリ管理装置及びメモリ管理方法
1か月前
富士通株式会社
異常予測方法および異常予測プログラム
1か月前
富士通株式会社
受光デバイス及び受光デバイスの製造方法
9日前
富士通株式会社
通知プログラム、通知方法および通知装置
9日前
富士通株式会社
管理装置、管理方法、および管理プログラム
1か月前
富士通株式会社
コンパイルプログラムおよびコンパイル方法
4日前
富士通株式会社
生成プログラム、生成方法および情報処理装置
1か月前
富士通株式会社
検出プログラム、検出方法および情報処理装置
23日前
富士通株式会社
シストリック型の演算アレイ装置及び制御方法
2か月前
富士通株式会社
交通シミュレーションのための方法および装置
1か月前
富士通株式会社
プログラム、情報処理方法および情報処理装置
1か月前
富士通株式会社
予測プログラム、予測方法および情報処理装置
2か月前
富士通株式会社
キャッシュ装置およびキャッシュ装置の制御方法
1か月前
富士通株式会社
プログラム、データ処理装置及びデータ処理方法
1か月前
続きを見る
他の特許を見る