TOP
|
特許
|
意匠
|
商標
特許ウォッチ
Twitter
他の特許を見る
10個以上の画像は省略されています。
公開番号
2025174101
公報種別
公開特許公報(A)
公開日
2025-11-28
出願番号
2024080164
出願日
2024-05-16
発明の名称
書き込みアシスト回路及びSRAM
出願人
富士通株式会社
代理人
弁理士法人扶桑国際特許事務所
主分類
G11C
29/02 20060101AFI20251120BHJP(情報記憶)
要約
【課題】書き込みアシスト回路によるアシスト量を、SRAMの製造後の出来に合わせて適切に調整可能とする。
【解決手段】SRAM10の書き込みアシスト回路14は、第1配線14aと、第1配線14aにより負電位方向のノイズを受ける複数の第2配線(ヴィクティム配線14b1~14bN)と、選択回路14cと、を有する。選択回路14cは、入力される選択信号に基づいて、複数の第2配線から、第1の数の第2配線を選択し、上記ノイズにより第1の数の第2配線に印加された負電位に基づく負電位量の電位を出力する選択回路14cとを有する。
【選択図】図1
特許請求の範囲
【請求項1】
SRAMの書き込みアシスト回路において、
第1配線と、
前記第1配線により負電位方向のノイズを受ける複数の第2配線と、
入力される選択信号に基づいて、前記複数の第2配線から、第1の数の第2配線を選択し、前記ノイズにより前記第1の数の第2配線に印加された負電位に基づく負電位量の電位を出力する選択回路と、
を有する書き込みアシスト回路。
続きを表示(約 900 文字)
【請求項2】
前記第1配線は、前記複数の第2配線の配線方向と同一方向に配置された複数の配線部を含み、
前記複数の配線部のそれぞれは、前記複数の第2配線のうちの1つの第2配線に対して他の第2配線よりも近い距離に隣接して配置されている、請求項1に記載の書き込みアシスト回路。
【請求項3】
前記選択回路は、前記第2配線の選択数が多いほど、大きな前記負電位量の前記電位を出力する、請求項1に記載の書き込みアシスト回路。
【請求項4】
前記選択回路は、選択した前記第2配線を、前記SRAMの書き込みドライバ回路の低電位側の電源端子に電気的に接続する、請求項1に記載の書き込みアシスト回路。
【請求項5】
前記選択信号に基づいて、前記複数の第2配線のうち、非選択状態となる第2配線を接地電位に短絡する短絡回路を、さらに有する、請求項1に記載の書き込みアシスト回路。
【請求項6】
前記第1の数は、0以上の整数である、請求項1に記載の書き込みアシスト回路。
【請求項7】
前記負電位量は、前記選択信号により、前記第1の数を0から1つずつ増加させていくことで調整される、請求項1に記載の書き込みアシスト回路。
【請求項8】
第1ビット線と第2ビット線に接続されたメモリセルを含むメモリセルアレイと、
前記メモリセルに対する書き込み時に、前記第1ビット線と前記第2ビット線に互いに異なる電位を印加する書き込みドライバ回路と、
前記書き込みドライバ回路に接続する書き込みアシスト回路と、
を有し、
前記書き込みアシスト回路は、
第1配線と、
前記第1配線により負電位方向のノイズを受ける複数の第2配線と、
入力される選択信号に基づいて、前記複数の第2配線から、第1の数の第2配線を選択し、前記ノイズにより前記第1の数の第2配線に印加された負電位に基づく負電位量の電位を、前記書き込みドライバ回路に対して出力する選択回路と、
を有するSRAM。
発明の詳細な説明
【技術分野】
【0001】
本発明は、書き込みアシスト回路及びSRAMに関する。
続きを表示(約 1,600 文字)
【背景技術】
【0002】
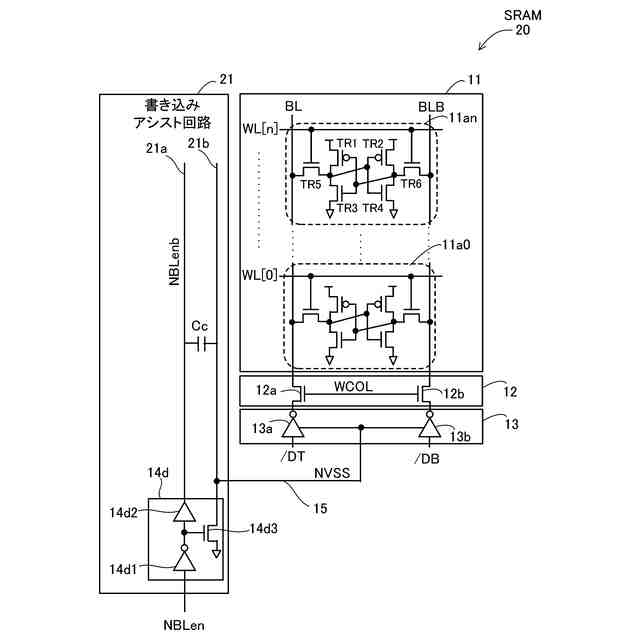
半導体テクノロジの微細化に伴う製造ばらつきの増大により、トランジスタの特性、配線の抵抗や容量のばらつきが増大している。また、近年、AI(Artificial Intelligence)やビッグデータの産業利用が進展している。AIやビッグデータの大量のデータを処理するコンピューティングパワーを確保するため、プロセッサなどの半導体集積回路の動作電圧の低電圧化が進んでいる。
【0003】
SRAM(Static Random Access Memory)はプロセッサのキャッシュメモリなどに用いられることがある。製造ばらつきの増大や動作電圧の低電圧化が進むと、SRAMのメモリセルへの書き込み性能が低下する可能性がある。書き込み性能の低下を抑制するため、メモリセルへの書き込み動作マージンを拡大する書き込みアシスト回路が用いられることがある(たとえば、特許文献1,2参照)。
【0004】
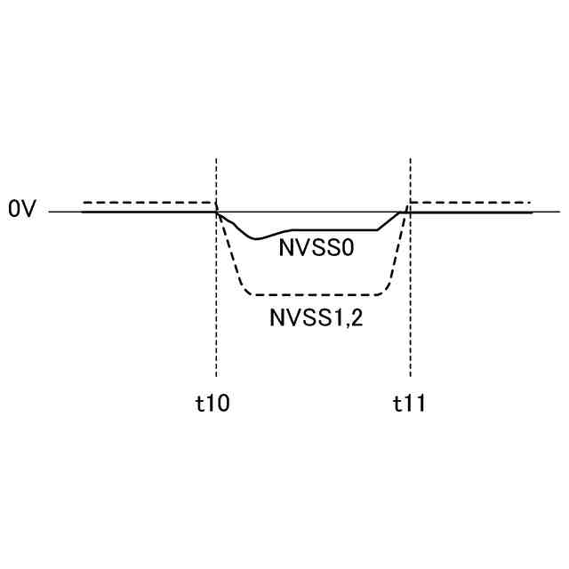
書き込みアシスト回路のアシスト方式として、ビット線の電位を負電位まで下げることでメモリセルへの書き込みを補助する、ネガティブビットライン(NBL:Negative Bit Line)方式がある。たとえば、容量素子によりアシスト量を調整可能とするNBL方式の書き込みアシスト回路や、面積の増大を防ぐために容量素子ではなく、寄生容量である配線間容量を利用したNBL方式の書き込みアシスト回路がある。
【先行技術文献】
【特許文献】
【0005】
特開2021-140848号公報
国際公開第2014/149093号
【発明の概要】
【発明が解決しようとする課題】
【0006】
しかし、従来の配線間容量を利用したNBL方式の書き込みアシスト回路は、アシスト量が固定値である。そのため、SRAMの製造後に、製造ばらつきが想定の大きさではなかったときや、仕様変更が生じても、アシスト量を適切な量に調整することができない。
【0007】
1つの側面では、書き込みアシスト回路によるアシスト量を、SRAMの製造後の出来に合わせて適切に調整可能とすることを目的とする。
【課題を解決するための手段】
【0008】
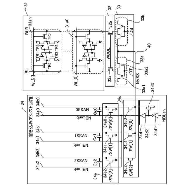
1つの実施態様では、SRAMの書き込みアシスト回路において、第1配線と、前記第1配線により負電位方向のノイズを受ける複数の第2配線と、入力される選択信号に基づいて、前記複数の第2配線から、第1の数の第2配線を選択し、前記ノイズにより前記第1の数の第2配線に印加された負電位に基づく負電位量の電位を出力する選択回路と、を有する書き込みアシスト回路が提供される。
【0009】
また、1つの実施態様では、第1ビット線と第2ビット線に接続されたメモリセルを含むメモリセルアレイと、前記メモリセルに対する書き込み時に、前記第1ビット線と前記第2ビット線に互いに異なる電位を印加する書き込みドライバ回路と、前記書き込みドライバ回路に接続する書き込みアシスト回路と、を有し、前記書き込みアシスト回路は、第1配線と、前記第1配線により負電位方向のノイズを受ける複数の第2配線と、入力される選択信号に基づいて、前記複数の第2配線から、第1の数の第2配線を選択し、前記ノイズにより前記第1の数の第2配線に印加された負電位に基づく負電位量の電位を、前記書き込みドライバ回路に対して出力する選択回路と、を有するSRAMが提供される。
【発明の効果】
【0010】
1つの側面では、書き込みアシスト回路によるアシスト量を、SRAMの製造後の出来に合わせて適切に調整できる。
【図面の簡単な説明】
(【0011】以降は省略されています)
この特許をJ-PlatPat(特許庁公式サイト)で参照する
関連特許
富士通株式会社
画像処理モデル
1か月前
富士通株式会社
ダウンサンプリング
3日前
富士通株式会社
ポイントクラウド分類
1か月前
富士通株式会社
OLT及びPONシステム
23日前
富士通株式会社
光受信装置及び光受信方法
3日前
富士通株式会社
演算処理装置及び情報処理装置
1か月前
富士通株式会社
プログラム及びデータ処理装置
17日前
富士通株式会社
情報処理装置及び情報処理方法
9日前
富士通株式会社
情報処理装置および情報処理方法
3日前
富士通株式会社
テキスト案内される画像エディタ
1か月前
富士通株式会社
波長変換装置および波長変換方法
1か月前
富士通株式会社
書き込みアシスト回路及びSRAM
1日前
富士通株式会社
メモリ管理装置及びメモリ管理方法
1か月前
富士通株式会社
ラックマウント装置及びラック装置
1か月前
富士通株式会社
不正検知プログラム、方法、及び装置
9日前
富士通株式会社
受光デバイス及び受光デバイスの製造方法
22日前
富士通株式会社
通知プログラム、通知方法および通知装置
22日前
富士通株式会社
コンパイルプログラムおよびコンパイル方法
17日前
富士通株式会社
生成プログラム、生成方法および情報処理装置
1か月前
富士通株式会社
検出プログラム、検出方法および情報処理装置
1か月前
富士通株式会社
半導体装置、半導体装置の製造方法及び電子装置
1か月前
富士通株式会社
ターゲット追跡のための方法、装置及び記憶媒体
1か月前
富士通株式会社
半導体装置、半導体装置の製造方法及び電子装置
15日前
富士通株式会社
生成プログラム、生成方法、および情報処理装置
1日前
富士通株式会社
探索プログラム、探索方法、および情報処理装置
1か月前
富士通株式会社
出張情報受付方法および出張情報受付プログラム
1か月前
富士通株式会社
並列コンピューティング・カテゴリー分けプロセス
1か月前
富士通株式会社
プログラム、データ処理方法およびデータ処理装置
1か月前
富士通株式会社
データ処理装置、データ処理方法およびプログラム
1か月前
富士通株式会社
プログラム、情報処理方法およびクラスタシステム
1日前
富士通株式会社
量子計算制御プログラム、および量子計算制御方法
1日前
富士通株式会社
情報出力プログラム、情報出力方法及び情報処理装置
1か月前
富士通株式会社
情報出力プログラム、情報出力方法及び情報処理装置
1か月前
富士通株式会社
凝縮グラフ分布(CGD)に基づいたグラフ連続学習
1か月前
富士通株式会社
情報処理プログラム、情報処理方法及び情報処理装置
22日前
富士通株式会社
情報処理プログラム、情報処理方法および情報処理装置
1か月前
続きを見る
他の特許を見る