TOP
|
特許
|
意匠
|
商標
特許ウォッチ
Twitter
他の特許を見る
10個以上の画像は省略されています。
公開番号
2025163354
公報種別
公開特許公報(A)
公開日
2025-10-29
出願番号
2024066511
出願日
2024-04-17
発明の名称
半導体装置、半導体装置の製造方法及び電子装置
出願人
富士通株式会社
代理人
弁理士法人扶桑国際特許事務所
主分類
H10D
30/87 20250101AFI20251022BHJP()
要約
【課題】高性能且つ小型の半導体装置を実現する。
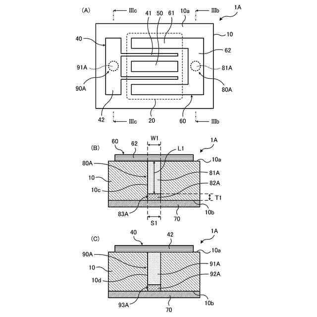
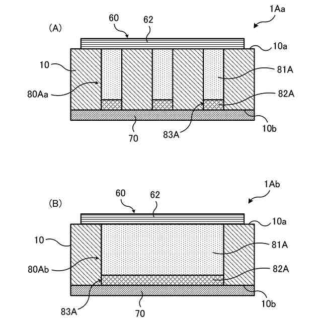
【解決手段】半導体装置1Aは、例えば、その出力側及び入力側にそれぞれ、インピーダンス整合を行うプリマッチ回路80A及びプリマッチ回路90Aを備える。出力側のプリマッチ回路80Aは、基板10内に設けられ、基板10の面10a側に設けられるドレイン電極60と接続されるビア81Aと、基板10内に設けられ、ビア81Aのドレイン電極60側とは反対側に設けられる誘電体82Aとを含む。入力側のプリマッチ回路90Aは、基板10内に設けられ、基板10の面10a側に設けられるゲート電極40と接続されるビア91Aと、基板10内に設けられ、ビア91Aのゲート電極40側とは反対側に設けられる誘電体92Aとを含む。半導体装置1Aは、プリマッチ回路80A及びプリマッチ回路90Aのうちのいずれか一方を備えてもよい。
【選択図】図3
特許請求の範囲
【請求項1】
基板と、
前記基板の第1面側に設けられる第1電極と、
前記基板内に設けられ、前記第1電極と接続される導体部と、
前記基板内に設けられ、前記導体部の前記第1電極側とは反対側に設けられる誘電体と、
を含む、半導体装置。
続きを表示(約 780 文字)
【請求項2】
前記基板の前記第1面側とは反対側の第2面側に設けられた第2電極を含み、
前記第2電極は、前記導体部とは分離され、
前記誘電体は、前記第2電極と前記導体部との間に設けられる、請求項1に記載の半導体装置。
【請求項3】
前記誘電体は、前記導体部の前記第1電極側とは反対側における一部に設けられる、請求項1に記載の半導体装置。
【請求項4】
前記導体部は、前記第1電極から前記基板内に延びるビアである、請求項1に記載の半導体装置。
【請求項5】
前記導体部は、
前記第1電極から前記基板内に延びるビアと、
前記ビアと接続され、前記基板内を前記第1面と平行な方向に延びる配線と、
を含む、請求項1に記載の半導体装置。
【請求項6】
前記第1電極は、前記基板に設けられるトランジスタ素子のドレイン電極である、請求項1に記載の半導体装置。
【請求項7】
前記第1電極は、前記基板に設けられるトランジスタ素子のゲート電極である、請求項1に記載の半導体装置。
【請求項8】
基板の第1面側に第1電極を形成する工程と、
前記基板内に、前記第1電極と接続される導体部を形成する工程と、
前記基板内に、前記導体部の前記第1電極側とは反対側に設けられる誘電体を形成する工程と、
を含む、半導体装置の製造方法。
【請求項9】
基板と、
前記基板の第1面側に設けられる第1電極と、
前記基板内に設けられ、前記第1電極と接続される導体部と、
前記基板内に設けられ、前記導体部の前記第1電極側とは反対側に設けられる誘電体と、
を含む半導体装置を備える、電子装置。
発明の詳細な説明
【技術分野】
【0001】
本発明は、半導体装置、半導体装置の製造方法及び電子装置に関する。
続きを表示(約 1,600 文字)
【背景技術】
【0002】
例えば、MMIC(Microwave Monolithic Integrated Circuit)のインピーダンス整合に、基板上に設けたキャパシタを用いる技術のほか、ヘテロ接合型トランジスタの高抵抗半導体層を誘電体層としたキャパシタを用いる技術が知られている(特許文献1)。
【先行技術文献】
【特許文献】
【0003】
特開昭62-30360号公報
【発明の概要】
【発明が解決しようとする課題】
【0004】
半導体装置では、基板上に設けられる入力用又は出力用の電極が、その外側において当該基板上に設けられるキャパシタと配線で接続され、インピーダンス整合が行われる場合がある。この場合、インピーダンス整合によって半導体装置の高性能化が可能になる一方、基板上での電極とキャパシタとの接続のために半導体装置が大型化することが起こり得る。
【0005】
1つの側面では、本発明は、高性能且つ小型の半導体装置を実現することを目的とする。
【課題を解決するための手段】
【0006】
1つの態様では、基板と、前記基板の第1面側に設けられる第1電極と、前記基板内に設けられ、前記第1電極と接続される導体部と、前記基板内に設けられ、前記導体部の前記第1電極側とは反対側に設けられる誘電体と、を含む、半導体装置が提供される。
【0007】
また、別の態様では、上記のような半導体装置の製造方法、上記のような半導体装置を備える電子装置が提供される。
【発明の効果】
【0008】
1つの側面では、高性能且つ小型の半導体装置を実現することが可能になる。
【図面の簡単な説明】
【0009】
半導体装置の構成例について説明する図である。
プリマッチ回路を備える半導体装置の一例について説明する図である。
第1実施形態に係る半導体装置の一例について説明する図である。
第1実施形態に係る半導体装置のインピーダンス整合について説明する図である。
第1実施形態に係る半導体装置の変形例について説明する図である。
第1実施形態に係る半導体装置の製造方法の一例について説明する図(その1)である。
第1実施形態に係る半導体装置の製造方法の一例について説明する図(その2)である。
第2実施形態に係る半導体装置の一例について説明する図である。
第2実施形態に係る半導体装置の製造方法の一例について説明する図(その1)である。
第2実施形態に係る半導体装置の製造方法の一例について説明する図(その2)である。
第2実施形態に係る半導体装置の製造方法の一例について説明する図(その3)である。
第3実施形態に係る半導体パッケージの一例について説明する図である。
第4実施形態に係る力率改善回路の一例について説明する図である。
第5実施形態に係る電源装置の一例について説明する図である。
第6実施形態に係る増幅器の一例について説明する図である。
【発明を実施するための形態】
【0010】
はじめに、半導体装置のインピーダンス整合について述べる。
半導体装置では、例えば、その入力用又は出力用の電極がキャパシタと配線で接続され、インピーダンス整合が行われる場合がある。この場合、入力用又は出力用の電極と接続されるキャパシタ及び配線を含む回路は、プリマッチ回路とも称される。半導体装置では、このようなプリマッチ回路が用いられ、入力又は出力される信号についてインピーダンス整合が行われ得る。
(【0011】以降は省略されています)
この特許をJ-PlatPat(特許庁公式サイト)で参照する
関連特許
富士通株式会社
半導体装置
1か月前
富士通株式会社
周波数変換器
2か月前
富士通株式会社
行列演算回路
2か月前
富士通株式会社
半導体デバイス
1か月前
富士通株式会社
メッシュ微細化
1か月前
富士通株式会社
画像処理モデル
1か月前
富士通株式会社
演算器及び演算方法
1か月前
富士通株式会社
ダウンサンプリング
3日前
富士通株式会社
ポイントクラウド分類
1か月前
富士通株式会社
冷却装置及び電子機器
2か月前
富士通株式会社
ハイブリッド光増幅器
2か月前
富士通株式会社
量子デバイスの製造方法
3か月前
富士通株式会社
OLT及びPONシステム
23日前
富士通株式会社
アレイアンテナモジュール
1か月前
富士通株式会社
電子機器筐体及び電子機器
1か月前
富士通株式会社
光受信装置及び光受信方法
3日前
富士通株式会社
光送信器及び光トランシーバ
1か月前
富士通株式会社
情報処理装置及び情報処理方法
9日前
富士通株式会社
通信制御装置及び移動中継装置
1か月前
富士通株式会社
演算処理装置及び情報処理装置
1か月前
富士通株式会社
基板及びこれを備えた電子装置
1か月前
富士通株式会社
プログラム及びデータ処理装置
17日前
富士通株式会社
演算処理装置及び演算処理方法
2か月前
富士通株式会社
テキスト案内される画像エディタ
1か月前
富士通株式会社
波長変換装置および波長変換方法
1か月前
富士通株式会社
情報処理装置および情報処理方法
3日前
富士通株式会社
書き込みアシスト回路及びSRAM
1日前
富士通株式会社
ラックマウント装置及びラック装置
1か月前
富士通株式会社
メモリ管理装置及びメモリ管理方法
1か月前
富士通株式会社
動的多次元メディアコンテンツ投影
2か月前
富士通株式会社
ポイントクラウドレジストレーション
3か月前
富士通株式会社
不正検知プログラム、方法、及び装置
9日前
富士通株式会社
異常予測方法および異常予測プログラム
2か月前
富士通株式会社
視線誘導方法および視線誘導プログラム
3か月前
富士通株式会社
受光デバイス及び受光デバイスの製造方法
22日前
富士通株式会社
通知プログラム、通知方法および通知装置
22日前
続きを見る
他の特許を見る