TOP
|
特許
|
意匠
|
商標
特許ウォッチ
Twitter
他の特許を見る
公開番号
2025141401
公報種別
公開特許公報(A)
公開日
2025-09-29
出願番号
2024041312
出願日
2024-03-15
発明の名称
行列演算回路
出願人
富士通株式会社
代理人
弁理士法人真田特許事務所
,
個人
主分類
G06F
17/16 20060101AFI20250919BHJP(計算;計数)
要約
【課題】複数精度の演算に対応可能な演算回路の回路面積を削減する。
【解決手段】複数の第1演算器3と複数の第1演算器3のそれぞれに接続される補助演算器4とを有する第2演算器2が格子状に複数、配置され、複数の第2演算器2のそれぞれにおいて、複数の第1演算器3のそれぞれは、行列積の乗数を分割して生成される部分行列と、被乗数を分割して生成される部分行列との乗算を行なって部分行列積を算出し、補助演算器4は、複数の第1演算器3のそれぞれによって算出された部分行列積の桁合わせと加算を行なう。
【選択図】図1
特許請求の範囲
【請求項1】
行列積の演算を行なう行列演算回路であって、
複数の第1演算器と、前記複数の第1演算器のそれぞれに接続される補助演算器と、を有する第2演算器が格子状に複数、配置され、
複数の前記第2演算器のそれぞれにおいて、
前記複数の第1演算器のそれぞれは、行列積の乗数を分割して生成される部分行列と被乗数を分割して生成される部分行列との乗算を行なって部分行列積を算出し、
前記補助演算器は、前記複数の第1演算器のそれぞれによって算出された前記部分行列積の桁合わせと加算を行なう
ことを特徴とする行列演算回路。
続きを表示(約 820 文字)
【請求項2】
前記行列演算回路は、第1の精度のデータを処理する第1の計算モードと、前記第1の精度よりも高い第2の精度のデータを処理する第2の計算モードとの2つの計算モードを切り替えて動作可能であり、
前記第1の計算モードにおいては、前記行列演算回路に備えられた全ての前記複数の第1演算器のそれぞれによって算出された前記部分行列積の加算を行ない、
前記第2の計算モードにおいては、前記複数の第2演算器の前記補助演算器のそれぞれの計算結果の加算を行なう
ことを特徴とする請求項1に記載の行列演算回路。
【請求項3】
前記複数の第1演算器のそれぞれが、FP(Floating Point)32のデータを演算対象とする回路であり、
前記複数の第2演算器のそれぞれが、FP64のデータを演算対象とする回路である
ことを特徴とする請求項1に記載の行列演算回路。
【請求項4】
前記複数の第1演算器のそれぞれが、FP16のデータを演算対象とする回路であり、
前記複数の第2演算器のそれぞれが、FP32のデータを演算対象とする回路である
ことを特徴とする請求項1に記載の行列演算回路。
【請求項5】
前記複数の第1演算器のそれぞれが、8ビット浮動小数点データを演算対象とする回路であり、
前記複数の第2演算器のそれぞれが、FP32のデータを演算対象とする回路である
ことを特徴とする請求項1に記載の行列演算回路。
【請求項6】
前記複数の第1演算器のそれぞれがWallace木を用いて形成された部分積加算回路である
ことを特徴とする請求項1に記載の行列演算回路。
【請求項7】
前記複数の第1演算器が格子状に配置された
ことを特徴とする請求項1~6のいずれか1項に記載の行列演算回路。
発明の詳細な説明
【技術分野】
【0001】
本発明は、行列演算回路に関する。
続きを表示(約 1,400 文字)
【背景技術】
【0002】
近年のHPC(High Performance Computing)において実行されるアプリケーション(HPCアプリ)やML(Machine Learning)を実現するアプリケーション(MLアプリ)では、浮動小数点演算が多用されている。
【0003】
また、これらのHPCアプリやMLアプリにおいては行列積演算を用いるものが多いが、浮動小数点のデータを演算対象とする行列積演算は計算時間が長くなるため、アクセラレータによる高速化が望まれている。なお、浮動小数点演算を実現する一般的な乗算回路では、仮数部(mantissa又はsignificand)の整数乗算器による処理に最も演算時間がかかる。
【0004】
さらに、浮動小数点演算では、アプリケーションによって、FP(Floating Point)64,FP32,FP16などの複数精度(ビット幅)の数値が使い分けられている。FP32乗算は24×24ビット整数乗算を必要とし、FP64乗算は53×53ビット整数乗算を必要とする。
【先行技術文献】
【特許文献】
【0005】
特開2021-33813号公報
【発明の概要】
【発明が解決しようとする課題】
【0006】
複数精度の浮動小数点演算に対応するために、アクセラレータにそれぞれの精度に対応する演算回路を複数実装すると回路面積が増大する。また、使われない精度用に設けられた演算回路は動作しないため、演算器の使用率も低下する。
【0007】
1つの側面では、本発明は、複数精度の演算に対応可能な演算回路の回路面積を削減することを目的とする。
【課題を解決するための手段】
【0008】
このため、この行列演算回路は、行列積の演算を行なう行列演算回路であって、複数の第1演算器と、前記複数の第1演算器のそれぞれに接続される補助演算器と、を有する第2演算器が格子状に複数、配置される。そして、複数の前記第2演算器のそれぞれにおいて、前記複数の第1演算器のそれぞれは、行列積の乗数を分割して生成される部分行列と被乗数を分割して生成される部分行列との乗算を行なって部分行列積を算出し、前記補助演算器は、前記複数の第1演算器のそれぞれによって算出された前記部分行列積の桁合わせと加算を行なう。
【発明の効果】
【0009】
一実施形態によれば、複数精度の演算に対応可能な演算回路の回路面積を削減することができる。
【図面の簡単な説明】
【0010】
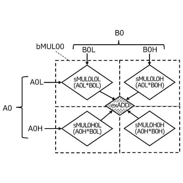
一実施形態に係る演算回路の構成を模式的に示す図である。
Wallace木を説明するための図である。
Wallace木の構成を示す図である。
Wallace木の構成を示す図である。
Wallace木の構成を示す図である。
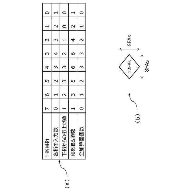
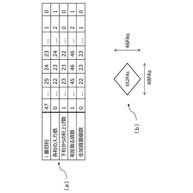
4つの24×24ビット整数乗算器用Wallace木を含む53×53ビット整数乗算器用Wallace木を例示する図である。
図6に例示したWallace木のレイアウト図である。
図6および図7に例示した53×53ビット整数乗算器用Wallace木を構成する4つの低精度乗算器および補助演算器の各Wallace木の構成を示す図である。
【発明を実施するための形態】
(【0011】以降は省略されています)
この特許をJ-PlatPat(特許庁公式サイト)で参照する
関連特許
富士通株式会社
画像処理モデル
11日前
富士通株式会社
ポイントクラウド分類
18日前
富士通株式会社
光送信器及び光トランシーバ
22日前
富士通株式会社
演算処理装置及び情報処理装置
5日前
富士通株式会社
波長変換装置および波長変換方法
8日前
富士通株式会社
テキスト案内される画像エディタ
18日前
富士通株式会社
ラックマウント装置及びラック装置
8日前
富士通株式会社
メモリ管理装置及びメモリ管理方法
17日前
富士通株式会社
生成プログラム、生成方法および情報処理装置
16日前
富士通株式会社
検出プログラム、検出方法および情報処理装置
8日前
富士通株式会社
ターゲット追跡のための方法、装置及び記憶媒体
5日前
富士通株式会社
出張情報受付方法および出張情報受付プログラム
22日前
富士通株式会社
探索プログラム、探索方法、および情報処理装置
22日前
富士通株式会社
半導体装置、半導体装置の製造方法及び電子装置
3日前
富士通株式会社
並列コンピューティング・カテゴリー分けプロセス
18日前
富士通株式会社
プログラム、データ処理方法およびデータ処理装置
16日前
富士通株式会社
データ処理装置、データ処理方法およびプログラム
2日前
富士通株式会社
情報出力プログラム、情報出力方法及び情報処理装置
22日前
富士通株式会社
凝縮グラフ分布(CGD)に基づいたグラフ連続学習
18日前
富士通株式会社
情報出力プログラム、情報出力方法及び情報処理装置
9日前
富士通株式会社
情報処理プログラム、情報処理方法および情報処理装置
8日前
富士通株式会社
情報処理プログラム、情報処理方法および情報処理装置
16日前
富士通株式会社
領域特定プログラム、領域特定装置、及び領域特定方法
5日前
富士通株式会社
情報処理プログラム、情報処理方法及び情報処理システム
8日前
富士通株式会社
情報処理プログラム、情報処理方法、および情報処理装置
2日前
富士通株式会社
データ変換のための方法と装置及びコンピュータプログラム
8日前
富士通株式会社
リスク推定プログラム、リスク推定方法および情報処理装置
22日前
富士通株式会社
マトリクススケジューラを備えるプロセッサ及び情報処理装置
22日前
富士通株式会社
起動制御システム、起動制御方法、および起動制御プログラム
5日前
富士通株式会社
作業計画立案プログラム、作業計画立案方法、および情報処理装置
8日前
富士通株式会社
ノイズ情報推定プログラム、ノイズ情報推定方法および情報処理装置
8日前
富士通株式会社
パラメータ特定プログラム,パラメータ特定方法,及び情報処理装置
8日前
富士通株式会社
パラメータ特定プログラム,パラメータ特定方法,及び情報処理装置
8日前
富士通株式会社
オープンボキャブラリシーン及びテキストコンテンツを用いた、グラウンディングされた人間の動き生成
18日前
個人
詐欺保険
18日前
個人
縁伊達ポイン
18日前
続きを見る
他の特許を見る