TOP
|
特許
|
意匠
|
商標
特許ウォッチ
Twitter
他の特許を見る
10個以上の画像は省略されています。
公開番号
2025161251
公報種別
公開特許公報(A)
公開日
2025-10-24
出願番号
2024064279
出願日
2024-04-11
発明の名称
情報処理プログラム、情報処理方法および情報処理装置
出願人
富士通株式会社
代理人
弁理士法人酒井国際特許事務所
主分類
G06Q
30/015 20230101AFI20251017BHJP(計算;計数)
要約
【課題】サービスデスク業務の運用負荷を軽減する。
【解決手段】実施形態の情報処理プログラムは、受け付ける処理と、複製する処理と、付与する処理と、送信する処理とをコンピュータに実行させる。受け付ける処理は、ヘルプコンテンツの表示画面においてヘルプコンテンツに対する書き込み要求を受け付ける。複製する処理は、書き込み要求を受け付けた場合、ヘルプコンテンツを複製する。付与する処理は、複製されたヘルプコンテンツに対して書き込み要求を受け付けたユーザへの編集権限と、ヘルプコンテンツの運用者への閲覧権限とを付与する。送信する処理は、ユーザにより編集されたヘルプコンテンツを含む問い合わせデータを運用者の宛先へ送信する。
【選択図】図2
特許請求の範囲
【請求項1】
ヘルプコンテンツの表示画面において当該ヘルプコンテンツに対する書き込み要求を受け付け、
前記書き込み要求を受け付けた場合、前記ヘルプコンテンツを複製し、
複製された前記ヘルプコンテンツに対して前記書き込み要求を受け付けたユーザへの編集権限と、前記ヘルプコンテンツの運用者への閲覧権限とを付与し、
前記ユーザにより編集された前記ヘルプコンテンツを含む問い合わせデータを前記運用者の宛先へ送信する、
処理をコンピュータに実行させることを特徴とする情報処理プログラム。
続きを表示(約 920 文字)
【請求項2】
前記複製する処理は、前記書き込み要求を受け付けた時点の前記ヘルプコンテンツの表示画面を複製する、
ことを特徴とする請求項1に記載の情報処理プログラム。
【請求項3】
前記送信する処理は、複製された前記ヘルプコンテンツの表示画面に対して前記ユーザによる書き込みが行われた画面データを含む前記問い合わせデータを送信する、
ことを特徴とする請求項2に記載の情報処理プログラム。
【請求項4】
前記ヘルプコンテンツは、質問と、当該質問に対する回答とを示したFAQである、
ことを特徴とする請求項1に記載の情報処理プログラム。
【請求項5】
前記ヘルプコンテンツごとに、前記問い合わせデータを集計した集計画面を表示する処理をさらにコンピュータに実行させる、
ことを特徴とする請求項1に記載の情報処理プログラム。
【請求項6】
ヘルプコンテンツの表示画面において当該ヘルプコンテンツに対する書き込み要求を受け付け、
前記書き込み要求を受け付けた場合、前記ヘルプコンテンツを複製し、
複製された前記ヘルプコンテンツに対して前記書き込み要求を受け付けたユーザへの編集権限と、前記ヘルプコンテンツの運用者への閲覧権限とを付与し、
前記ユーザにより編集された前記ヘルプコンテンツを含む問い合わせデータを前記運用者の宛先へ送信する、
処理をコンピュータが実行することを特徴とする情報処理方法。
【請求項7】
ヘルプコンテンツの表示画面において当該ヘルプコンテンツに対する書き込み要求を受け付け、
前記書き込み要求を受け付けた場合、前記ヘルプコンテンツを複製し、
複製された前記ヘルプコンテンツに対して前記書き込み要求を受け付けたユーザへの編集権限と、前記ヘルプコンテンツの運用者への閲覧権限とを付与し、
前記ユーザにより編集された前記ヘルプコンテンツを含む問い合わせデータを前記運用者の宛先へ送信する、
処理を実行する制御部を含むことを特徴とする情報処理装置。
発明の詳細な説明
【技術分野】
【0001】
本発明の実施形態は、情報処理プログラム、情報処理方法および情報処理装置に関する。
続きを表示(約 1,600 文字)
【背景技術】
【0002】
従来、サービスデスク(ヘルプデスクとも呼ばれる)業務では、よくある質問と、その質問に対する回答とを示したFAQコンテンツ(以下、FAQ)を管理し、インターネット等を介してユーザに向けて提供している。
【0003】
このFAQを確認することで、ユーザは、定型的な質問や簡易な内容であれば直接サービスデスクに問い合わせすることなく自己解決ができる。また、サービスデスクの運用者は、FAQを提供することで、ユーザからの問い合わせ数を削減できるため運用負荷を軽減することが可能である。
【先行技術文献】
【特許文献】
【0004】
特開2003-263439号公報
特開2003-296550号公報
特開2005-316928号公報
【発明の概要】
【発明が解決しようとする課題】
【0005】
しかしながら、上記の従来技術では、FAQの内容が分かりにくく、FAQの記載に対して疑問点が生じたユーザへの対応に、多大な工数を要するという問題がある。
【0006】
例えば、ユーザ側では、FAQの記載への疑問点について運用者側へ問い合わせるために、FAQの記載箇所と、その記載箇所における疑問点等を記述した問い合わせ文書を作成するなどの煩雑な作業を要することとなる。また、運用者側では、ユーザが作成した問い合わせ文書の記述内容から、ユーザが疑問に思った記載箇所と、その記載箇所をどのように改善したら良いかとを特定する作業を要することとなる。
【0007】
1つの側面では、サービスデスク業務の運用負荷を軽減できる情報処理プログラム、情報処理方法および情報処理装置を提供することを目的とする。
【課題を解決するための手段】
【0008】
1つの案では、情報処理プログラムは、受け付ける処理と、複製する処理と、付与する処理と、送信する処理とをコンピュータに実行させる。受け付ける処理は、ヘルプコンテンツの表示画面においてヘルプコンテンツに対する書き込み要求を受け付ける。複製する処理は、書き込み要求を受け付けた場合、ヘルプコンテンツを複製する。付与する処理は、複製されたヘルプコンテンツに対して書き込み要求を受け付けたユーザと、ヘルプコンテンツの運用者とへの閲覧権限および編集権限を付与する。送信する処理は、ユーザにより編集されたヘルプコンテンツを含む問い合わせデータを運用者の宛先へ送信する。
【発明の効果】
【0009】
1実施態様によれば、サービスデスク業務の運用負荷を軽減できる。
【図面の簡単な説明】
【0010】
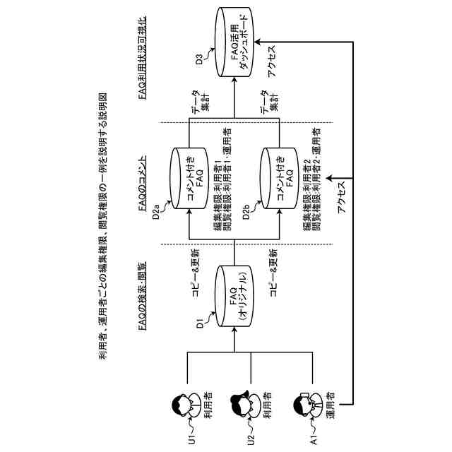
図1は、FAQ検索画面と、FAQ閲覧画面の一例を説明する説明図である。
図2は、FAQ編集画面と、問い合わせ起票画面の一例を説明する説明図である。
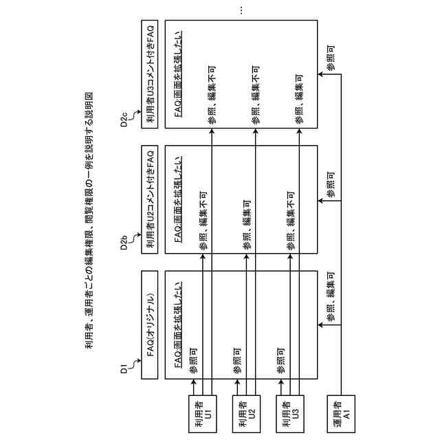
図3は、利用者、運用者ごとの編集権限、閲覧権限の一例を説明する説明図である。
図4は、利用者、運用者ごとの編集権限、閲覧権限の一例を説明する説明図である。
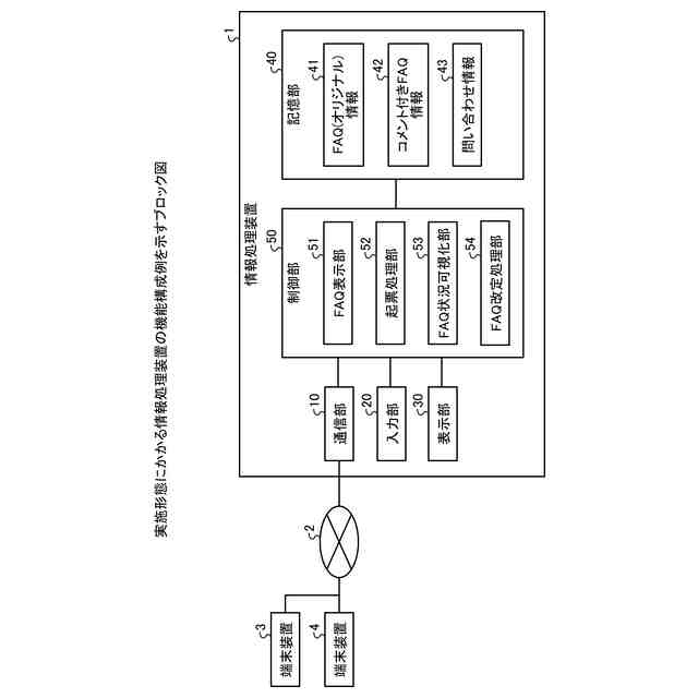
図5は、実施形態にかかる情報処理装置の機能構成例を示すブロック図である。
図6は、実施形態にかかる情報処理装置の動作例を示すフローチャートである。
図7は、実施形態にかかる情報処理装置の動作例を示すフローチャートである。
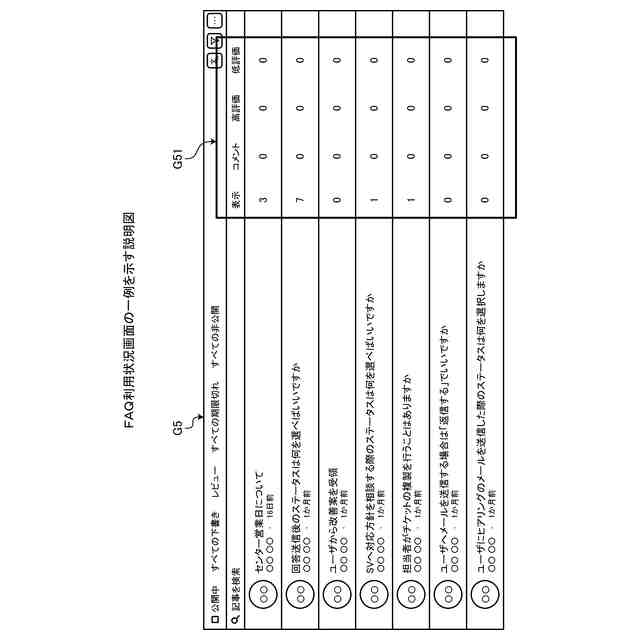
図8は、FAQ利用状況画面の一例を示す説明図である。
図9は、FAQ利用状況画面の一例を示す説明図である。
図10は、コンピュータ構成の一例を説明する説明図である。
【発明を実施するための形態】
(【0011】以降は省略されています)
この特許をJ-PlatPat(特許庁公式サイト)で参照する
関連特許
富士通株式会社
半導体装置
1か月前
富士通株式会社
画像処理モデル
26日前
富士通株式会社
メッシュ微細化
1か月前
富士通株式会社
半導体デバイス
1か月前
富士通株式会社
演算器及び演算方法
1か月前
富士通株式会社
ポイントクラウド分類
1か月前
富士通株式会社
OLT及びPONシステム
10日前
富士通株式会社
電子機器筐体及び電子機器
1か月前
富士通株式会社
アレイアンテナモジュール
1か月前
富士通株式会社
光送信器及び光トランシーバ
1か月前
富士通株式会社
基板及びこれを備えた電子装置
1か月前
富士通株式会社
演算処理装置及び情報処理装置
20日前
富士通株式会社
通信制御装置及び移動中継装置
1か月前
富士通株式会社
プログラム及びデータ処理装置
4日前
富士通株式会社
テキスト案内される画像エディタ
1か月前
富士通株式会社
波長変換装置および波長変換方法
23日前
富士通株式会社
メモリ管理装置及びメモリ管理方法
1か月前
富士通株式会社
ラックマウント装置及びラック装置
23日前
富士通株式会社
受光デバイス及び受光デバイスの製造方法
9日前
富士通株式会社
通知プログラム、通知方法および通知装置
9日前
富士通株式会社
コンパイルプログラムおよびコンパイル方法
4日前
富士通株式会社
プログラム、情報処理方法および情報処理装置
1か月前
富士通株式会社
検出プログラム、検出方法および情報処理装置
23日前
富士通株式会社
生成プログラム、生成方法および情報処理装置
1か月前
富士通株式会社
探索プログラム、探索方法、および情報処理装置
1か月前
富士通株式会社
プログラム、データ処理装置及びデータ処理方法
1か月前
富士通株式会社
半導体装置、半導体装置の製造方法及び電子装置
2日前
富士通株式会社
ターゲット追跡のための方法、装置及び記憶媒体
20日前
富士通株式会社
キャッシュ装置およびキャッシュ装置の制御方法
1か月前
富士通株式会社
出張情報受付方法および出張情報受付プログラム
1か月前
富士通株式会社
半導体装置、半導体装置の製造方法及び電子装置
18日前
富士通株式会社
プログラム、データ処理方法およびデータ処理装置
1か月前
富士通株式会社
並列コンピューティング・カテゴリー分けプロセス
1か月前
富士通株式会社
データ処理装置、データ処理方法およびプログラム
17日前
富士通株式会社
光ネットワーク管理装置及び光ネットワーク管理方法
1か月前
富士通株式会社
情報出力プログラム、情報出力方法及び情報処理装置
1か月前
続きを見る
他の特許を見る