TOP
|
特許
|
意匠
|
商標
特許ウォッチ
Twitter
他の特許を見る
10個以上の画像は省略されています。
公開番号
2025149665
公報種別
公開特許公報(A)
公開日
2025-10-08
出願番号
2024050438
出願日
2024-03-26
発明の名称
演算器及び演算方法
出願人
富士通株式会社
代理人
弁理士法人酒井国際特許事務所
主分類
G06F
7/50 20060101AFI20251001BHJP(計算;計数)
要約
【課題】回路面積の拡大を抑えつつ演算機能を強化する演算器及び演算方法を提供する。
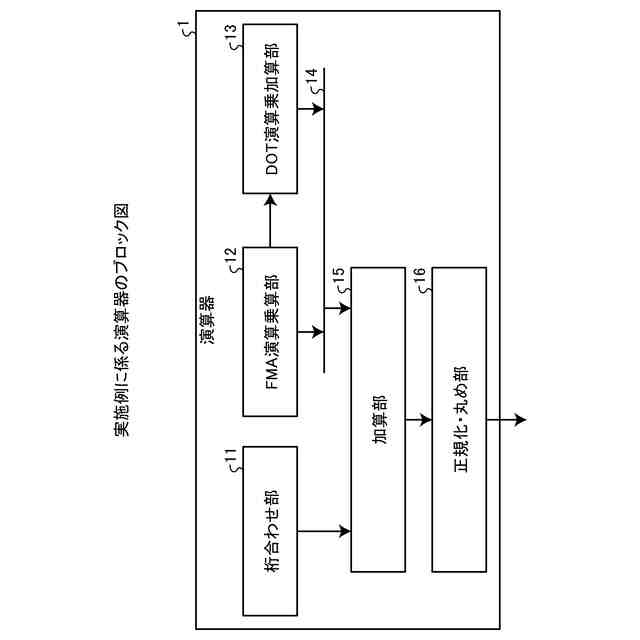
【解決手段】演算器1は、2つの要素の積を複数加算した加算結果に加数を加算するDOT演算を実行する。桁合わせ部11は、要素及び加数を基に、加算結果と加数の演算が実質減算又は実質加算かを第1判定し、かつ、積の小計に対して加数を桁合わせする。DOT演算乗加算部13は、要素を基に、出力する値が負になる可能性が有るか否かを第2判定し、かつ、予め決められたバイアス値及び要素を基に、負又は正の値となる加算結果に基づく積の小計を算出する。加算部15は、第1判定の判定結果、第2判定の判定結果を基に、DOT演算乗加算部により算出された前記積の小計と加数との加算を実行して演算結果を算出する。
【選択図】図1
特許請求の範囲
【請求項1】
2つの要素の積を複数加算した加算結果に加数を加算するDOT演算を実行する演算器であって、
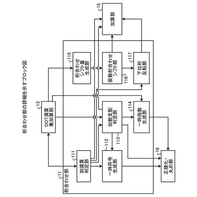
前記要素及び前記加数を基に、前記加算結果と前記加数の演算が実質減算又は実質加算かを第1判定し、かつ、前記積の小計に対して前記加数を桁合わせする桁合わせ部と、
前記要素を基に、出力する値が負になる可能性が有るか否かを第2判定し、かつ、予め決められたバイアス値及び前記要素を基に、負又は正の値となる前記加算結果に基づく積の小計を算出するDOT演算乗加算部と、
前記第1判定の判定結果、前記第2判定の判定結果を基に、DOT演算乗加算部により算出された前記積の小計と前記加数との加算を実行して演算結果を算出する加算部と
を備えたことを特徴とする演算器。
続きを表示(約 1,300 文字)
【請求項2】
前記DOT演算乗加算部は、前記加算結果に前記加数を加算した結果が負数となり得る場合に、前記積の小計と前記加数とを加算した値が正となる値を前記バイアス値として、前記バイアス値を基に前記加算結果を修正して前記積の小計とすることを特徴とする請求項1に記載の演算器。
【請求項3】
前記DOT演算乗加算部は、
前記第1判定の結果が実質加算であり、かつ、前記第2判定の結果が出力する値が負になる可能性がない場合以外は、前記バイアス値を前記加算結果に加算して前記積の小計を算出し、
前記第1判定の結果が実質加算であり、かつ、前記第2判定の結果が出力する値が負になる可能性がない場合は、前記バイアス値から1を減算した値を前記加算結果に加算して前記積の小計を算出し、
前記第1判定の結果が実質加算であり、かつ、前記第2判定の結果が出力する値が負になる可能性がない場合、前記加算部に加算の実行を指示し、
前記第1判定の結果が実質減算、又は、前記第2判定の結果が出力する値が負になる可能性がある場合、前記加算部に減算の実行を指示する
ことを特徴とする請求項1に記載の演算器。
【請求項4】
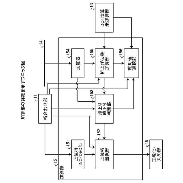
前記加算部は、前記加数のうち前記積の小計の最上位桁より所定桁以上の上位桁の値でインクリメント又はデクリメントが発生するか否かを、前記加数のうち前記上位桁より小さい下位桁の最上位の数により判定することを特徴とする請求項1に記載の演算器。
【請求項5】
前記加算部により算出された前記演算結果のうち、前記積の小計の最上位桁より所定桁以上の上位桁において桁上り又は桁落ちが発生するか否かを判定し、前記演算結果を正規化し、丸め及び例外処理を行って最終的なDOT演算結果を算出する正規化・丸め部をさらに備えたことを特徴とする請求項1に記載の演算器。
【請求項6】
2つの数を乗算して加数を加算するFMA演算のうち、前記2つの数の積算を実行し、積算の結果を積バスに出力するFMA演算乗算部をさらに備え、
前記DOT演算乗加算部は、前記積の小計を前記積バスへ出力し、
前記加算部は、前記積バスから出力された前記積の結果又は前記積の小計を取得して、前記積の結果と前記加数との加算又は前記積の小計と前記加数との加算を実行して演算結果を算出する
ことを特徴とする請求項1に記載の演算器。
【請求項7】
2つの要素の積を複数加算した加算結果に加数を加算するDOT演算を実行する演算器が、
前記要素及び前記加数を基に、前記加算結果と前記加数の演算が実質減算又は実質加算かを第1判定し、
前記積の小計に対して前記加数を桁合わせし、
前記要素を基に、出力する値が負になる可能性が有るか否かを第2判定し、
予め決められたバイアス値及び前記要素を基に、負又は正の値となる前記加算結果に基づく積の小計を算出し、
前記第1判定の判定結果、前記第2判定の判定結果を基に、前記積の小計と前記加数との加算を実行して演算結果を算出する
処理を実行する演算方法。
発明の詳細な説明
【技術分野】
【0001】
本発明は、演算器及び演算方法に関する。
続きを表示(約 1,900 文字)
【背景技術】
【0002】
近年のAI(Artificial Intelligence)技術の著しい進歩及び普及により、プロセッサに関して、AI処理に適する演算を高速かつ効率的に処理する期待がますます高まっている。そのような演算のひとつが、浮動小数点のDOT演算である。DOT演算は内積演算の一種で、その特徴は、2つのベクトルにおける要素毎の乗算をおのおの行い、それらの結果を全て累積することにある。
【0003】
ここで、浮動小数点演算において、従来から最も主要な演算のひとつが、融合乗加算(Fused Multiply Add:FMA演算)と呼ばれる、1つの浮動小数点乗算及びその結果を用いた1つの浮動小数点加算をまとめて行う演算である。従来のプロセッサは、融合乗加算器(Fused Multiply Adder:FMA)と呼ばれる、一度の演算投入でFMA演算を処理する演算器を多数搭載していた。
【0004】
浮動小数点のDOT演算においても、そのような演算器を一要素分ずつベクトルの要素の回数繰り返して使用し順次累積していくことで、演算結果を取得することができる。また、AIに適したプロセッサの演算器では、一度の命令実行で複数の浮動小数点乗算を同時に行い、それらの結果を一度に累積することでDOT演算を効率化することが検討されている。
【0005】
例えば、DOT演算を用いる技術として、ダイナミックレンジをシフトさせるバイアス値を含めてFP(Floating Point)32のデータをFP8に量子化し、4要素のDOT積を1命令で実行するDOT4演算でSIMD積和演算を行う技術が提案されている。
【先行技術文献】
【特許文献】
【0006】
特開2023-000142号公報
【発明の概要】
【発明が解決しようとする課題】
【0007】
しかしながら、1回の融合乗加算に特化した従来のFMA演算器は、積の符号に対して、積の結果に加えられる加数が同符号なら実質加算として処理を行い、異符号なら実質減算として処理を行う。浮動小数点における実質加算と実質減算は、処理の性質が大きく異なる。そのため、積の符号を早期に見定め、後続の内部処理が実質加算又は実質減算のいずれになるのかを、演算の早期に確定させておくことが望ましい。これに対して、DOT演算の場合、最終的に累積される値は正負いずれもありうる複数の積の和となり、累積する値の符号が、即座には確定できない。すなわち、実質加算を行うべきか実質減算を行うべきかが、早期に定まらないということになる。そのため、従来のFMA演算器では、DOT演算における一括加算を処理することが難しく、DOT演算も実行できるように演算機能を強化することは困難であった。
【0008】
プロセッサでは、一般的にDOT演算だけあるいはFMA演算だけ処理ができれば十分であるということはなく、両方の演算を実行可能であることが求められるが、上述したように、従来のFMA演算器ではDOT演算の一括加算が困難である。DOT演算及びFMA演算の両方を高速に処理するための簡単な方法として、それぞれの演算器を独立させて搭載させることが考えられるが、回路面積が大きくなってしまい実用的ではない。
【0009】
開示の技術は、上記に鑑みてなされたものであって、回路面積の拡大を抑えつつ演算機能を強化する演算器及び演算方法を提供することを目的とする。
【課題を解決するための手段】
【0010】
本願の開示する演算器及び演算方法の一つの態様において、演算器は、2つの要素の積を複数加算した加算結果に加数を加算するDOT演算を実行する。桁合わせ部は、前記要素及び前記加数を基に、前記加算結果と前記加数の演算が実質減算又は実質加算かを第1判定し、かつ、前記積の小計に対して前記加数を桁合わせする。DOT演算乗加算部は、前記要素を基に、出力する値が負になる可能性が有るか否かを第2判定し、かつ、予め決められたバイアス値及び前記要素を基に、負又は正の値となる前記加算結果に基づく積の小計を算出する。加算部は、前記第1判定の判定結果、前記第2判定の判定結果を基に、DOT演算乗加算部により算出された前記積の小計と前記加数との加算を実行して演算結果を算出する。
【発明の効果】
(【0011】以降は省略されています)
この特許をJ-PlatPat(特許庁公式サイト)で参照する
関連特許
富士通株式会社
半導体装置
11日前
富士通株式会社
行列演算回路
21日前
富士通株式会社
周波数変換器
24日前
富士通株式会社
半導体デバイス
11日前
富士通株式会社
メッシュ微細化
12日前
富士通株式会社
演算器及び演算方法
12日前
富士通株式会社
ポイントクラウド分類
6日前
富士通株式会社
冷却装置及び電子機器
21日前
富士通株式会社
電子機器筐体及び電子機器
10日前
富士通株式会社
アレイアンテナモジュール
13日前
富士通株式会社
光送信器及び光トランシーバ
10日前
富士通株式会社
通信制御装置及び移動中継装置
18日前
富士通株式会社
基板及びこれを備えた電子装置
13日前
富士通株式会社
演算処理装置及び演算処理方法
1か月前
富士通株式会社
テキスト案内される画像エディタ
6日前
富士通株式会社
メモリ管理装置及びメモリ管理方法
5日前
富士通株式会社
動的多次元メディアコンテンツ投影
1か月前
富士通株式会社
異常予測方法および異常予測プログラム
1か月前
富士通株式会社
生成人工知能を使用したデータセット符号化
1か月前
富士通株式会社
管理装置、管理方法、および管理プログラム
19日前
富士通株式会社
演算システムおよび演算システムの制御方法
1か月前
富士通株式会社
交通シミュレーションのための方法および装置
1か月前
富士通株式会社
予測プログラム、予測方法および情報処理装置
1か月前
富士通株式会社
シストリック型の演算アレイ装置及び制御方法
1か月前
富士通株式会社
プログラム、情報処理方法および情報処理装置
17日前
富士通株式会社
生成プログラム、生成方法および情報処理装置
4日前
富士通株式会社
出張情報受付方法および出張情報受付プログラム
10日前
富士通株式会社
プログラム、データ処理装置及びデータ処理方法
11日前
富士通株式会社
キャッシュ装置およびキャッシュ装置の制御方法
11日前
富士通株式会社
演算装置、情報処理装置及び演算装置の制御方法
1か月前
富士通株式会社
制御プログラム、制御方法、および情報処理装置
19日前
富士通株式会社
探索プログラム、探索方法、および情報処理装置
10日前
富士通株式会社
並列コンピューティング・カテゴリー分けプロセス
6日前
富士通株式会社
プログラム、データ処理方法およびデータ処理装置
4日前
富士通株式会社
凝縮グラフ分布(CGD)に基づいたグラフ連続学習
6日前
富士通株式会社
情報出力プログラム、情報出力方法及び情報処理装置
10日前
続きを見る
他の特許を見る