TOP
|
特許
|
意匠
|
商標
特許ウォッチ
Twitter
他の特許を見る
公開番号
2025162170
公報種別
公開特許公報(A)
公開日
2025-10-27
出願番号
2024065298
出願日
2024-04-15
発明の名称
RFタグシート
出願人
個人
代理人
主分類
G06K
19/077 20060101AFI20251020BHJP(計算;計数)
要約
【課題】RFタグに電波を放射するアンテナの向きとRFタグのアンテナの向きとがどのような関係になっても情報を送信する。
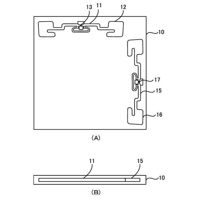
【解決手段】RFタグシート10は、アンテナ12と、ICチップ11と、アンテナ16と、ICチップ17とを備える。アンテナ12の長手方向とアンテナ16の長手方向とは直交している。アンテナ12は、電波を受信すると応答電波を送信する。ICチップ11は、アンテナ12が受信した電波によって生じる電力によって動作する。アンテナ16も、電波を受信すると応答電波を送信する。ICチップ17は、アンテナ16が受信した電波によって生じる電力によって動作する。
【選択図】図1
特許請求の範囲
【請求項1】
電波を受信すると応答電波を送信する第1のアンテナと、
長手方向が前記第1のアンテナの長手方向と直交しており、電波を受信すると応答電波を送信する第2のアンテナと、
前記第1のアンテナおよび/または前記第2のアンテナが受信した電波によって生じる電力によって動作するICチップと、
を備えるRFタグシート。
続きを表示(約 260 文字)
【請求項2】
前記第1のアンテナと前記第2のアンテナとが、重ならないようにL字状に配置されている請求項1に記載のRFタグシート。
【請求項3】
前記ICチップが、前記第1のアンテナが電波を受信すると動作する第1のICチップと、前記第2のアンテナが電波を受信すると動作する第2のICチップから成り、
前記第1のアンテナと前記第1のICチップとを含む第1のRFタグと、前記第2のアンテナと前記第2のICチップとを含む第2のRFタグとを備える、
請求項1または2に記載のRFタグシート。
発明の詳細な説明
【技術分野】
【0001】
本発明は、パッシブ型のRF(Radio Frequency)タグを含むRFタグシートに関する。
続きを表示(約 1,700 文字)
【背景技術】
【0002】
特許文献1には、収容部の上部に開口を有し、開口が開いた状態で収容部の内部に置かれたパッシブ型のRFタグから情報を読み取るRFタグ読取装置が記載されている。収容部の側部は、正面部と左側面部と背面部と右側面部とで構成されている。左側面部と背面部と右側面部は、それぞれ電波吸収層を含んでおり、正面部よりも高い。収容部の内部は、収容制限板によって正面部寄りの減衰空間と背面部寄りの収容空間とに分けられている。収容空間にはRFタグが取り付けられた物品を収容することができる。減衰空間には、物品を収容することはできない。底面部の上面には底面アンテナが設置されている。底面アンテナは、RFタグに電波を放射するアンテナである。底面アンテナは、収容空間に向けて強度が高い電波を放射し、かつその電波よりも強度が低い電波を減衰空間に向けて放射する。底面アンテナから放射される電波を受信すると、RFタグは電力を生じる。
【0003】
アパレルの棚卸しや物流の入出荷検品、製造業の固定資産管理等に使用されるRFタグは、一般に周波数860~960MHzのUHF(Ultra High Frequency)帯の電波を用いる。このような比較的低い周波数では、底面アンテナから放射された電波は開口の周縁で回折して読取装置の周囲に回り込む。しかし、特許文献1に記載のRFタグ読取装置では、左側面部の上端と背面部の上端と右側面部の上端は高いため、底面アンテナから放射された電波はこれらの上端に到達したときには減衰している。正面部の上端は低いが、底面アンテから放射された電波は減衰空間を伝搬して正面部に到達したときには減衰している。このため、特許文献1に記載のRFタグ読取装置は、収容空間に置かれたRFタグの情報のみを読み取ることができる。
【0004】
このRFタグ読取装置は、正面部の上端が低いため、物品や買物カゴを正面側から出し入れすると、それらを収容部に容易に出し入れすることができる。
【先行技術文献】
【特許文献】
【0005】
特許7429399号公報
【発明の概要】
【発明が解決しようとする課題】
【0006】
底面アンテナが直線偏波された電波を放射する場合、RFタグのアンテナの長手方向が電波の偏波の方向に対して垂直に近いとき、特許文献1に記載のRFタグ読取装置はRFタグから情報を読み取ることができない。
【0007】
これに対し、底面アンテナが円偏波された電波を放射するか、または直線偏波を用いる場合には水平偏波と垂直偏波を高速に切り替えながら電波を放射する場合、RFタグのアンテナの長手方向が底面アンテナの面に対して垂直に近いときを除き、特許文献1に記載のRFタグ読取装置は収容空間の中のRFタグから情報を読み取ることができる。しかし、この場合でも、RFタグのアンテナの長手方向が底面アンテナの面に対して垂直に近いとき、このRFタグ読取装置は収容空間の中のRFタグから情報を読み取ることができない
【0008】
本発明の目的は、RFタグに電波を放射するアンテナの向きとRFタグのアンテナの向きとがどのような関係になっても情報を送信することができるRFタグシートを提供することである。
【課題を解決するための手段】
【0009】
上記目的を達成するために、本発明のRFタグシートは、
電波を受信すると応答電波を送信する第1のアンテナと、
長手方向が前記第1のアンテナの長手方向と直交しており、電波を受信すると応答電波を送信する第2のアンテナと、
前記第1のアンテナおよび/または前記第2のアンテナが受信した電波によって生じる電力によって動作するICチップと、
を備える。
【0010】
好ましくは、本発明のRFタグシートは、
前記第1のアンテナと前記第2のアンテナとが、重ならないようにL字状に配置されてい。
(【0011】以降は省略されています)
この特許をJ-PlatPat(特許庁公式サイト)で参照する
関連特許
個人
詐欺保険
13日前
個人
縁伊達ポイン
13日前
個人
RFタグシート
今日
個人
QRコードの彩色
17日前
個人
地球保全システム
26日前
個人
為替ポイント伊達夢貯
1か月前
個人
冷凍食品輸出支援構造
1か月前
個人
農作物用途分配システム
12日前
個人
残土処理システム
19日前
個人
表変換編集支援システム
1か月前
個人
知財出願支援AIシステム
1か月前
個人
知的財産出願支援システム
20日前
個人
タッチパネル操作指代替具
6日前
個人
携帯端末障害問合せシステム
5日前
個人
行動時間管理システム
1か月前
個人
パスワード管理支援システム
1か月前
個人
AIによる情報の売買の仲介
1か月前
個人
スケジュール調整プログラム
5日前
株式会社キーエンス
受発注システム
25日前
個人
AIキャラクター制御システム
1か月前
個人
海外支援型農作物活用システム
1か月前
個人
食品レシピ生成システム
25日前
個人
パスポートレス入出国システム
1か月前
個人
システム及びプログラム
1か月前
株式会社キーエンス
受発注システム
25日前
日本精機株式会社
施工管理システム
1か月前
株式会社アジラ
進入判定装置
1か月前
株式会社キーエンス
受発注システム
25日前
個人
音声・通知・再配達UX制御構造
20日前
エッグス株式会社
情報処理装置
6日前
個人
社会還元・施設向け供給支援構造
1か月前
個人
帳票自動生成型SaaSシステム
20日前
個人
音声対話型帳票生成支援システム
1か月前
個人
食事受注会計処理システム
2か月前
大同特殊鋼株式会社
疵判定方法
1か月前
個人
冷凍加工連携型農場運用システム
1か月前
続きを見る
他の特許を見る