TOP
|
特許
|
意匠
|
商標
特許ウォッチ
Twitter
他の特許を見る
10個以上の画像は省略されています。
公開番号
2025171613
公報種別
公開特許公報(A)
公開日
2025-11-20
出願番号
2024077129
出願日
2024-05-10
発明の名称
情報処理装置
出願人
キヤノン株式会社
代理人
個人
主分類
G06F
3/04815 20220101AFI20251113BHJP(計算;計数)
要約
【課題】 仮想オブジェクトの操作に関して、手指の認識処理を簡素化しつつ、直感的な操作ができる情報処理装置を提供する。
【解決手段】 仮想環境とインターフェースするための情報処理装置において、カメラから手指の形状の情報を取得する画像取得手段と、画像取得手段によって取得した画像から手関節点を検出する手関節検出手段と、手関節点から手の平面位置を算出する平面算出手段と、手の平面と仮想オブジェクトの接触を判定する接触判定手段と、を備え、手の平面と仮想オブジェクトが接触した場合、仮想オブジェクトを前記算出した手の平面位置に配置することを特徴とする構成とした。
【選択図】 図1
特許請求の範囲
【請求項1】
仮想環境とインターフェースするための情報処理装置において、
カメラから手指の形状の情報を取得する画像取得手段と、
前記画像取得手段によって取得した画像から手関節点を検出する手関節検出手段と、
前記手関節点から手の平面位置を算出する平面算出手段と、
前記手の平面と仮想オブジェクトの接触を判定する接触判定手段と、を備え、
前記手の平面と仮想オブジェクトが接触した場合、仮想オブジェクトを前記算出した手の平面位置に配置することを特徴とする情報処理装置。
続きを表示(約 300 文字)
【請求項2】
前記接触判定手段は、手の一部との接触を判定する手段をさらに備え、前記手の一部と仮想オブジェクトが接触した場合、仮想オブジェクトを前記算出した手の平面位置に移動させることを特徴とする請求項1に記載の情報処理装置。
【請求項3】
前記仮想オブジェクトを手の平面位置に配置する際に、仮想オブジェクトの初期配置位置を設定できることを特徴とする請求項1に記載の情報処理装置。
【請求項4】
前記仮想オブジェクトを手の平面位置に配置した際に、前記検出した手関節点の向きに連動して仮想オブジェクトの配置位置を変更することを特徴とする請求項1に記載の情報処理装置。
発明の詳細な説明
【技術分野】
【0001】
本発明は、ヘッドマウントディスプレイを利用した情報処理装置に関し、特に仮想オブジェクトの操作性を向上させる情報処理装置に関するものである。
続きを表示(約 1,600 文字)
【背景技術】
【0002】
近年、仮想現実(Virtual Reality:VR)技術や拡張現実(Augmented Reality:AR)技術などが、ゲームや各種シミュレーションに利用されている。仮想現実は、コンピュータの中に作られた仮想的な世界をあたかも現実のように体験させる技術である。拡張現実は、現実世界にデジタル情報を付与してCG(Computer Graphics)などで作った仮想空間(仮想オブジェクト)を現実世界に反映し拡張していく技術である。いずれの空間内における仮想オブジェクトの操作は、コントローラなどの特別な入力装置を介することなく、ユーザーの手を介して現実世界で行うような所作で行えることが望ましい。
【0003】
特許文献1では、手指の形状検出と3次元空間上の位置・姿勢情報の算出を行い、さらに手指の動作の認識することで、仮想オブジェクトを操作する手指動作検出装置が開示されている。
【先行技術文献】
【特許文献】
【0004】
特開2015-114762号公報
【発明の概要】
【発明が解決しようとする課題】
【0005】
しかしながら、上述の特許文献に開示された従来技術では、手指の動作認識の精度に問題が生じると操作性が低下してしまうことがある。また、複数の処理を同時に行う必要があり、装置の性能によっては処理が遅延して、ユーザーにとって違和感のある操作になることがある。
【0006】
そこで、本発明の目的は、仮想オブジェクトの操作に関して、手指の認識処理を簡素化しつつ、直感的な操作ができる情報処理装置を提供することである。
【課題を解決するための手段】
【0007】
上記目的を達成するために、本発明は、仮想環境とインターフェースするための情報処理装置において、カメラから手指の形状の情報を取得する画像取得手段と、前記画像取得手段によって取得した画像から手関節点を検出する手関節検出手段と、前記手関節点から手の平面位置を算出する平面算出手段と、前記手の平面と仮想オブジェクトの接触を判定する接触判定手段と、を備え、前記手の平面と仮想オブジェクトが接触した場合、仮想オブジェクトを前記算出した手の平面位置に配置することを特徴とする。
【発明の効果】
【0008】
本発明によれば、仮想オブジェクトの操作に関して、手指の認識処理を簡素化しつつ、直感的な操作ができる情報処理装置を提供することができる。
【図面の簡単な説明】
【0009】
本発明の第1実施形態におけるシステムの機能構成例を示すブロック図である。
本発明の情報処理装置のハードウェア構成の例を示す図である。
本発明の第1実施形態における平面検出処理および仮想オブジェクト配置の処理例を示す図である。
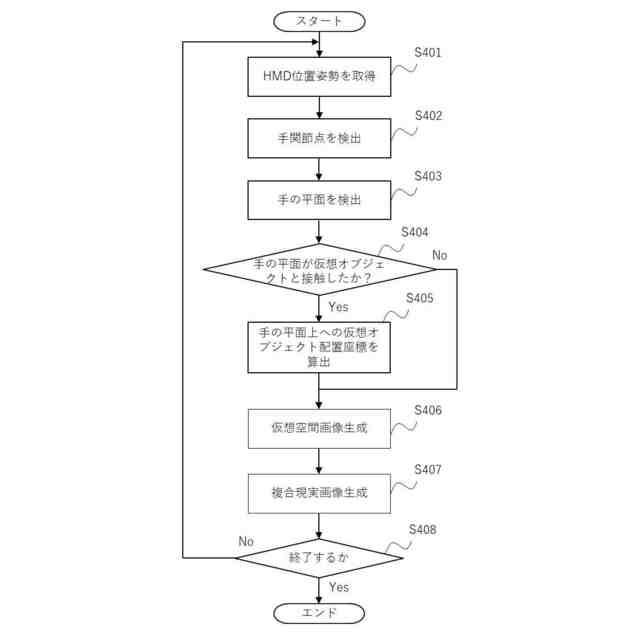
本発明の第1実施形態における仮想オブジェクトを把持する処理のフローチャートである。
本発明の第2実施形態におけるユーザーが仮想オブジェクトを把持する一連の動作例を示す図である。
本発明の第3実施形態における仮想オブジェクトの配置処理例を示す図である。
本発明の第3実施形態における仮想オブジェクトを配置する処理のフローチャートである。
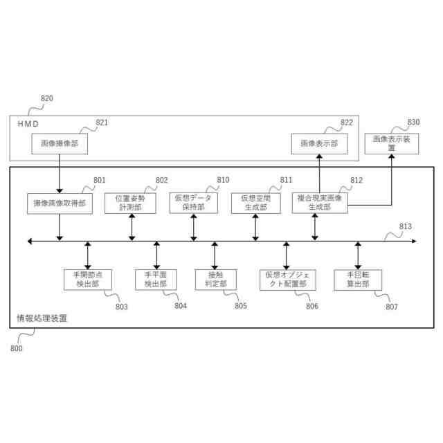
本発明の第4実施形態におけるシステムの機能構成例を示すブロック図である。
本発明の第4実施形態における仮想オブジェクトの配置処理例を示す図である。
本発明の第4実施形態における仮想オブジェクトを配置する処理のフローチャートである。
【発明を実施するための形態】
【0010】
以下に、本発明の好ましい実施の形態を、添付の図面に基づいて詳細に説明する。
(【0011】以降は省略されています)
この特許をJ-PlatPat(特許庁公式サイト)で参照する
関連特許
キヤノン株式会社
定着装置
1日前
キヤノン株式会社
情報処理装置
1日前
キヤノン株式会社
画像認識装置
1日前
キヤノン株式会社
画像形成装置
1日前
キヤノン株式会社
インク収容容器
1日前
キヤノン株式会社
光学系および撮像装置
1日前
キヤノン株式会社
表示装置および表示制御方法
1日前
キヤノン株式会社
光学設計プログラムおよび光学設計方法
1日前
キヤノン株式会社
光学素子、光走査装置、及び画像形成装置
1日前
キヤノン株式会社
画像形成装置及び画像形成装置の調整方法
1日前
キヤノン株式会社
光学系、撮像装置、撮像システム、及び移動装置
1日前
キヤノン株式会社
ビデオシースルー映像処理装置、処理方法、プログラム
1日前
キヤノン株式会社
画像形成装置
1日前
キヤノン株式会社
画像形成装置
1日前
キヤノン株式会社
情報処理装置、情報処理方法、画像形成装置、およびプログラム
1日前
キヤノン株式会社
画像処理方法、画像処理装置、画像処理システム、及びプログラム
1日前
キヤノン株式会社
情報処理装置とその制御方法、及びプログラム
1日前
キヤノン株式会社
検出方法、露光方法、物品製造方法、形成方法、アライメントマーク、フォトマスクおよび基板
1日前
キヤノン株式会社
遮熱膜を有する物品、光学機器、塗料、および物品の製造方法
1日前
個人
詐欺保険
1か月前
個人
縁伊達ポイン
1か月前
個人
5掛けポイント
14日前
個人
RFタグシート
25日前
個人
職業自動販売機
7日前
個人
ペルソナ認証方式
22日前
個人
QRコードの彩色
1か月前
個人
情報処理装置
17日前
個人
自動調理装置
24日前
個人
農作物用途分配システム
1か月前
個人
インターネットの利用構造
21日前
個人
サービス情報提供システム
9日前
個人
タッチパネル操作指代替具
1か月前
個人
スケジュール調整プログラム
1か月前
個人
携帯端末障害問合せシステム
1か月前
個人
エリアガイドナビAIシステム
22日前
トヨタ自動車株式会社
通知装置
28日前
続きを見る
他の特許を見る