TOP
|
特許
|
意匠
|
商標
特許ウォッチ
Twitter
他の特許を見る
公開番号
2025160723
公報種別
公開特許公報(A)
公開日
2025-10-23
出願番号
2024063479
出願日
2024-04-10
発明の名称
車両
出願人
トヨタ自動車株式会社
代理人
個人
,
個人
主分類
G06F
8/65 20180101AFI20251016BHJP(計算;計数)
要約
【課題】ソフトウェアの更新作業に異常が生じることを抑制する。
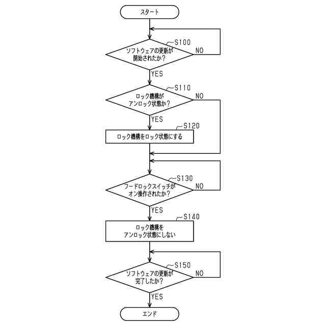
【解決手段】無線通信によって受信した更新データを用いて車載機器に用いられるソフトウェアの更新を行う車両であって、電源装置と、前記電源装置を収容する収容部と、制御装置と、を備え、前記収容部は、開口部と、前記開口部を開閉する開閉体と、前記開閉体が前記開口部を閉鎖する状態に前記開閉体をロックするロック機構と、を備え、前記制御装置は、前記電源装置からの電力の供給を受けて前記ソフトウェアを更新する処理と、前記開閉体をロックするロック状態と、前記開閉体をロックしていないアンロック状態との間で前記ロック機構を切り替える処理と、を実行可能であり、前記ソフトウェアの更新中は、前記ロック状態から前記アンロック状態への切り替えを実行しない。
【選択図】図3
特許請求の範囲
【請求項1】
無線通信によって受信した更新データを用いて車載機器に用いられるソフトウェアの更新を行う車両であって、
電源装置と、
前記電源装置を収容する収容部と、
制御装置と、を備え、
前記収容部は、
開口部と、
前記開口部を開閉する開閉体と、
前記開口部を閉鎖する状態に前記開閉体をロックするロック機構と、を備え、
前記制御装置は、
前記電源装置からの電力の供給を受けて前記ソフトウェアを更新する処理と、
前記開閉体をロックするロック状態と、前記開閉体をロックしていないアンロック状態との間で前記ロック機構を切り替える処理と、を実行可能であり、前記ソフトウェアの更新中は、前記ロック状態から前記アンロック状態への切り替えを実行しない、車両。
続きを表示(約 310 文字)
【請求項2】
前記制御装置は、
前記ソフトウェアの更新の開始時に、前記ロック機構が前記アンロック状態である場合には、前記ロック機構を、前記アンロック状態から前記ロック状態に切り替える、請求項1に記載の車両。
【請求項3】
前記制御装置は、
前記ロック状態から前記アンロック状態への切り替えをユーザの操作に応じて生成される信号に基づいて実行可能であり、前記ソフトウェアの更新中は、前記信号を無効化する、請求項1に記載の車両。
【請求項4】
前記収容部は、
前記車両のエンジンルーム、トランクルーム、および車室のいずれかである、請求項1に記載の車両。
発明の詳細な説明
【技術分野】
【0001】
この発明は、車両に関する。
続きを表示(約 1,700 文字)
【背景技術】
【0002】
特許文献1は、無線通信によって受信した更新データを用いて車載機器のソフトウェアを更新する更新システムを開示する。
【先行技術文献】
【特許文献】
【0003】
特開2017-157004号公報
【発明の概要】
【発明が解決しようとする課題】
【0004】
更新システムは、バッテリから電力の供給を受けてソフトウェアの更新を実行する。このため、ソフトウェアの更新中に、バッテリの端子からケーブルがユーザにより取り外されることにより、更新システムへの電力供給が停止された場合には、ソフトウェアの更新作業に異常が生じるおそれがある。
【課題を解決するための手段】
【0005】
上記課題を解決するための車両は、無線通信によって受信した更新データを用いて車載機器に用いられるソフトウェアの更新を行う車両であって、電源装置と、前記電源装置を収容する収容部と、制御装置と、を備え、前記収容部は、開口部と、前記開口部を開閉する開閉体と、前記開閉体が前記開口部を閉鎖する状態に前記開閉体をロックするロック機構と、を備え、前記制御装置は、前記電源装置からの電力の供給を受けて前記ソフトウェアを更新する処理と、前記開閉体をロックするロック状態と、前記開閉体をロックしていないアンロック状態との間で前記ロック機構を切り替える処理と、を実行可能であり、前記ソフトウェアの更新中は、前記ロック状態から前記アンロック状態への切り替えを実行しないことをその要旨とする。
【発明の効果】
【0006】
上記構成によれば、ソフトウェアの更新中は、開閉体のロックが解除されない。このため、ユーザは、電源装置の電力ケーブルを取り外すことができない。したがって、制御装置への電力の供給が停止されることに起因するソフトウェアの更新作業の異常が生じにくい。
【図面の簡単な説明】
【0007】
図1は、一実施形態の車両の構成を示す模式図である。
図2は、図1の車両の制御装置の構成を示す模式図である。
図3は、図1の車両の制御装置が実行する処理の流れを示すフローチャートである。
【発明を実施するための形態】
【0008】
以下、車両の一実施形態について、図1~図3を参照して説明する。
<車両10の構成>
図1に示すように、車両10は、マスタECU20と、ECU30とを備える。「ECU」は、電子制御ユニット(Electronic Control Unit)の略称である。マスタECU20は、車載機器に用いられるソフトウェアの更新を管理する。ECU30は、車両10の車載機器の一例である。以下では、車載機器に用いられるソフトウェアの更新を管理する装置のことを更新装置ということがある。マスタECU20は、後述する制御装置80の一部を構成する。車載機器は、更新可能なソフトウェアを用いて作動する機器であり、例えば車両の駆動力を制御する装置、車両の制動力を制御する装置、車載ナビゲーション装置等である。
【0009】
マスタECU20は、記憶装置21と、RAM22と、処理装置23とを備える。記憶装置21は、ソフトウェアの更新を管理するためのプログラムおよび車載機器のソフトウェアを更新するための更新データを記憶する。記憶装置21は、外部から取得した更新データを記憶するデータストレージ21aを備える。処理装置23は、記憶装置21から読み出したプログラムを、RAM22を作業領域として用いて実行することにより、後述する車載機器のソフトウェアの更新を実行する。
【0010】
車両10は、DCM50を備える。また、「DCM」は、データ通信モジュール(Data Communication Module)の略称である。マスタECU20は、DCM50および通信ネットワーク100を介して車両10の外部にあるサーバ200と無線通信が可能である。通信ネットワーク100の一例は、移動体通信ネットワークである。
(【0011】以降は省略されています)
この特許をJ-PlatPat(特許庁公式サイト)で参照する
関連特許
トヨタ自動車株式会社
車両
15日前
トヨタ自動車株式会社
電池
7日前
トヨタ自動車株式会社
車両
1日前
トヨタ自動車株式会社
方法
今日
トヨタ自動車株式会社
電池
7日前
トヨタ自動車株式会社
電動車
15日前
トヨタ自動車株式会社
タンク
今日
トヨタ自動車株式会社
エンジン
7日前
トヨタ自動車株式会社
蓄電装置
7日前
トヨタ自動車株式会社
制御装置
7日前
トヨタ自動車株式会社
塗工装置
7日前
トヨタ自動車株式会社
制御装置
15日前
トヨタ自動車株式会社
制御装置
今日
トヨタ自動車株式会社
判定装置
15日前
トヨタ自動車株式会社
エンジン
15日前
トヨタ自動車株式会社
蓄電装置
7日前
トヨタ自動車株式会社
制御装置
今日
トヨタ自動車株式会社
蓄電装置
8日前
トヨタ自動車株式会社
蓄電装置
8日前
トヨタ自動車株式会社
蓄電装置
7日前
トヨタ自動車株式会社
蓄電装置
7日前
トヨタ自動車株式会社
蓄電装置
7日前
トヨタ自動車株式会社
蓄電装置
7日前
トヨタ自動車株式会社
車両装置
7日前
トヨタ自動車株式会社
処理装置
7日前
トヨタ自動車株式会社
蓄電装置
7日前
トヨタ自動車株式会社
蓄電装置
15日前
トヨタ自動車株式会社
蓄電装置
7日前
トヨタ自動車株式会社
蓄電装置
7日前
トヨタ自動車株式会社
反応容器
15日前
トヨタ自動車株式会社
蓄電装置
7日前
トヨタ自動車株式会社
蓄電装置
7日前
トヨタ自動車株式会社
蓄電装置
15日前
トヨタ自動車株式会社
蓄電装置
7日前
トヨタ自動車株式会社
蓄電装置
7日前
トヨタ自動車株式会社
蓄電装置
7日前
続きを見る
他の特許を見る