TOP
|
特許
|
意匠
|
商標
特許ウォッチ
Twitter
他の特許を見る
公開番号
2025171524
公報種別
公開特許公報(A)
公開日
2025-11-20
出願番号
2024076962
出願日
2024-05-10
発明の名称
蓄電装置
出願人
トヨタ自動車株式会社
代理人
弁理士法人深見特許事務所
主分類
H01M
50/291 20210101AFI20251113BHJP(基本的電気素子)
要約
【課題】蓄電モジュールの剛性を向上させながら、区画部材の剛性を向上させることが可能な蓄電装置を提供する。
【解決手段】蓄電装置100は、複数の蓄電モジュール10と、複数のクロス部材40および50と、隣り合う蓄電モジュール10同士を連結する連結ブラケット60および70とを備える。クロス部材40は、Y方向に配列される複数の蓄電モジュール10の各々に沿ってY方向に延びている。クロス部材50は、Y方向に隣り合う蓄電モジュール10同士の間において、X方向に延びている。連結ブラケット60および連結ブラケット70の各々は、クロス部材40およびクロス部材50の各々と接続されている。
【選択図】図2
特許請求の範囲
【請求項1】
第1方向に配列された複数の蓄電モジュールと、
前記複数の蓄電モジュールの各々が配置される領域を区画する複数の区画部材と、
前記複数の蓄電モジュールのうち前記第1方向に隣り合う蓄電モジュール同士を連結する連結部材と、を備え、
前記複数の区画部材は、
前記第1方向に配列される前記複数の蓄電モジュールの各々に沿って前記第1方向に延びる第1区画部材と、
前記第1方向に隣り合う前記蓄電モジュール同士の間において、前記第1方向と交差する第2方向に延びる第2区画部材と、を含み、
前記連結部材は、前記第1区画部材および前記第2区画部材の各々と接続されている、蓄電装置。
続きを表示(約 1,400 文字)
【請求項2】
前記第1方向に隣り合う前記蓄電モジュール同士を電気的に接続するバスバーをさらに備え、
前記バスバーは、前記連結部材の下方に設けられている、請求項1に記載の蓄電装置。
【請求項3】
前記複数の区画部材の各々が設けられるロアケースをさらに備え、
前記第1区画部材は、
前記連結部材と接続される上端部と、
前記ロアケースと接続される下端部と、
前記上端部と前記下端部とを接続する側面部と、を有するとともに、
前記第1方向に配列される前記複数の蓄電モジュールに跨がるように前記第1方向に延びており、
前記第1区画部材の前記側面部と前記第2区画部材との間には、隙間が形成されており、
前記バスバーは、前記ロアケースと前記連結部材との間において、前記隙間を通って前記第1方向に延びるように設けられている、請求項2に記載の蓄電装置。
【請求項4】
前記複数の蓄電モジュールの各々は、前記第2方向に配列される第1端面および第2端面を含み、
前記第1区画部材は、
前記第1端面に沿って前記第1方向に延びる一方の第1区画部材と、
前記第2端面に沿って前記第1方向に延びる他方の第1区画部材とを含み、
前記連結部材は、
前記第2区画部材および前記一方の第1区画部材の各々と接続される一方連結部材と、
前記第2区画部材および前記他方の第1区画部材の各々と接続される他方連結部材と、を含む、請求項1~3のいずれか1項に記載の蓄電装置。
【請求項5】
複数の締結部材をさらに備え、
前記複数の締結部材の各々は、ヘッド部および前記ヘッド部に接続された軸部とを含み、
前記複数の蓄電モジュールの各々は、前記第1方向に配列される第1側面および第2側面を含み、
前記第2区画部材は、
前記第1側面に沿って前記第2方向に延びる一方の第2区画部材と、
前記第2側面に沿って前記第2方向に延びる他方の第2区画部材とを含み、
前記一方連結部材は、
前記一方の第1区画部材と前記一方の第2区画部材とを連結する第1連結片と、
前記一方の第1区画部材と前記他方の第2区画部材とを連結する第2連結片と、を含み、
前記他方連結部材は、
前記他方の第1区画部材と前記一方の第2区画部材とを連結する第3連結片を含み、
前記複数の締結部材は、
前記第1連結片と前記一方の第1区画部材とを締結する第1締結部材と、
前記第1連結片と前記一方の第2区画部材とを締結する第2締結部材と、
前記第2連結片と前記一方の第1区画部材とを締結する第3締結部材と、
前記第3連結片と前記一方の第2区画部材とを締結する第4締結部材と、を含み、
前記第1締結部材と前記第3締結部材との間の距離は、前記第2締結部材と前記第4締結部材との間の距離よりも小さく、
前記第1締結部材の前記軸部の長さ、および、前記第3締結部材の前記軸部の長さの各々は、前記第2締結部材の前記軸部の長さ、および、前記第4締結部材の前記軸部の長さの各々の長さよりも小さい、請求項4に記載の蓄電装置。
発明の詳細な説明
【技術分野】
【0001】
本開示は、蓄電装置に関する。
続きを表示(約 2,100 文字)
【背景技術】
【0002】
特表2022-516519号公報(特許文献1)には、電池トレイと、電池トレイに設置された複数の単電池とを含む動力電池パックが開示されている。電池トレイの底板には、電池の収容空間を複数の領域に仕切る仕切り板が設けられている。仕切り板の内部には、単電池から排出されるガスを流通させるガス通路が形成されている。
【先行技術文献】
【特許文献】
【0003】
特表2022-516519号公報
【発明の概要】
【発明が解決しようとする課題】
【0004】
ここで、仕切り板の破損等に起因してガス通路による排煙が妨げられるのを抑制するために、仕切り板(区画部材)の剛性を向上させることが望まれている。また、仕切り板によって単電池(蓄電モジュール)が複数の領域に分断されて設けられているため、単電池が1つの領域に纏めて設けられている場合に比べて、単電池の剛性(全体的な剛性)が低くなると考えられる。
【0005】
本開示は、上記課題を解決するためになされたものであり、その目的は、蓄電モジュールの剛性を向上させながら、区画部材の剛性を向上させることが可能な蓄電装置を提供することである。
【課題を解決するための手段】
【0006】
本開示の一の局面に係る蓄電装置は、第1方向に配列された複数の蓄電モジュールと、複数の蓄電モジュールの各々が配置される領域を区画する複数の区画部材と、複数の蓄電モジュールのうち第1方向に隣り合う蓄電モジュール同士を連結する連結部材と、を備える。複数の区画部材は、第1方向に配列される複数の蓄電モジュールの各々に沿って第1方向に延びる第1区画部材と、第1方向に隣り合う蓄電モジュール同士の間において、第1方向と交差する第2方向に延びる第2区画部材と、を含む。連結部材は、第1区画部材および第2区画部材の各々と接続されている。
【0007】
本開示の一の局面に係る蓄電装置では、上記のように、蓄電モジュール同士を連結する連結部材は、第1区画部材および第2区画部材の各々と接続されている。これにより、蓄電モジュール同士が連結部材によって連結されていることによって、蓄電モジュール同士が互いに独立している場合に比べて、蓄電モジュールの剛性を向上させることができる。また、第1区画部材および第2区画部材が連結部材を介して連結されているので、第1区画部材と第2区画部材とが互いに独立している場合に比べて、区画部材の剛性を向上させることができる。したがって、蓄電モジュールの剛性を向上させながら、区画部材の剛性を向上させることができる。
【0008】
蓄電装置は、第1方向に隣り合う蓄電モジュール同士を電気的に接続するバスバーを備えてもよい。バスバーは、連結部材の下方に設けられていてもよい。このような構成により、バスバーと連結部材とが上下方向において異なる位置に設けられるので、バスバーと連結部材とが干渉するのを抑制しながら、連結部材により第1区画部材と第2区画部材とを連結することができる。その結果、バスバーと連結部材との干渉を抑制しながら、区画部材の剛性を向上させることができる。
【0009】
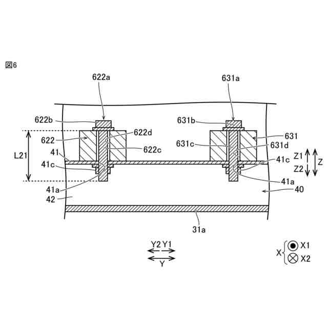
蓄電装置は、複数の区画部材の各々が設けられるロアケースを備えてもよい。第1区画部材は、連結部材と接続される上端部と、ロアケースと接続される下端部と、上端部と下端部とを接続する側面部と、を有するとともに、第1方向に配列される複数の蓄電モジュールに跨がるように第1方向に延びていてもよい。第1区画部材の側面部と第2区画部材との間には、隙間が形成されていてもよい。バスバーは、ロアケースと連結部材との間において、隙間を通って第1方向に延びるように設けられていてもよい。このような構成により、ロアケースと連結部材との間に形成された隙間を通じて、バスバーにより蓄電モジュール同士を容易に電気的に接続することができる。
【0010】
複数の蓄電モジュールの各々は、第2方向に配列される第1端面および第2端面を含んでいてもよい。第1区画部材は、第1端面に沿って第1方向に延びる一方の第1区画部材と、第2端面に沿って第1方向に延びる他方の第1区画部材とを含んでいてもよい。連結部材は、第2区画部材および一方の第1区画部材の各々と接続される一方連結部材と、第2区画部材および他方の第1区画部材の各々と接続される他方連結部材と、を含んでいてもよい。このような構成により、一方連結部材および他方連結部材により、一方の第1区画部材および他方の第1区画部材の各々と第2区画部材とを連結させることができる。その結果、一方の第1区画部材および他方の第1区画部材のいずれか一方のみと第2区画部材とが連結されている場合に比べて、区画部材の剛性をより向上させることができる。
(【0011】以降は省略されています)
この特許をJ-PlatPat(特許庁公式サイト)で参照する
関連特許
東ソー株式会社
絶縁電線
1か月前
APB株式会社
蓄電セル
28日前
個人
フレキシブル電気化学素子
1か月前
マクセル株式会社
電源装置
22日前
ローム株式会社
半導体装置
29日前
株式会社ユーシン
操作装置
1か月前
株式会社東芝
端子台
22日前
日新イオン機器株式会社
イオン源
1か月前
株式会社GSユアサ
蓄電装置
1日前
株式会社GSユアサ
蓄電装置
23日前
株式会社GSユアサ
蓄電装置
23日前
太陽誘電株式会社
コイル部品
1か月前
三菱電機株式会社
回路遮断器
9日前
株式会社GSユアサ
蓄電設備
1か月前
株式会社GSユアサ
蓄電装置
15日前
株式会社ホロン
冷陰極電子源
1か月前
オムロン株式会社
電磁継電器
1か月前
株式会社GSユアサ
蓄電設備
1か月前
富士電機株式会社
電磁接触器
1日前
日本特殊陶業株式会社
保持装置
14日前
北道電設株式会社
配電具カバー
28日前
トヨタ自動車株式会社
蓄電装置
1か月前
ノリタケ株式会社
熱伝導シート
1か月前
トヨタ自動車株式会社
蓄電装置
23日前
日本特殊陶業株式会社
保持装置
1か月前
サクサ株式会社
電池の固定構造
1か月前
トヨタ自動車株式会社
バッテリ
28日前
日新イオン機器株式会社
基板処理装置
25日前
トヨタ自動車株式会社
冷却構造
1か月前
日東電工株式会社
積層体
1か月前
住友電装株式会社
コネクタ
1日前
矢崎総業株式会社
コネクタ
1日前
ローム株式会社
半導体装置
1か月前
株式会社レゾナック
冷却器
9日前
ベストテック株式会社
装置支持具
1か月前
甲神電機株式会社
変流器及び零相変流器
16日前
続きを見る
他の特許を見る