TOP
|
特許
|
意匠
|
商標
特許ウォッチ
Twitter
他の特許を見る
公開番号
2025179565
公報種別
公開特許公報(A)
公開日
2025-12-10
出願番号
2024086401
出願日
2024-05-28
発明の名称
車載装置
出願人
トヨタ自動車株式会社
代理人
個人
,
個人
主分類
H04L
12/28 20060101AFI20251203BHJP(電気通信技術)
要約
【課題】サーバが適切なサービスを提供できなくなることを抑制すること。
【解決手段】通信モジュール16は、車載ネットワークに接続された車両制御ECU12から車両情報を収集して管理サーバ20に送信する処理を行う。通信モジュール16は、DLCを介して送信されるCAN信号を監視する。通信モジュール16は、CAN信号の監視の結果に基づいて、DLCを介して診断ツール21が接続されているかの接続判定を行う。通信モジュール16は、接続判定の判定結果を車両情報に含めて管理サーバ20に送信する。
【選択図】図3
特許請求の範囲
【請求項1】
車載ネットワークに搭載され、前記車載ネットワークに接続された各機器から車両情報を収集してサーバに送信する処理を行う車載装置であって、
前記車載ネットワークに搭載された外部接続用のコネクタを介して送信されるCAN信号を監視することと、
前記CAN信号の監視の結果に基づいて、前記車載ネットワークに前記コネクタを介して所定の通信機器が接続されているかの接続判定を行うことと、
前記接続判定の判定結果を前記車両情報に含めてサーバに送信することと、
を実行する処理回路を備える
車載装置。
続きを表示(約 340 文字)
【請求項2】
前記処理回路は、前記接続判定において前記所定の通信機器の識別子を検知した場合に、前記所定の通信機器が接続されていると判定する
請求項1に記載の車載装置。
【請求項3】
前記処理回路は、前記接続判定において前記所定の通信機器の識別子を一定時間検知していない場合に、前記所定の通信機器が接続されていないと判定する
請求項1又は請求項2に記載の車載装置。
【請求項4】
前記処理回路は、前記車載ネットワークを介して所定の通信要求に対する通信応答を受信できたときと、前記通信応答を受信できなかったときと、の何れであっても、前記接続判定の判定結果を前記車両情報に含めて前記サーバに送信する
請求項1に記載の車載装置。
発明の詳細な説明
【技術分野】
【0001】
この発明は、車載装置に関するものである。
続きを表示(約 1,600 文字)
【背景技術】
【0002】
従来、車両に搭載される車載装置には、車両のECUと故障診断通信を行い、その結果を所定のサーバに送信するDCM(データコミュニケーションモジュール)がある。また、車両が備えるDLC(データリンクコネクタ)を介して接続され、車両のECUと故障診断通信を行うことにより各種の診断を行う外部診断ツールも知られている。
【0003】
また、特許文献1のように、車両のセントラルゲートウェイに対して、DCMと外部診断ツールとの両方から通信要求が行われる場合には、DCMからの通信要求を中止することにより、外部診断ツールからの通信要求への応答を優先することも行われている。
【先行技術文献】
【特許文献】
【0004】
特開2014-78800号公報
【発明の概要】
【発明が解決しようとする課題】
【0005】
このように、DLCを介して外部診断ツールが接続されている場合、外部診断ツールからの通信要求への応答を優先するため、DCMにおいて車両の情報を適切に収集できないことがある。この場合、サーバは、適切なサービスを提供できないことがある。
【課題を解決するための手段】
【0006】
上記課題を解決するための車載装置は、車載ネットワークに搭載され、前記車載ネットワークに接続された各機器から車両情報を収集してサーバに送信する処理を行う車載装置であって、前記車載ネットワークに搭載された外部接続用のコネクタを介して送信されるCAN信号を監視することと、前記CAN信号の監視の結果に基づいて、前記車載ネットワークに前記コネクタを介して所定の通信機器が接続されているかの接続判定を行うことと、前記接続判定の判定結果を前記車両情報に含めてサーバに送信することと、を実行する処理回路を備えることを要旨とする。
【発明の効果】
【0007】
上記構成によれば、サーバが適切なサービスを提供できなくなることを抑制できる。
【図面の簡単な説明】
【0008】
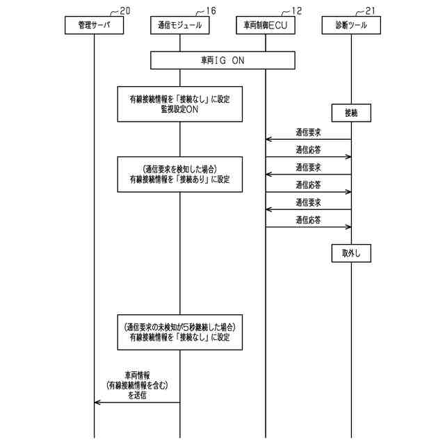
図1は、車両、診断ツール、及び外部の管理サーバの構成を模式的に示す図である。
図2は、通信モジュール及び診断ツールからの車両制御ECUへの通信要求と通信応答との関係を示す図である。
図3は、車載ネットワークにおける通信の処理の流れを示す図である。
図4は、車載ネットワークにおける通信の処理の流れを示す図である。
【発明を実施するための形態】
【0009】
以下、車載ネットワークに搭載される車載装置の一実施形態を図1~図4にしたがって説明する。
<車載ネットワークの構成>
まず、図1を参照して、本実施形態の車載装置が搭載される車載ネットワークについて説明する。
【0010】
車両10は、車載ネットワーク11を備えている。車載ネットワーク11には、車両制御用の各種の電子制御ユニットが設置されている。車両制御用の電子制御ユニットとしては、例えばエンジン制御用の電子制御ユニット、ブレーキ制御用の電子制御ユニット、変速制御用の電子制御ユニットが挙げられる。以下の説明では、このような車両制御用の電子制御ユニットを車両制御ECU12と記載する。図1には、車両10に搭載された複数の車両制御ECU12のうちの一つのみが示されている。車両制御ECU12は、自己診断機能を有している。車両制御ECU12は、車両10の診断に用いるデータである診断データを記録するための記憶装置18を備えている。診断データには、車両制御ECU12の自己診断の結果や、車両10の稼働状態を示す各種のデータが含まれる。
(【0011】以降は省略されています)
この特許をJ-PlatPat(特許庁公式サイト)で参照する
関連特許
トヨタ自動車株式会社
車両
21日前
トヨタ自動車株式会社
電池
27日前
トヨタ自動車株式会社
車両
1日前
トヨタ自動車株式会社
方法
6日前
トヨタ自動車株式会社
配管
22日前
トヨタ自動車株式会社
電池
21日前
トヨタ自動車株式会社
電池
13日前
トヨタ自動車株式会社
電池
13日前
トヨタ自動車株式会社
車両
7日前
トヨタ自動車株式会社
車両
22日前
トヨタ自動車株式会社
電動車
22日前
トヨタ自動車株式会社
ロータ
22日前
トヨタ自動車株式会社
モータ
1か月前
トヨタ自動車株式会社
タンク
6日前
トヨタ自動車株式会社
電動車
21日前
トヨタ自動車株式会社
判定装置
21日前
トヨタ自動車株式会社
蓄電装置
14日前
トヨタ自動車株式会社
制御装置
6日前
トヨタ自動車株式会社
蓄電装置
13日前
トヨタ自動車株式会社
反応容器
21日前
トヨタ自動車株式会社
制御装置
21日前
トヨタ自動車株式会社
蓄電装置
21日前
トヨタ自動車株式会社
蓄電装置
21日前
トヨタ自動車株式会社
蓄電装置
21日前
トヨタ自動車株式会社
制御装置
21日前
トヨタ自動車株式会社
コネクタ
21日前
トヨタ自動車株式会社
学習装置
21日前
トヨタ自動車株式会社
蓄電装置
14日前
トヨタ自動車株式会社
蓄電装置
13日前
トヨタ自動車株式会社
制御装置
6日前
トヨタ自動車株式会社
蓄電装置
13日前
トヨタ自動車株式会社
エンジン
13日前
トヨタ自動車株式会社
蓄電装置
13日前
トヨタ自動車株式会社
蓄電装置
13日前
トヨタ自動車株式会社
蓄電装置
13日前
トヨタ自動車株式会社
蓄電装置
13日前
続きを見る
他の特許を見る