TOP
|
特許
|
意匠
|
商標
特許ウォッチ
Twitter
他の特許を見る
公開番号
2025177415
公報種別
公開特許公報(A)
公開日
2025-12-05
出願番号
2024084234
出願日
2024-05-23
発明の名称
制御装置
出願人
トヨタ自動車株式会社
代理人
個人
,
個人
,
個人
主分類
F16H
59/04 20060101AFI20251128BHJP(機械要素または単位;機械または装置の効果的機能を生じ維持するための一般的手段)
要約
【課題】車両の自動変速機において、より適切に変速線を切り替えできる技術を提供する。
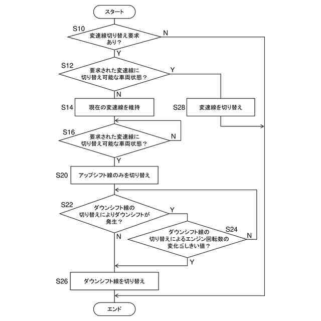
【解決手段】車両の自動変速機14を制御する制御装置16において、変速線決定部24は、自動変速機14の変速段を制御するための変速線を決定する。判定部22は、変速線が第1変速線に決定されているとき、第1変速線から第2変速線への切り替え要求を受けると、変速線を切り替え可能な車両状態であるか判定する。変速線決定部24は、変速線を切り替え可能な車両状態ではないと判定された場合、第1変速線を維持し、その後、変速線を切り替え可能な車両状態であると判定された場合、アップシフト線のみを第2変速線のアップシフト線に切り替える。変速線決定部24は、アップシフト線のみを切り替えた状態で、ダウンシフト線を切り替えてもダウンシフトしない場合、ダウンシフト線を第2変速線のダウンシフト線に切り替える。
【選択図】図1
特許請求の範囲
【請求項1】
車両の自動変速機を制御する制御装置であって、
前記自動変速機の変速段を制御するための変速線を決定する変速線決定部と、
変速線が第1変速線に決定されているとき、前記第1変速線から第2変速線への切り替え要求を受けると、変速線を切り替え可能な車両状態であるか判定する判定部と、を備え、
前記変速線決定部は、
変速線を切り替え可能な車両状態ではないと判定された場合、前記第1変速線を維持し、その後、変速線を切り替え可能な車両状態であると判定された場合、アップシフト線のみを前記第2変速線のアップシフト線に切り替え、
アップシフト線のみを切り替えた状態で、ダウンシフト線を切り替えてもダウンシフトしない場合、ダウンシフト線を前記第2変速線のダウンシフト線に切り替える、
ことを特徴とする制御装置。
発明の詳細な説明
【技術分野】
【0001】
本発明は、車両の自動変速機を制御する制御装置に関する。
続きを表示(約 1,600 文字)
【背景技術】
【0002】
特許文献1は、複数の変速マップのうちの1つを選択する車両用制御装置を開示する。この装置は、アップシフトの際には、内燃機関が始動してから触媒温度が触媒第1規定値に至る前は、触媒温度が触媒第1規定値に至った以後よりもアップシフトし難い変速マップを選択する。また、この装置は、ダウンシフトの際には、触媒温度が触媒第2規定値に至る前は、触媒温度が触媒第2規定値に至った以後よりもダウンシフトし難い変速マップを選択する。
【先行技術文献】
【特許文献】
【0003】
特開2021-32270号公報
【発明の概要】
【発明が解決しようとする課題】
【0004】
有段の自動変速機を搭載した車両において、運転者が走行モードをスポーツモードなどに切り替えると、変速線を切り替えてダウンシフトする技術が知られている。ただし、冷間時など、車両状態によっては、変速線を切り替えずに現在の変速線を維持する。暖機後など、変速線を切り替え可能な車両状態になっても、変速線の切り替えにより不意にダウンシフトによる変速ショックが発生すると運転者に違和感を与える可能性がある。そこで、変速線を切り替え可能な車両状態になってから、車速やアクセル開度が変速線を切り替えてもダウシフトが発生しない領域に入ると、変速線を切り替えている。
【0005】
しかし、切り替え後の変速線の設定によっては、ダウンシフトが発生しない領域が狭く、変速線を切り替えできない状態が続くことがある。この場合、車両の性能を十分に発揮できない可能性がある。
【0006】
本発明の目的は、車両の自動変速機において、より適切に変速線を切り替えできる技術を提供することにある。
【課題を解決するための手段】
【0007】
上記課題を解決するために、本発明のある態様の制御装置は、車両の自動変速機を制御する制御装置であって、前記自動変速機の変速段を制御するための変速線を決定する変速線決定部と、変速線が第1変速線に決定されているとき、前記第1変速線から第2変速線への切り替え要求を受けると、変速線を切り替え可能な車両状態であるか判定する判定部と、を備える。前記変速線決定部は、変速線を切り替え可能な車両状態ではないと判定された場合、前記第1変速線を維持し、その後、変速線を切り替え可能な車両状態であると判定された場合、アップシフト線のみを前記第2変速線のアップシフト線に切り替え、アップシフト線のみを切り替えた状態で、ダウンシフト線を切り替えてもダウンシフトしない場合、ダウンシフト線を前記第2変速線のダウンシフト線に切り替える。
【発明の効果】
【0008】
本発明によれば、車両の自動変速機において、より適切に変速線を切り替えできる技術を提供できる。
【図面の簡単な説明】
【0009】
実施の形態の制御システムの機能構成を概略的に示す図である。
図2(a)は、第1変速線と第2変速線のそれぞれのアップシフト線の一例を示す図であり、図2(b)は、実施の形態と比較例における車速と変速段の時間変化の一例を概略的に示す図である。
エンジン回転数と自動変速機の出力軸回転数との関係の一例を示す図である。
制御システムの処理を示すフローチャートである。
【発明を実施するための形態】
【0010】
図1は、実施の形態の制御システム100の機能構成を概略的に示す。制御システム100は、図示しない車両に搭載される。制御システム100は、エンジン10、トルクコンバータ12、自動変速機14、および制御装置16を備える。
(【0011】以降は省略されています)
この特許をJ-PlatPat(特許庁公式サイト)で参照する
関連特許
トヨタ自動車株式会社
車両
1か月前
トヨタ自動車株式会社
車両
1か月前
トヨタ自動車株式会社
方法
1か月前
トヨタ自動車株式会社
電池
21日前
トヨタ自動車株式会社
方法
今日
トヨタ自動車株式会社
車両
1か月前
トヨタ自動車株式会社
配管
16日前
トヨタ自動車株式会社
車両
16日前
トヨタ自動車株式会社
電池
15日前
トヨタ自動車株式会社
車両
1か月前
トヨタ自動車株式会社
車両
15日前
トヨタ自動車株式会社
電池
1か月前
トヨタ自動車株式会社
車両
1日前
トヨタ自動車株式会社
方法
1か月前
トヨタ自動車株式会社
方法
1か月前
トヨタ自動車株式会社
方法
1か月前
トヨタ自動車株式会社
車両
1か月前
トヨタ自動車株式会社
治具
1か月前
トヨタ自動車株式会社
車両
1か月前
トヨタ自動車株式会社
電池
7日前
トヨタ自動車株式会社
車両
1か月前
トヨタ自動車株式会社
電池
7日前
トヨタ自動車株式会社
車体
29日前
トヨタ自動車株式会社
車両
29日前
トヨタ自動車株式会社
車両
29日前
トヨタ自動車株式会社
電池
1か月前
トヨタ自動車株式会社
方法
29日前
トヨタ自動車株式会社
モータ
28日前
トヨタ自動車株式会社
正極層
1か月前
トヨタ自動車株式会社
電動車
16日前
トヨタ自動車株式会社
蓄電池
29日前
トヨタ自動車株式会社
電動車
15日前
トヨタ自動車株式会社
ロータ
16日前
トヨタ自動車株式会社
電動機
1か月前
トヨタ自動車株式会社
タンク
今日
トヨタ自動車株式会社
モータ
1か月前
続きを見る
他の特許を見る