TOP
|
特許
|
意匠
|
商標
特許ウォッチ
Twitter
他の特許を見る
公開番号
2025160741
公報種別
公開特許公報(A)
公開日
2025-10-23
出願番号
2024063503
出願日
2024-04-10
発明の名称
方法
出願人
トヨタ自動車株式会社
代理人
個人
,
個人
,
個人
,
個人
主分類
G06Q
30/06 20230101AFI20251016BHJP(計算;計数)
要約
【課題】車両を購入するユーザを補助する技術を改善する。
【解決手段】情報処理装置10が実行する方法は、ユーザに対し車両の購入シミュレーションを提供することと、ユーザの属性を示すユーザ情報を取得することと、ユーザ情報に基づいて、ユーザが車両を保有するために行う対象手続きを特定することと、特定した対象手続きを、購入シミュレーションの結果と併せてユーザに対し通知することとを含む。
【選択図】図1
特許請求の範囲
【請求項1】
制御部を備える情報処理装置が実行する方法であって、
前記制御部が、
ユーザに対し車両の購入シミュレーションを提供することと、
前記ユーザの属性を示すユーザ情報を取得することと、
前記ユーザ情報に基づいて、前記ユーザが前記車両を保有するために行う対象手続きを特定することと、
特定した前記対象手続きを、前記購入シミュレーションの結果と併せて前記ユーザに対し通知することと
を含む、方法。
発明の詳細な説明
【技術分野】
【0001】
本開示は、方法に関する。
続きを表示(約 1,200 文字)
【背景技術】
【0002】
従来、ユーザの車両の購入を補助することが知られている。例えば特許文献1には、修理対象車両から新車両に乗り換える場合の新車両購入費用の見積り、及び修理対象車両から中古車両に乗り換える場合の中古車両購入費用の見積りを算出するとともに、修理対象車両を修理する場合、修理対象車両から新車両に乗り換える場合及び修理対象車両から中古車両に乗り換える場合における車両の将来の維持費用を、各年ごとに算出することが開示されている。
【先行技術文献】
【特許文献】
【0003】
特開2016-148889号公報
【発明の概要】
【発明が解決しようとする課題】
【0004】
ユーザが購入した車両を実際に保有するにあたり必要な手続きについてサポートが不足し、ユーザが迷ってしまうことがある。このように、車両を購入するユーザを補助する技術には改善の余地があった。
【課題を解決するための手段】
【0005】
本開示に係る方法は、制御部を備える情報処理装置が実行する方法であって、前記制御部が、ユーザに対し車両の購入シミュレーションを提供することと、前記ユーザの属性を示すユーザ情報を取得することと、前記ユーザ情報に基づいて、前記ユーザが前記車両を保有するために行う対象手続きを特定することと、特定した前記対象手続きを、前記購入シミュレーションの結果と併せて前記ユーザに対し通知することとを含む。
【発明の効果】
【0006】
本開示によれば、車両を購入するユーザを補助する技術を改善することが可能となる。
【図面の簡単な説明】
【0007】
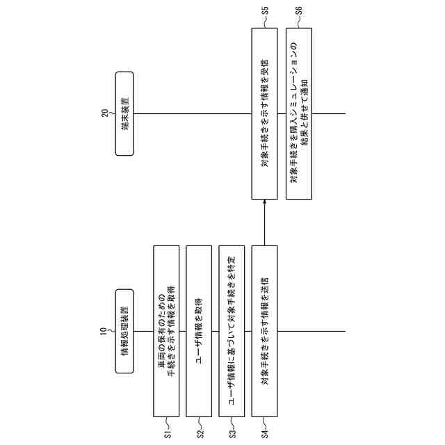
本開示の実施形態に係るシステムの概略構成を示す図である。
本開示の実施形態に係るシステムの動作を示すフローチャートである。
【発明を実施するための形態】
【0008】
以下、本開示の実施形態について、図面を参照して説明する。各図面中、同一又は相当する部分には、同一符号を付している。本実施形態の説明において、同一又は相当する部分については、説明を適宜省略又は簡略化する。
【0009】
図1を参照して、本実施形態に係るシステム1の構成を説明する。システム1は、情報処理装置10と、端末装置20とを備える。各装置は例えばインターネットを含むネットワーク30を介して互いに通信可能に接続される。
【0010】
情報処理装置10は、データセンターなどの施設に設置されたコンピュータである。情報処理装置10は、例えば、クラウドコンピューティングシステム又はその他のコンピューティングシステムに属するサーバである。情報処理装置10は、車両の購入シミュレーションをユーザの端末装置20に提供可能である。
(【0011】以降は省略されています)
この特許をJ-PlatPat(特許庁公式サイト)で参照する
関連特許
個人
詐欺保険
1か月前
個人
縁伊達ポイン
1か月前
個人
5掛けポイント
27日前
個人
職業自動販売機
20日前
個人
RFタグシート
1か月前
個人
ペルソナ認証方式
1か月前
個人
QRコードの彩色
1か月前
個人
情報処理装置
1か月前
個人
自動調理装置
1か月前
個人
残土処理システム
1か月前
個人
農作物用途分配システム
1か月前
個人
知的財産出願支援システム
1か月前
個人
サービス情報提供システム
22日前
NISSHA株式会社
入力装置
今日
個人
インターネットの利用構造
1か月前
個人
タッチパネル操作指代替具
1か月前
個人
携帯端末障害問合せシステム
1か月前
個人
スケジュール調整プログラム
1か月前
個人
学習用データ生成装置
1日前
個人
エリアガイドナビAIシステム
1か月前
個人
音声・通知・再配達UX制御構造
1か月前
トヨタ自動車株式会社
通知装置
1か月前
個人
帳票自動生成型SaaSシステム
1か月前
エッグス株式会社
情報処理装置
1か月前
キヤノン株式会社
印刷システム
1か月前
キヤノン株式会社
情報処理装置
28日前
株式会社ワコム
電子ペン
29日前
株式会社ワコム
電子ペン
29日前
株式会社ケアコム
項目選択装置
1か月前
キヤノン株式会社
画像認識装置
14日前
キヤノン株式会社
情報処理装置
14日前
キヤノン株式会社
情報処理装置
14日前
株式会社ケアコム
項目選択装置
1か月前
キラル株式会社
顧客体験提供システム
2日前
株式会社ITP
仮想展示システム
8日前
大同特殊鋼株式会社
棒材計数方法
1か月前
続きを見る
他の特許を見る