TOP
|
特許
|
意匠
|
商標
特許ウォッチ
Twitter
他の特許を見る
10個以上の画像は省略されています。
公開番号
2025162915
公報種別
公開特許公報(A)
公開日
2025-10-28
出願番号
2024066418
出願日
2024-04-16
発明の名称
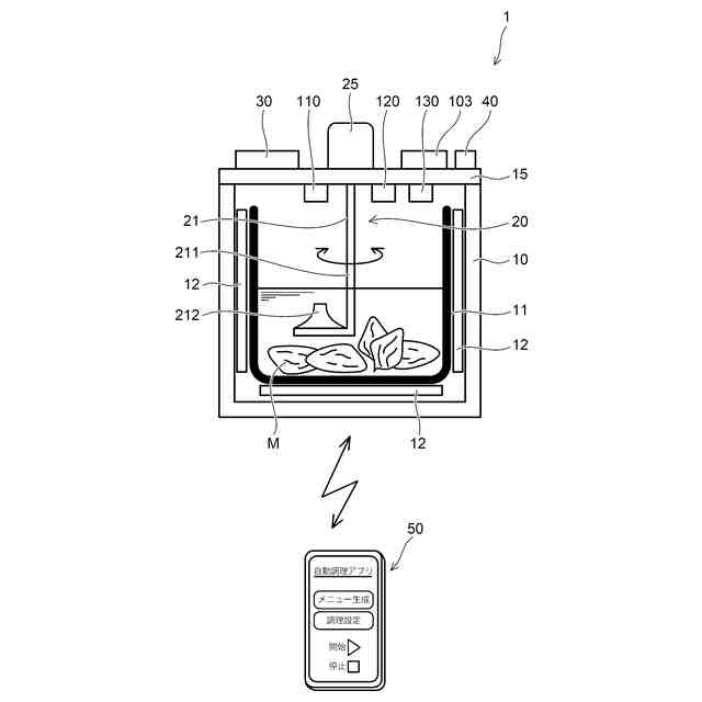
自動調理装置
出願人
個人
代理人
個人
主分類
G06Q
50/10 20120101AFI20251021BHJP(計算;計数)
要約
【課題】簡単に美味しい料理を自動的に作ることができる自動調理装置を提供すること。
【解決手段】本発明の一態様は、鍋部を収容する本体部と、鍋部に挿入される調理器具部と、調理に関する制御を行う制御部と、本体部に設けられる本体側通信部と、情報入力部、情報出力部および端末側通信部を有する端末機器と、を備え、端末機器は、情報入力部で取り込んだ食材の画像を端末側通信部によって本体側通信部へ送信し、制御部は、本体側通信部で受信した食材の画像から食材の種類および分量を算出する食材算出部と、予め設定された教師データに基づき
人工
知能によって食材の種類および分量から調理候補となるメニューを生成するメニュー生成部と、メニュー生成部で生成したメニューに基づき調理器具部の動作および鍋部の温度を制御する調理制御部と、を有する、自動調理装置である。
【選択図】図1
特許請求の範囲
【請求項1】
鍋部を収容する本体部と、
前記鍋部に挿入される調理器具部と、
調理に関する制御を行う制御部と、
前記本体部に設けられる本体側通信部と、
情報入力部、情報出力部および端末側通信部を有する端末機器と、
を備え、
前記端末機器は、前記情報入力部で取り込んだ食材の画像を前記端末側通信部によって前記本体側通信部へ送信し、
前記制御部は、
前記本体側通信部で受信した前記食材の画像から前記食材の種類および分量を算出する食材算出部と、
予め設定された教師データに基づき人口知能によって前記食材の種類および分量から調理候補となるメニューを生成するメニュー生成部と、
前記メニュー生成部で生成した前記メニューに基づき前記調理器具部の動作および前記鍋部の温度の少なくとも一方を制御する調理制御部と、を有する、自動調理装置。
続きを表示(約 1,700 文字)
【請求項2】
前記メニュー生成部は、前記調理候補となるメニューを調理する際に必要な食材の種類および分量と、前記食材算出部で前記画像から算出した前記食材の種類および分量との差分に基づき補充食材を抽出し、
前記本体側通信部は、前記補充食材の情報を前記端末機器へ送信する、請求項1記載の自動調理装置。
【請求項3】
前記本体部に設けられる画像入力部をさらに備え、
前記本体側通信部は、前記画像入力部で入力された調理中の前記鍋部の画像を前記端末機器へ送信する、請求項1記載の自動調理装置。
【請求項4】
前記端末機器は、ユーザから受け付けた前記調理器具部の動作および前記鍋部の温度の調理に関する修正情報を前記端末側通信部から前記本体側通信部へ送信し、
前記調理制御部は、前記本体側通信部で受信した前記修正情報に基づき前記調理器具部の動作および前記鍋部の温度の少なくとも一方の制御を修正する、請求項1記載の自動調理装置。
【請求項5】
前記端末機器の前記情報入力部は、前記メニュー生成部で生成された前記メニューに基づき前記鍋部で調理された料理に関するユーザのコメントを受け付け、
前記端末機器の前記端末側通信部は、前記コメントを前記本体側通信部に送信し、
前記制御部の前記メニュー生成部は、前記本体側通信部で受信した前記コメントを前記教師データに反映させる、請求項1記載の自動調理装置。
【請求項6】
前記調理制御部は、調理中の前記鍋部の食材の画像から得られるメイラード反応に基づく色成分に応じて前記鍋部の温度および前記調理器具部の動作の少なくとも一方を制御する、請求項1記載の自動調理装置。
【請求項7】
前記調理器具部は、
前記鍋部内で回転可能に設けられる攪拌部分と、
前記鍋部内で前記攪拌部分よりも上方に配置され、回転可能に設けられる蓋部分と、
前記蓋部分と軸部との間に設けられ、前記軸部の回転力の前記蓋部分への伝達を断続させるクラッチと、を有する、請求項1記載の自動調理装置。
【請求項8】
前記本体部または前記端末装置は、前記食材の画像と前記食材の種類および分量との対応付けを示す種類分量データと、前記教師データと、前記メニューのデータであるメニューデータと、を記憶するデータベースサーバとネットワークを介して接続され、
前記食材算出部は、前記データベースサーバに記憶された前記種類分量データを用いて前記食材の画像から前記食材の種類および分量を算出し、
前記メニュー生成部は、前記データベースサーバに記憶された前記メニューデータを用いて前記メニューを生成する、請求項1記載の自動調理装置。
【請求項9】
前記メニューデータは、前記メニューに基づき調理するための調理手順のデータを含み、
前記調理制御部は、前記データベースサーバに記憶された前記調理手順のデータを用いて前記調理器具部の動作および前記鍋部の温度の少なくとも一方を制御する、請求項8記載の自動調理装置。
【請求項10】
調理中の前記食材から、グルタミン酸、グアニル酸およびイノシン酸の少なくともいずれかであるうま味成分の量を検出するうま味成分検出部をさらに備え、
前記データベースサーバは、調理前の前記食材の種類および分量と前記うま味成分との対応付けを示す食材うま味成分データ、および前記メニューと前記うま味成分との対応付けを示すメニューうま味データを記憶し、
前記調理制御部は、前記うま味成分検出部で検出される前記うま味成分の量を、前記データベースサーバに記憶された前記食材うま味データおよび前記メニューうま味データを用いて前記メニューに対応した前記うま味成分の量に近づけるように前記調理器具部の動作および前記鍋部の温度の少なくとも一方を制御する、請求項8記載の自動調理装置。
(【請求項11】以降は省略されています)
発明の詳細な説明
【技術分野】
【0001】
本発明は、食材を投入して所望のメニューの調理を自動的に行う自動調理装置に関するものである。
続きを表示(約 1,800 文字)
【背景技術】
【0002】
特許文献1には、レシピ通りに調理を進められるよう支援する料理支援システムが開示される。この料理支援システムは、調理器具内の状態を表す第1の用語を含んだ調理手順を示す情報の指定を受け付け、調理器具内の状態をセンシングするセンサにより検出されたデータを受信し、調理器具内の状態をセンシングするセンサにより検出されたデータと前記調理器具内の状態を表す用語との組を1以上記憶した第1の記憶領域を参照し、受信した前記データが前記第1の記憶領域内に前記第1の用語と対応付けられた前記データと一致するとみなせる場合に、現在の調理器具内の状態が前記第1の用語と対応することを示す情報と、前記調理手順を次の手順に進めるタイミングであることを示す情報との両方を出力する、制御部を有する。
【0003】
特許文献2には、エネルギーの供給により物体を加工する際に、人間がチェックを行う手間が必要ないとともに、出来上がりの物体の状態を均一にする加工装置が開示される。この加工装置は、エネルギーを物体に供給するエネルギー供給手段と、前記物体の動的な状態を検出するモーション検出手段と、前記エネルギー供給手段が前記物体に供給するエネルギーの量を制御するエネルギー供給制御手段とを備える。この加工装置において、前記エネルギー供給制御手段は、前記モーション検出手段が検出した前記物体の動的な状態に応じて、前記エネルギー供給手段が前記物体に供給するエネルギーの量を制御することを特徴とする。
【先行技術文献】
【特許文献】
【0004】
特開2019-020981号公報
特開2015-068543号公報
【発明の概要】
【発明が解決しようとする課題】
【0005】
食材を投入して所望のメニューの料理を自動的に行う自動調理装置においては、なるべく手間をかけることなく、好みの料理を自動的に完成できることが望まれる。さらには、自動的に料理ができることはもちろん、美味しさも求められる。
【0006】
本発明は、簡単に美味しい料理を自動的に作ることができる自動調理装置を提供することを目的とする。
【課題を解決するための手段】
【0007】
本発明の一態様は、鍋部を収容する本体部と、鍋部に挿入される調理器具部と、調理に関する制御を行う制御部と、本体部に設けられる本体側通信部と、情報入力部、情報出力部および端末側通信部を有する端末機器と、を備え、端末機器は、情報入力部で取り込んだ食材の画像を端末側通信部によって本体側通信部へ送信し、制御部は、本体側通信部で受信した食材の画像から食材の種類および分量を算出する食材算出部と、予め設定された教師データに基づき人口知能によって食材の種類および分量から調理候補となるメニューを生成するメニュー生成部と、メニュー生成部で生成したメニューに基づき調理器具部の動作および鍋部の温度の少なくとも一方を制御する調理制御部と、を有する、自動調理装置である。
【0008】
このような構成によれば、端末機器の情報入力部で取り込んだ食材の画像から食材の種類および分量を食材算出部で算出し、この算出した食材の種類および分量から人工知能によって調理候補となるメニューが生成される。このメニューに基づき、調理制御部によって調理器具部の動作および鍋部の温度の少なくとも一方を調理制御部で制御することで、食材から導き出したメニューに基づき自動的な調理が行われる。
【0009】
上記自動調理装置において、メニュー生成部は、調理候補となるメニューを調理する際に必要な食材の種類および分量と、食材算出部で画像から算出した食材の種類および分量との差分に基づき補充食材を抽出し、本体側通信部は、補充食材の情報を端末機器へ送信するようにしてもよい。これにより、投入した食材の不足分の情報を端末機器へ送り、補充すべき食材がユーザに通知される。
【0010】
上記自動調理装置において、本体部に設けられる画像入力部をさらに備え、本体側通信部は、画像入力部で入力された調理中の鍋部の画像を端末機器へ送信するようにしてもよい。これにより、調理中の鍋部の画像が端末機器へ送られて、ユーザは端末機器で調理中の鍋部の画像を参照して料理の進行状況を把握することができる。
(【0011】以降は省略されています)
この特許をJ-PlatPat(特許庁公式サイト)で参照する
関連特許
個人
詐欺保険
1か月前
個人
縁伊達ポイン
1か月前
個人
RFタグシート
1か月前
個人
5掛けポイント
28日前
個人
職業自動販売機
21日前
個人
QRコードの彩色
1か月前
個人
ペルソナ認証方式
1か月前
個人
地球保全システム
2か月前
個人
自動調理装置
1か月前
個人
情報処理装置
1か月前
個人
立体グラフの利用方法
今日
個人
残土処理システム
1か月前
個人
農作物用途分配システム
1か月前
NISSHA株式会社
入力装置
1日前
個人
知的財産出願支援システム
1か月前
個人
タッチパネル操作指代替具
1か月前
個人
サービス情報提供システム
23日前
個人
インターネットの利用構造
1か月前
個人
学習用データ生成装置
2日前
個人
スケジュール調整プログラム
1か月前
個人
携帯端末障害問合せシステム
1か月前
株式会社キーエンス
受発注システム
2か月前
株式会社キーエンス
受発注システム
2か月前
株式会社キーエンス
受発注システム
2か月前
個人
食品レシピ生成システム
2か月前
個人
エリアガイドナビAIシステム
1か月前
キヤノン株式会社
情報処理装置
15日前
トヨタ自動車株式会社
通知装置
1か月前
キヤノン株式会社
印刷システム
1か月前
キラル株式会社
顧客体験提供システム
3日前
キヤノン株式会社
情報処理装置
15日前
キヤノン株式会社
画像認識装置
15日前
キヤノン株式会社
情報処理装置
29日前
株式会社ケアコム
項目選択装置
1か月前
株式会社ワコム
電子ペン
1か月前
個人
音声・通知・再配達UX制御構造
1か月前
続きを見る
他の特許を見る