TOP
|
特許
|
意匠
|
商標
特許ウォッチ
Twitter
他の特許を見る
10個以上の画像は省略されています。
公開番号
2025172292
公報種別
公開特許公報(A)
公開日
2025-11-26
出願番号
2024077677
出願日
2024-05-13
発明の名称
仮想展示システム
出願人
株式会社ITP
代理人
個人
主分類
G06T
19/00 20110101AFI20251118BHJP(計算;計数)
要約
【課題】仮想空間における仮想展示において、会場のリアリティを向上させ、ユーザの没入感を高める仮想展示システム及び方法を提供する。
【解決手段】サーバ100から送られるデータに基づいて、ユーザが装着したゴーグル301に仮想空間の画像を表示させる仮想展示システムであって、サーバは、仮想展示用の画像データとして、仮想展示の会場となる仮想空間を表す会場画像及び出展者のブースを表すブース画像を、夫々高解像度の静止画で用意し、また、ブースにおいてユーザに表示するプロモーション動画などの情報提供画像を、高解像度の動画で用意する。これらの画像とは別に、仮想空間内を移動する可動オブジェクト、例えば、会場を往来する人々の動画などを表すオブジェクト動画を、低解像度の動画として用意する。これらのデータを、ユーザ端末300に送信し、重畳して表示させることで人々が往来するなど、仮想展示のリアリティを向上させる。
【選択図】図1
特許請求の範囲
【請求項1】
仮想空間において電子的に構成された仮想展示を行う仮想展示システムであって、
前記仮想空間および前記仮想展示を表す仮想データ、並びに前記仮想空間内での位置が動き得る可動オブジェクトおよびその動きを表すオブジェクトデータを記憶する仮想データ記憶部と、
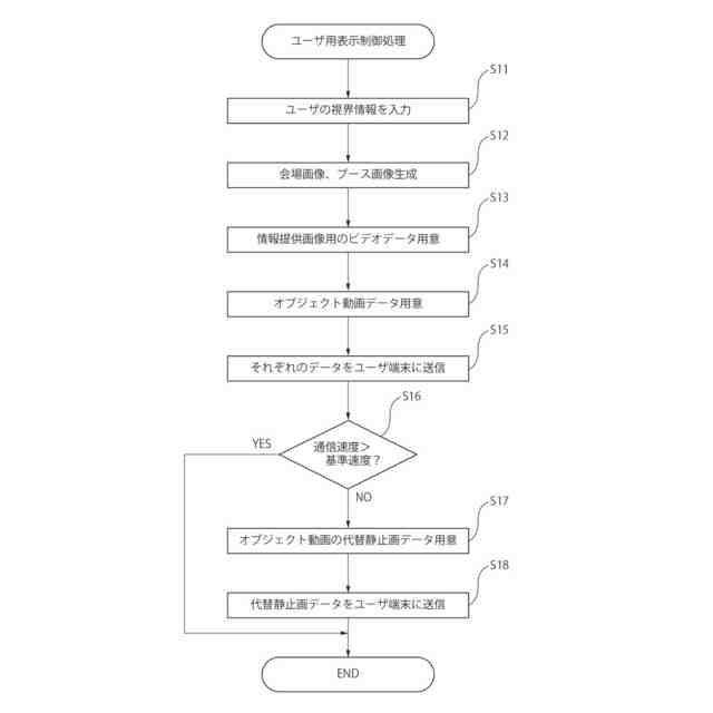
前記仮想展示を閲覧するユーザの前記仮想空間における視界を特定する視界情報を入力する視界情報入力部と、
前記視界情報に基づいて、前記仮想データおよび前記オブジェクトデータを用いて、前記ユーザが使用するユーザ用出力装置に前記仮想展示の画像を表示させるユーザ用表示制御部とを備え、
前記ユーザ用表示制御部は、
前記仮想データに基づいて前記仮想空間および前記仮想展示を表す静止画像としての背景画像を表示させるとともに、
前記オブジェクトデータに基づいて前記背景画像よりも低い解像度で用意されたオブジェクト動画を、前記可動オブジェクト以外を透過した状態で前記背景画像の前面に重畳して表示させる仮想展示システム。
続きを表示(約 1,100 文字)
【請求項2】
請求項1記載の仮想展示システムであって、
前記ユーザ用表示制御部は、
前記背景画像を表示させるためのデータおよび前記オブジェクト動画を表示させるためのデータをそれぞれ前記ユーザ用出力装置に送信し、該ユーザ用出力装置に前記重畳した表示を行わせる仮想展示システム。
【請求項3】
請求項1記載の仮想展示システムであって、
前記ユーザ用表示制御部は、前記オブジェクト動画を、前記仮想空間内の前記可動オブジェクトが存在する所定の領域に限定して表示させる仮想展示システム。
【請求項4】
請求項1記載の仮想展示システムであって、
前記ユーザ用表示制御部は、所定の長さの前記オブジェクト動画を繰り返し表示させる仮想展示システム。
【請求項5】
請求項1記載の仮想展示システムであって、
前記仮想データ記憶部は、複数種類の前記オブジェクトデータを記憶しており、
前記ユーザ用表示制御部は、前記オブジェクトデータのいずれかを切り換えて前記オブジェクト動画を表示させる仮想展示システム。
【請求項6】
請求項4または5記載の仮想展示システムであって、
前記ユーザ用表示制御部は、前記オブジェクト動画に対して、フェードインおよびフェードアウトの一方または双方を施して表示させる仮想展示システム。
【請求項7】
請求項1記載の仮想展示システムであって、
前記ユーザ用表示制御部は、前記オブジェクト動画を表示するためのデータに、前記透過すべき部分を表すアルファチャンネルを設定することにより、前記可動オブジェクト以外を透過した状態の表示を実現する仮想展示システム。
【請求項8】
請求項1記載の仮想展示システムであって、
仮想データ記憶部には、さらに、前記ユーザに情報を提供する情報提供動画を表示するためのビデオデータを記憶しており、
前記ユーザ用表示制御部は、前記仮想空間内の所定の位置に前記情報提供動画を、前記オブジェクト動画よりも背面側に表示する仮想展示システム。
【請求項9】
請求項1記載の仮想展示システムであって、
前記ユーザ用表示制御部は、前記ユーザ用出力装置において前記オブジェクト動画が正常に表示できない状態にある場合、該オブジェクト動画の表示を停止する仮想展示システム。
【請求項10】
請求項1記載の仮想展示システムであって、
前記仮想空間内における前記ユーザの位置は、予め設定された既定位置に規制される仮想展示システム。
(【請求項11】以降は省略されています)
発明の詳細な説明
【技術分野】
【0001】
本発明は、仮想空間をユーザに提示する仮想展示システムに関する。
続きを表示(約 3,200 文字)
【背景技術】
【0002】
昨今、仮想空間により展示会その他のイベントを開催する技術が着目されている。
特許文献1は、閲覧ユーザに対して仮想空間内のデータをヘッドマウントディスプレイなどの三次元ビューワにより閲覧可能な状態で提示するシステムを開示する。閲覧ユーザは、仮想空間内を可動しながら、仮想展示物を閲覧することができる。閲覧ユーザがリクエストをすれば、仮想展示物に関する説明が、文字等で表示されたり、音声で出力されたりする。
特許文献2は、仮想空間を表す全天球パノラマ画像を背景画像とし、仮想区間内にオブジェクトを配置した三次元モデルを投影した画像を、配置することで、任意の位置にオブジェクトを配置した仮想空間を実現する技術を開示している。
【先行技術文献】
【特許文献】
【0003】
特開2022-133109号公報
特許第6852295号公報
【発明の概要】
【発明が解決しようとする課題】
【0004】
仮想空間において仮想展示を行う場合、仮想展示を訪問するユーザに対して、リアリティを向上させ、没入感を与えることが大切となる。現実の展示会では、多数の人が往来するなど、会場の盛況な雰囲気が、展示への興味関心を高める副次的な作用をもたらすこともある。仮想展示においても、リアリティおよび没入感の向上には、こうした副次的な作用が期待される。
しかし、従来の仮想展示システムでは、リアリティおよび没入感の向上には未だ十分に考慮されてはいなかった。仮に、従来技術においても、会場全体の様子を表す背景画像を静止画ではなく、多数の人が往来する状態を表す動画で用意すれば、現実の会場に近い雰囲気を実現することは可能であるが、この場合、ユーザが使用する端末に、動画を配信する必要が生じ、通信速度、トラフィックの問題が生じる。逆に、通信速度等を考慮して、動画を低解像度にすれば、会場全体が粗い画像となり、かえってリアリティを低下させてしまいかねない。
かかる課題は、仮想空間において展示会を開催する場合に限らず、観光その他の自然観察、美術館、博物館、イベント会場、工場その他の施設見学など種々の目的で、ユーザに対して仮想空間を展示する場合に共通の課題である。本発明は、かかる課題を解決し、仮想空間を展示する際に、リアリティおよび没入感を向上させる技術を提供することを目的とする。
【課題を解決するための手段】
【0005】
本発明は、
仮想空間において電子的に構成された仮想展示を行う仮想展示システムであって、
前記仮想空間および前記仮想展示を表す仮想データ、並びに前記仮想空間内での位置が動き得る可動オブジェクトおよびその動きを表すオブジェクトデータを記憶する仮想データ記憶部と、
前記仮想展示を閲覧するユーザの前記仮想空間における視界を特定する視界情報を入力する視界情報入力部と、
前記視界情報に基づいて、前記仮想データおよび前記オブジェクトデータを用いて、前記ユーザが使用するユーザ用出力装置に前記仮想展示の画像を表示させるユーザ用表示制御部とを備え、
前記ユーザ用表示制御部は、
前記仮想データに基づいて前記仮想空間および前記仮想展示を表す静止画像としての背景画像を表示させるとともに、
前記オブジェクトデータに基づいて前記背景画像よりも低い解像度で用意されたオブジェクト動画を、前記可動オブジェクト以外を透過した状態で前記背景画像の前面に重畳して表示させる仮想展示システムとすることができる。
【0006】
本発明によれば、仮想空間および仮想展示の画像を表示させることにより、ユーザに仮想空間内で仮想展示を閲覧しているように認識させることができる。ここで、本発明では、仮想空間や仮想展示を表す背景画像を静止画像で用意し、その前面に可動オブジェクトを表すオブジェクト動画を重畳して表示する。可動オブジェクトとは、例えば、仮想空間内を往来する人々、キャラクター、仮想空間内に浮遊するバルーンその他の浮遊物などである。こうすることにより、ユーザが視認する仮想空間のリアリティを向上させることができ、ユーザに対して没入感を与えることが可能となる。
しかも、本発明では、背景画像を高解像度で用意し、オブジェクト動画を低解像度で用意する。こうすることで、ユーザ用出力装置に送信するデータ容量を抑制しつつ、仮想空間や仮想展示の画像の品質の劣化を回避することができる。
なお、背景画像およびオブジェクト動画の解像度は、相対的なものであり、具体的な解像度は、画質やユーザ用出力装置への通信速度などを踏まえ手任意に決めることができる。
【0007】
本発明において、視界情報とは、仮想空間内での視点の位置、視線方向、画角などとすることができる。入力するのは、これらの一部であってもよい。例えば、仮想展示システムは視界情報として視点の位置を入力し、ユーザ用出力装置が視線方向や画角などを特定して表示を行うようにしてもよい。また、一部の情報は、予め設定した固定値としてもよい。
本発明において、仮想空間および仮想展示は、2次元であっても良いが、3次元とすることにより、臨場感のある展示を行うことができる。また、仮想空間および仮想展示はCG(コンピュータグラフィックス)で提供してもよいし、現実の展示等を撮影した写真・動画・CGで作成した静止画または動画のテクスチャを貼り付けるなどして提供しても良い。仮想空間および仮想展示は、その他種々の方法で提供することができる。
仮想展示は、いわゆる展示会のように商品またはサービスの内容を説明するものの他、観光地の景色、美術館、博覧会、イベント会場など種々の内容とすることができる。
可動オブジェクトは、仮想空間内で位置が動き得るオブジェクトを意味する。先に説明した仮想空間内を往来する人々等の他、動物や鳥、雨、雪、雲、滝や川の流れなど、任意の可動オブジェクトを用いることができる。また、木々が風でなびく様子など、木自体の位置は動かないとしても、その枝葉などが動く場合には、全体を可動オブジェクトと捉えることができる。
【0008】
ユーザ用出力装置は、パーソナルコンピュータ、タブレット、スマートフォンなどのディスプレイとしてもよいし、また頭部に装着するゴーグルやメガネなどを利用してもよい。特にゴーグルやメガネなどを利用する場合には、一層、臨場感が向上する利点がある。
【0009】
本発明において、
前記ユーザ用表示制御部は、
前記背景画像を表示させるためのデータおよび前記オブジェクト動画を表示させるためのデータをそれぞれ前記ユーザ用出力装置に送信し、該ユーザ用出力装置に前記重畳した表示を行わせてもよい。
【0010】
この態様は、ユーザ用出力装置に、背景画像とオブジェクト動画とを個別に送信し、両者を重畳する態様である。こうすることにより、ユーザ用出力装置は、オブジェクト動画をキャッシュして繰り返し使用したり、複数種類のオブジェクト動画をキャッシュして使い分けたり、通信状態が不安定な場合にはオブジェクト動画に代わる静止画を表示させるなどの使い分けを容易に実現することができる利点がある。
もっとも、本発明における表示は、仮想展示システムにおいて、背景画像とオブジェクト画像を重畳したひとまとまりの動画データとしてユーザ用出力装置に配信して表示させる態様を排除するものではない。
(【0011】以降は省略されています)
この特許をJ-PlatPat(特許庁公式サイト)で参照する
関連特許
株式会社ITP
仮想展示システム
3日前
個人
詐欺保険
1か月前
個人
縁伊達ポイン
1か月前
個人
5掛けポイント
22日前
個人
職業自動販売機
15日前
個人
RFタグシート
1か月前
個人
QRコードの彩色
1か月前
個人
ペルソナ認証方式
1か月前
個人
地球保全システム
1か月前
個人
自動調理装置
1か月前
個人
情報処理装置
25日前
個人
残土処理システム
1か月前
個人
表変換編集支援システム
2か月前
個人
農作物用途分配システム
1か月前
個人
インターネットの利用構造
29日前
個人
知的財産出願支援システム
1か月前
個人
サービス情報提供システム
17日前
個人
タッチパネル操作指代替具
1か月前
個人
パスワード管理支援システム
2か月前
個人
行動時間管理システム
2か月前
個人
スケジュール調整プログラム
1か月前
個人
携帯端末障害問合せシステム
1か月前
個人
システム及びプログラム
2か月前
株式会社キーエンス
受発注システム
1か月前
個人
食品レシピ生成システム
1か月前
個人
海外支援型農作物活用システム
2か月前
個人
AIキャラクター制御システム
2か月前
株式会社キーエンス
受発注システム
1か月前
個人
エリアガイドナビAIシステム
1か月前
株式会社キーエンス
受発注システム
1か月前
キヤノン株式会社
表示システム
1か月前
個人
人格進化型対話応答制御システム
2か月前
個人
社会還元・施設向け供給支援構造
2か月前
個人
未来型家系図構築システム
2か月前
個人
音声対話型帳票生成支援システム
2か月前
個人
SaaS型勤務調整支援システム
2か月前
続きを見る
他の特許を見る