TOP
|
特許
|
意匠
|
商標
特許ウォッチ
Twitter
他の特許を見る
公開番号
2025171614
公報種別
公開特許公報(A)
公開日
2025-11-20
出願番号
2024077130
出願日
2024-05-10
発明の名称
画像認識装置
出願人
キヤノン株式会社
代理人
個人
主分類
G06F
3/01 20060101AFI20251113BHJP(計算;計数)
要約
【課題】 ジェスチャ認識において、対象部位が一部隠れてしまい、隠れた対象部位の検出が予測値となるためにジェスチャの認識精度が落ちてしまう環境においても、ジェスチャ認識可能なジェスチャ認識装置を提供する。
【解決手段】 撮影された検出データを取得する取得手段と、前記取得した検出データから、ジェスチャを行う複数の点から構成される対象部位群を抽出する対象部位抽出手段と、対象部位抽出手段で抽出した対象部位群のひとつひとつに隠れか否かを示す隠れ情報を検出する隠れ検出手段と、前記抽出した対象部位群からジェスチャを認識するジェスチャ検出手段と、を有し、前記ジェスチャ検出手段は、前記対象部位群、及び、前記隠れ情報を用いてジェスチャ検出する、ことを特徴とする構成とした。
【選択図】 図4
特許請求の範囲
【請求項1】
撮影した検出データからジェスチャを検出するジェスチャ認識装置であって、
撮影された検出データを取得する取得手段と、
前記取得した検出データから、ジェスチャを行う複数の点から構成される対象部位群を抽出する対象部位抽出手段と、
対象部位抽出手段で抽出した対象部位群のひとつひとつに隠れか否かを示す隠れ情報を検出する隠れ検出手段と、
前記抽出した対象部位群からジェスチャを認識するジェスチャ検出手段と、を有し、
前記ジェスチャ検出手段は、前記対象部位群、及び、前記隠れ情報を用いてジェスチャ検出することを特徴とするジェスチャ認識装置。
続きを表示(約 280 文字)
【請求項2】
前記ジェスチャ検出手段は、前記対象部位群のうち前記隠れ情報から隠れていないことがわかる対象部位のみを用いてジェスチャ検出を行うことを特徴とする請求項1に記載のジェスチャ認識装置。
【請求項3】
前記ジェスチャ検出手段は、全ての前記対象部位群を用いてジェスチャ検出を行うことを特徴とする請求項1に記載のジェスチャ認識装置。
【請求項4】
前記ジェスチャ検出手段は、前記隠れ情報から、前記対象部位群のうち隠れ禁止部位が隠れていないことを判定してジェスチャ検出を行うことを特徴とする請求項1に記載のジェスチャ認識装置。
発明の詳細な説明
【技術分野】
【0001】
本発明は、画像認識に関し、特にジェスチャ認識装置に関するものである。
続きを表示(約 1,500 文字)
【背景技術】
【0002】
近年、ユーザの手指等によるジェスチャを認識し、これにより種々の操作を受け付けるようにしたジェスチャ認識装置が開発されている。ジェスチャ認識により、ユーザは機器の前でジェスチャ動作をするだけで、入力デバイスを直接操作することなく任意の操作を入力することができる。このようなジェスチャ認識のために、ユーザの手指関節等の部位群の検出を行う。しかし、対象となる部位が他の手指などで一部隠れてしまい、隠れた対象部位の検出が予測値となるためにジェスチャの認識精度が落ちてしまうことがある。隠れた対象部位の検出のためにモーションキャプチャ等画像以外の情報を用いるアプローチもあるが、専用の機器が必要であり、利用可能な環境が限定されてしまう。
【0003】
例えば特許文献1では、時系列の画像データを用いて時系列情報を生成することで隠れた手指関節点情報を取得する方法を開示している。
【0004】
また特許文献2では、ユーザが専用コントローラを装着することでユーザの手指の形状を利用した操作をより確実に検出する方法を開示している。
【先行技術文献】
【特許文献】
【0005】
特開2019-139517号公報
特開2020-91904号公報
【発明の概要】
【発明が解決しようとする課題】
【0006】
しかしながら、上述の特許文献1に開示された従来技術ではエッジデバイスによるジェスチャ認識において時系列の画像データを扱う処理は負荷が大きいという問題がある。また、特許文献2のようにコントローラなどの専用機器を必要とするアプローチはジェスチャ認識利用時の環境の制約となってしまう。
【0007】
そこで、本発明の目的は、対象部位が隠れていてもジェスチャ認識を可能にしたジェスチャ認識装置を提供することである。
【課題を解決するための手段】
【0008】
上記目的を達成するために、本発明は、撮影した検出データからジェスチャを検出するジェスチャ認識装置において、撮影された検出データを取得する取得手段と、前記取得した検出データから、ジェスチャを行う複数の点から構成される対象部位群を抽出する対象部位抽出手段と、対象部位抽出手段で抽出した対象部位群のひとつひとつに隠れか否かを示す隠れ情報を検出する隠れ検出手段と、前記抽出した対象部位群からジェスチャを認識するジェスチャ検出手段と、を有し、前記ジェスチャ検出手段は、前記対象部位群、及び、前記隠れ情報を用いてジェスチャ検出することを特徴とする。
【発明の効果】
【0009】
本発明によれば、隠れた関節点などの情報が不要なジェスチャでは誤検出を減らし、かつ、隠れた点も用いたジェスチャを利用することも可能となるジェスチャ認識装置を提供することができる。
【図面の簡単な説明】
【0010】
本発明の実施形態における構成図である。
本発明の実施形態における手の位置と指の関節点の検出例を示す図である。
本発明の実施形態におけるハンドジェスチャと指の関節点および指の関節点の隠れ情報の例を示す図である。
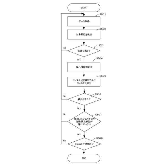
本発明の第1の実施例におけるジェスチャ認識方法を示すフローチャートである。
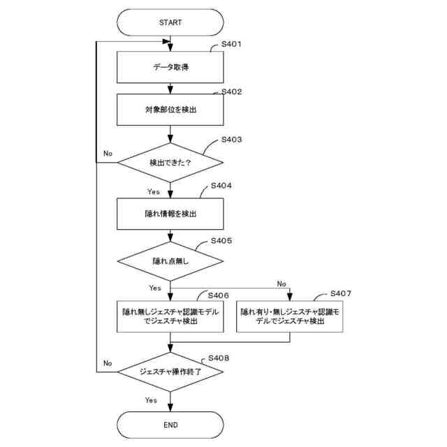
本発明の第2の実施例におけるジェスチャ認識方法を示すフローチャートである。
【発明を実施するための形態】
(【0011】以降は省略されています)
この特許をJ-PlatPat(特許庁公式サイト)で参照する
関連特許
キヤノン株式会社
容器
1か月前
キヤノン株式会社
容器
1か月前
キヤノン株式会社
トナー
1か月前
キヤノン株式会社
トナー
1か月前
キヤノン株式会社
記録装置
6日前
キヤノン株式会社
電子機器
28日前
キヤノン株式会社
定着装置
26日前
キヤノン株式会社
撮像装置
12日前
キヤノン株式会社
表示装置
12日前
キヤノン株式会社
表示装置
12日前
キヤノン株式会社
電子機器
1日前
キヤノン株式会社
定着装置
26日前
キヤノン株式会社
撮像装置
5日前
キヤノン株式会社
撮像装置
5日前
キヤノン株式会社
記録装置
26日前
キヤノン株式会社
定着装置
26日前
キヤノン株式会社
発光装置
12日前
キヤノン株式会社
電子機器
5日前
キヤノン株式会社
撮像装置
28日前
キヤノン株式会社
撮像装置
1か月前
キヤノン株式会社
撮像装置
14日前
キヤノン株式会社
表示装置
1か月前
キヤノン株式会社
撮像装置
1か月前
キヤノン株式会社
撮像装置
1か月前
キヤノン株式会社
雲台装置
1か月前
キヤノン株式会社
撮像装置
1か月前
キヤノン株式会社
表示装置
5日前
キヤノン株式会社
撮像装置
5日前
キヤノン株式会社
撮像装置
5日前
キヤノン株式会社
二次電池
7日前
キヤノン株式会社
電子機器
1か月前
キヤノン株式会社
記録装置
1か月前
キヤノン株式会社
電子機器
1か月前
キヤノン株式会社
測距装置
1か月前
キヤノン株式会社
記録装置
1か月前
キヤノン株式会社
記録装置
1か月前
続きを見る
他の特許を見る