TOP
|
特許
|
意匠
|
商標
特許ウォッチ
Twitter
他の特許を見る
10個以上の画像は省略されています。
公開番号
2025167013
公報種別
公開特許公報(A)
公開日
2025-11-07
出願番号
2024071263
出願日
2024-04-25
発明の名称
記録装置
出願人
キヤノン株式会社
代理人
弁理士法人秀和特許事務所
主分類
B41J
2/01 20060101AFI20251030BHJP(印刷;線画機;タイプライター;スタンプ)
要約
【課題】高温の空気が乾燥部から漏出することを抑制する。
【解決手段】記録媒体を搬送方向に搬送する搬送機構と、搬送方向に搬送される記録媒体の記録面に液体を吐出して画像を記録する記録部と、記録部より搬送方向の下流側で記録媒体に対向し、記録面に高温の空気を吹き付けて記録面上の液体を乾燥させる乾燥部と、搬送方向における記録部と乾燥部の間の位置で記録媒体に対向し、記録面に向けて、且つ搬送方向の下流側に空気を送風するための送風口と、搬送方向における記録部と送風口の間の位置で記録媒体に対向し、記録面との間の空気を吸い込むための吸気口と、を備える。
【選択図】図13
特許請求の範囲
【請求項1】
記録媒体を搬送方向に搬送する搬送機構と、
前記搬送方向に搬送される記録媒体の記録面に液体を吐出して画像を記録する記録部と、
前記記録部より前記搬送方向の下流側で記録媒体に対向し、前記記録面に高温の空気を吹き付けて記録面上の液体を乾燥させる乾燥部と、
前記搬送方向における前記記録部と前記乾燥部の間の位置で記録媒体に対向し、前記記録面に向けて、且つ前記搬送方向の下流側に空気を送風するための送風口と、
前記搬送方向における前記記録部と前記送風口の間の位置で記録媒体に対向し、前記記録面との間の空気を吸い込むための吸気口と、
を備えることを特徴とする記録装置。
続きを表示(約 1,100 文字)
【請求項2】
前記送風口が、複数設けられたノズル面を備え、
前記ノズル面は、前記搬送方向の下流側に向かうにつれて、前記ノズル面に対向する記録媒体の記録面との間の間隔が広がるように、前記記録面に対して傾いていることを特徴とする請求項1に記載の記録装置。
【請求項3】
前記ノズル面と記録媒体の記録面のなす角は9°以上、10°以下であることを特徴とする請求項2に記載の記録装置。
【請求項4】
前記送風口と前記吸気口が形成されたダクトカバーと、前記ダクトカバーの内部に設けられ、前記吸気口から吸い込んだ空気を取り込んで前記送風口を介して記録媒体に送風する送風ファンと、により構成されるダクトユニットを備えることを特徴とする請求項1に記載の記録装置。
【請求項5】
前記ダクトユニットは、前記ダクトカバーと前記送風ファンとの間の隙間を塞ぐ封止部材を有することを特徴とする請求項4に記載の記録装置。
【請求項6】
前記乾燥部が設けられた空間と、前記ダクトユニットが設けられた空間とを仕切る隔壁であって、記録媒体が通過するための開口が形成された隔壁を備えることを特徴とする請求項4に記載の記録装置。
【請求項7】
前記ダクトユニットが内部に設けられる空間を形成する第1外装部と、前記乾燥部が内部に設けられる空間を形成する第2外装部であって、前記第1外装部との間に隙間を空けて配置される第2外装部と、を備え、
前記第1外装部の前記搬送方向の下流側の隔壁は、前記搬送方向の下流側に突出する第1凸部を有し、
前記第2外装部の前記搬送方向の上流側の隔壁は、前記搬送方向の上流側に突出する第2凸部であって、記録媒体の記録面に垂直な方向に見たときに、前記第1凸部と重なる位置に配置される第2凸部を有することを特徴とする請求項4に記載の記録装置。
【請求項8】
前記吸気口には、空気を通し、異物をキャッチするフィルター部材が設けられていることを特徴とする請求項4に記載の記録装置。
【請求項9】
前記フィルター部材は、前記ダクトカバーから前記搬送機構に搬送される記録媒体の幅方向に引き出し可能に構成されていることを特徴とする請求項8に記載の記録装置。
【請求項10】
前記乾燥部は、空気を加熱するヒータと、前記ヒータにより加熱された空気を前記記録面に向けて送る送風機を備えることを特徴とする請求項1に記載の記録装置。
(【請求項11】以降は省略されています)
発明の詳細な説明
【技術分野】
【0001】
本発明は、記録部と乾燥部を備える記録装置に関する。
続きを表示(約 1,900 文字)
【背景技術】
【0002】
記録媒体にインク等の液体を吐出して記録動作を行う記録装置として、記録媒体に液体を吐出する記録部と、液体が吐出された記録媒体に高温の空気を吹き付けて乾燥させる乾燥部と、を備える構成が知られている。
【0003】
特許文献1には、枚葉印刷を行う印刷機において、乾燥部の熱風が周囲の装置に与える影響を抑えるために、熱風を放射するノズルと、温風を放射するノズルの2種類のノズルを乾燥部に設けた構成が開示されている。この構成においては、温風が熱風を押し戻し、熱風の拡散を封じ込むためのエアカーテンとして機能する。
【先行技術文献】
【特許文献】
【0004】
特開2012-20507号公報
【発明の概要】
【発明が解決しようとする課題】
【0005】
しかし、上述の構成では、必ずしも乾燥部の高温の空気が漏出することを抑制できるとは言い切れない。例えば、ロール状に巻かれた連続シートの記録媒体を乾燥させる場合、枚葉の記録媒体と比べて、乾燥部から吹き出した高温の空気が記録媒体に沿って流れやすい。したがって、上述の通り単に空気を放射して熱風を押し戻す構成では、熱風が記録媒体に沿って流れて周囲に漏出するおそれがある。例えば、乾燥部の近傍に設けられた記録部に高温の空気が侵入すると、画質や記録部の耐久性に悪影響を及ぼす可能性がある。
【0006】
上述の課題を解決するため、本発明は、高温の空気が乾燥部から漏出することを抑制することを目的とする。
【課題を解決するための手段】
【0007】
上述の目的を達成するため、本発明の記録装置は、
記録媒体を搬送方向に搬送する搬送機構と、
前記搬送方向に搬送される記録媒体の記録面に液体を吐出して画像を記録する記録部と、
前記記録部より前記搬送方向の下流側に位置し、前記搬送方向に搬送される記録媒体の記録面に高温の空気を吹き付けて記録面上の液体を乾燥させる乾燥部と、
前記搬送方向において前記記録部と前記乾燥部の間で、前記搬送方向に搬送される記録媒体に対向する位置に配置され、記録媒体に向けて、且つ前記搬送方向の下流側に空気を送風するための送風口と、
前記搬送方向における前記記録部と前記送風口の間の位置であって、前記搬送方向に搬送される記録媒体に対向する位置に配置され、記録媒体の記録面との間の空気を吸い込むための吸気口と、
を備えることを特徴とする。
【発明の効果】
【0008】
本発明によれば、高温の空気が乾燥部から漏出することを抑制できる。
【図面の簡単な説明】
【0009】
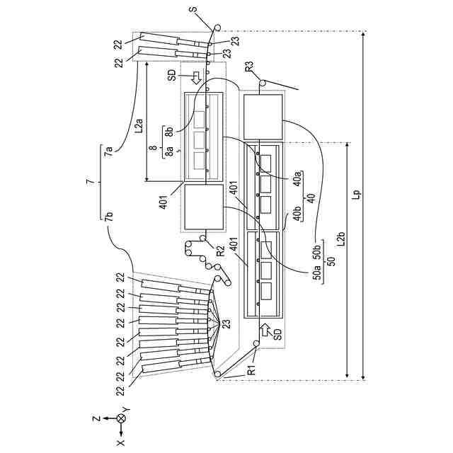
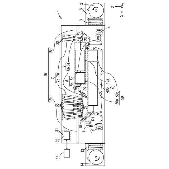
記録装置の内部構成を示す概略図である。
記録部のシート搬送部筐体の斜視図である。
記録ヘッド昇降機構の斜視図である。
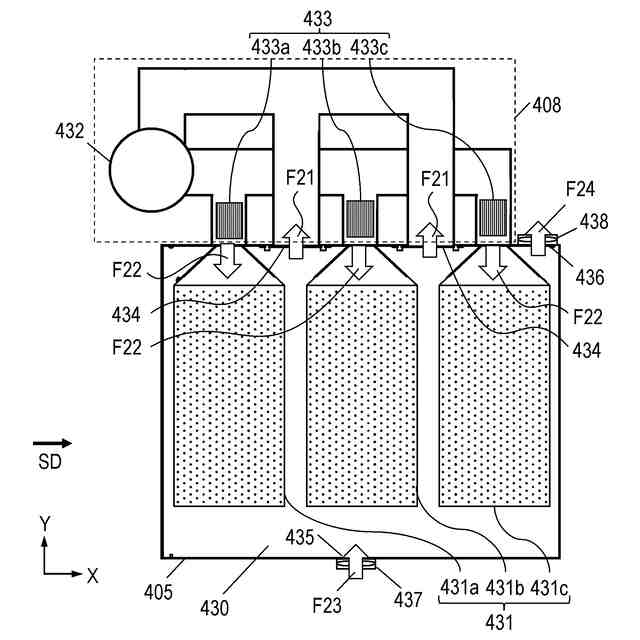
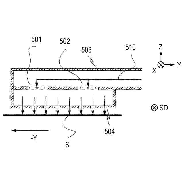
乾燥部の内部構成を示す断面図である。
乾燥部の気流空間の概略平面図である。
冷却部の気流ダクトの概略断面図である。
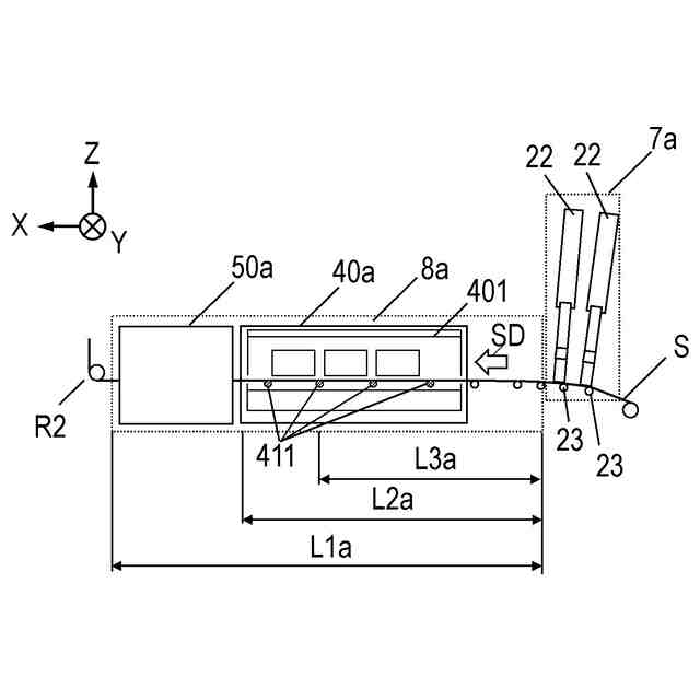
第1記録工程部の構成を示す概略図である。
第1記録工程部と第2記録工程部の位置関係を示す概略図である。
制御部のブロック図である。
エアカーテンの斜視図である。
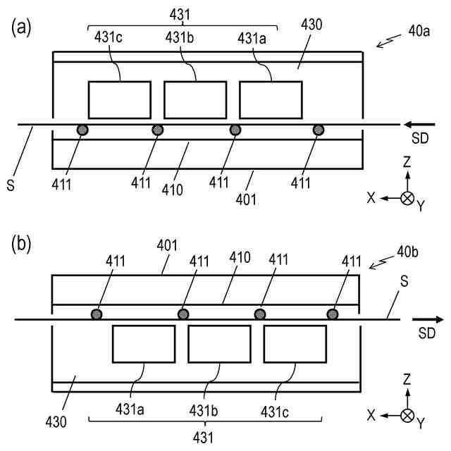
第1ノズルの斜視図である。
エアカーテンのXZ平面の断面を示す斜視図である。
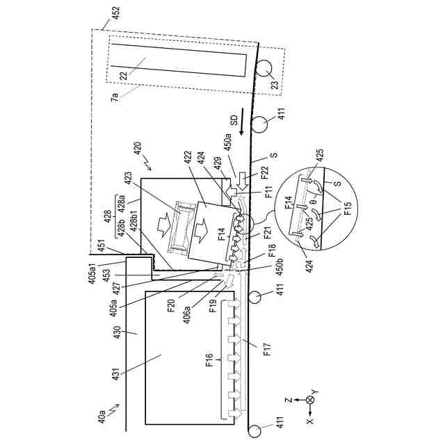
第1乾燥部から流れる空気の流れの説明図である。
吸気口の交換方法の説明図である。
記録装置が複数の筐体に分割して構成された例を示す概略図である。
エアカーテンが筐体に取り付けられている様子を示す斜視図である。
エアカーテンの配置位置の説明図である。
エアカーテンの交換方法の説明図である。
【発明を実施するための形態】
【0010】
以下、図面を参照して本発明の実施の形態を具体的に説明する。なお、以下の実施形態に記載されている構成要素はあくまで例示であり、本発明の趣旨を逸脱しない範囲において本発明が適用される装置の構成や各種条件は適宜修正又は変更可能であり、以下の実施形態に限定されるものではない。例えば、以下の実施形態に記載されている構成部品の寸法、材質、形状、それらの相対配置などは、本発明が適用される装置の構成や各種条件により適宜変更可能で、特段の記載がない限り、本発明は以下の実施形態に限定されるものではない。
(【0011】以降は省略されています)
この特許をJ-PlatPat(特許庁公式サイト)で参照する
関連特許
キヤノン株式会社
容器
1か月前
キヤノン株式会社
容器
1か月前
キヤノン株式会社
トナー
1か月前
キヤノン株式会社
トナー
1か月前
キヤノン株式会社
トナー
22日前
キヤノン株式会社
トナー
1か月前
キヤノン株式会社
トナー
1か月前
キヤノン株式会社
トナー
1か月前
キヤノン株式会社
定着装置
15日前
キヤノン株式会社
記録装置
1か月前
キヤノン株式会社
定着装置
9日前
キヤノン株式会社
撮像装置
1日前
キヤノン株式会社
撮像装置
22日前
キヤノン株式会社
記録装置
22日前
キヤノン株式会社
撮像装置
1か月前
キヤノン株式会社
表示装置
1日前
キヤノン株式会社
雲台装置
22日前
キヤノン株式会社
撮像装置
1か月前
キヤノン株式会社
撮像装置
1か月前
キヤノン株式会社
電子機器
22日前
キヤノン株式会社
撮像装置
3日前
キヤノン株式会社
撮像装置
1か月前
キヤノン株式会社
測距装置
24日前
キヤノン株式会社
電子機器
22日前
キヤノン株式会社
撮像装置
1日前
キヤノン株式会社
表示装置
1日前
キヤノン株式会社
測距装置
1か月前
キヤノン株式会社
電子機器
1か月前
キヤノン株式会社
定着装置
1か月前
キヤノン株式会社
表示装置
1日前
キヤノン株式会社
記録装置
22日前
キヤノン株式会社
記録装置
1か月前
キヤノン株式会社
表示装置
1か月前
キヤノン株式会社
記録装置
15日前
キヤノン株式会社
定着装置
15日前
キヤノン株式会社
撮像装置
1か月前
続きを見る
他の特許を見る