TOP
|
特許
|
意匠
|
商標
特許ウォッチ
Twitter
他の特許を見る
公開番号
2025164314
公報種別
公開特許公報(A)
公開日
2025-10-30
出願番号
2024068177
出願日
2024-04-19
発明の名称
表示装置
出願人
キヤノン株式会社
代理人
弁理士法人秀和特許事務所
主分類
H04N
5/64 20060101AFI20251023BHJP(電気通信技術)
要約
【課題】表示部と装着部とが意図せず外れることを抑制しつつ、簡便な操作による表示部と装着部との着脱を可能にする技術を提供する。
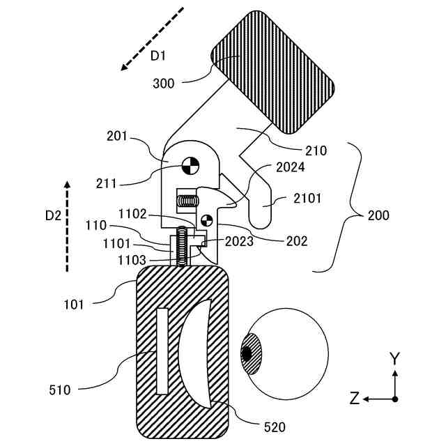
【解決手段】表示部がユーザの眼前で保持されるように表示部と装着部との間を連結する連結ユニットを備える表示装置において、連結ユニットは、表示部と装着部のうちの一方に固定され、被係合部を有する第1連結部と、表示部と装着部のうちの他方に固定される第2連結部と、第2連結部に相対位置を可変に取り付けられ、被係合部に係合可能な係合部を有する可動部と、可動部に設けられた、被係合部と係合部との間の係合・非係合を操作するための操作部と、を備え、表示部と装着部は、第2連結部に対する可動部の変位によって、第1相対位置と、第1相対位置のときよりも第2連結部と操作部とが互いに離れる第2相対位置と、を取り得るように構成されている。
【選択図】図4
特許請求の範囲
【請求項1】
画像を表示する表示部と、
ユーザの身体に固定される装着部と、
前記表示部がユーザの眼前で保持されるように前記表示部と前記装着部との間を連結する連結ユニットと、
を備える表示装置において、
前記連結ユニットは、
前記表示部と前記装着部のうちの一方に固定され、被係合部を有する第1連結部と、
前記表示部と前記装着部のうちの他方に固定される第2連結部と、
前記第2連結部に相対位置を可変に取り付けられ、前記被係合部に係合可能な係合部を有する可動部と、
前記可動部に設けられた、前記被係合部と前記係合部との間の係合・非係合を操作するための操作部と、
を備え、
前記表示部と前記装着部は、前記第2連結部に対する前記可動部の変位によって、第1相対位置と、前記第1相対位置のときよりも前記第2連結部と前記操作部とが互いに離れる第2相対位置と、を取り得るように構成されていることを特徴とする表示装置。
続きを表示(約 1,500 文字)
【請求項2】
前記第2連結部は、カバー部を有し、
前記カバー部は、前記操作部に対して、
前記表示部と前記装着部が前記第1相対位置にあるときに、前記操作部を覆うカバー位置を取り、
前記表示部と前記装着部が前記第2相対位置にあるときに、前記カバー位置よりも前記操作部から離れた非カバー位置を取るように、前記第2連結部に設けられている請求項1に記載の表示装置。
【請求項3】
前記カバー位置は、前記操作部に対するユーザの操作を規制する規制位置であり、
前記非カバー位置は、前記操作部に対するユーザの操作を許容する許容位置である請求項2に記載の表示装置。
【請求項4】
前記操作部は、前記可動部におけるユーザの頭部に対向する側に設けられ、
前記カバー部は、前記第2連結部におけるユーザの頭部に対向する側から、前記操作部とユーザの顔面との間に突出するように設けられている請求項2に記載の表示装置。
【請求項5】
前記カバー部は、前記第1相対位置にある前記表示部がさらにユーザの眼に近づく方向に移動することを規制するように前記表示部と当接可能に構成されている請求項4に記載の表示装置。
【請求項6】
前記係合部と前記被係合部の係合・非係合は、前記操作部が所定の操作方向に押圧されることで操作され、
前記カバー位置は、前記カバー部が前記操作部に対して前記操作方向に対向する位置であり、
前記非カバー位置は、前記カバー部が前記操作部に対して前記対向する位置から外れた位置である請求項2に記載の表示装置。
【請求項7】
前記係合部と前記被係合部の係合・非係合は、前記操作部が所定の操作方向に押圧されることで操作され、
前記カバー位置は、前記操作方向に見たときに、前記カバー部が前記操作部とオーバーラップする位置であり、
前記非カバー位置は、前記操作方向に見たときに、前記カバー部が前記操作部とオーバーラップしない位置である請求項2に記載の表示装置。
【請求項8】
前記係合部と前記被係合部の係合・非係合は、前記操作部が所定の操作方向に押圧されることで操作され、
前記可動部は、前記係合部と前記操作部が設けられたレバー部材を有し、
前記レバー部材は、前記操作部が前記操作方向に押圧されることでと、前記可動部における姿勢が、前記係合部が前記被係合部と係合可能な第1姿勢から、前記係合部が前記被係合部と係合しない第2姿勢へ変化するように、前記可動部に設けられている請求項1に記載の表示装置。
【請求項9】
前記レバー部材は、前記可動部に対して回転可能に設けられており、
前記可動部は、前記レバー部材の姿勢が前記第2姿勢から前記第1姿勢に変化する回転方向に回転させるように前記レバー部材を付勢する第1付勢手段を有し、
前記連結ユニットは、前記第1連結部と前記可動部との間に互いを離隔させる付勢力を付与する第2付勢手段を有する請求項8に記載の表示装置。
【請求項10】
前記第1相対位置は、前記装着部がユーザの頭部に装着されている状態において、前記表示部がユーザの眼に対向する第1位置を取る相対位置であり、
前記第2相対位置は、前記装着部がユーザの頭部に装着されている状態において、前記表示部がユーザの眼に対して前記第1位置よりも離れた第2位置を取る相対位置である請求項1に記載の表示装置。
(【請求項11】以降は省略されています)
発明の詳細な説明
【技術分野】
【0001】
本発明は、XR(Extended reality/cross reality)体験を可能とするXRデバイスとしてのヘッドマウントディスプレイ(以下、HMDと記す)などの表示装置に関する。特に、本発明は、HMDにおける表示部と装着部の連結機構の構成に関する。
続きを表示(約 2,900 文字)
【背景技術】
【0002】
従来のHMDにおいて、例えば表示部に対して頭部装着形態に適した装着部と、手持ち形態に適した装着部と、を付け替え可能として、ユーザーの使用状況に適した使い方を可能とした構成が知られている。かかる構成においては、表示部と装着部の付け替えを簡便化するために、一方を他方に押し込むといった単純な一動作で固定され付け替えが完了する構成が望ましい。このとき、HMDの使用中には表示部と装着部の固定保持が外れることなく、一方で装着部を付け替える意図を持って操作したら容易に取り外せるようにするため、連結解除レバーを押し込むと固定保持が解除されるような機構が求められる。
【0003】
HMDに限らず、例えば、特許文献1に開示されるPCディスプレイでは、ディスプレイの固定方法として、ロッキング部材を弾性部材によって付勢し、連結解除レバーをもって解除・取り外しをする機構が設けられている。また、特許文献2に開示されるPCディスプレイでは、ディスプレイを磁石によって吸着し引き込むことで本体に固定する構成が採用されている。
【先行技術文献】
【特許文献】
【0004】
特開2001-154760号公報
特開2016-48520号公報
【発明の概要】
【発明が解決しようとする課題】
【0005】
しかしながら、上述の特許文献1に開示された構成では、連結解除レバーの駆動とディスプレイの取り外しという複数の操作が必要となるため、解除のために手間がかかるという課題がある。また、上述の特許文献2に開示された構成では、機構的に引っかかる構造がないため、意図しない引きはがし力や衝撃が加わったときに外れやすいという課題がある。
【0006】
本発明の目的は、表示部と装着部とが意図せず外れることを抑制しつつ、簡便な操作による表示部と装着部との着脱を可能にする技術を提供することである。
【課題を解決するための手段】
【0007】
上記目的を達成するために、本発明における表示装置は、
画像を表示する表示部と、
ユーザの身体に固定される装着部と、
前記表示部がユーザの眼前で保持されるように前記表示部と前記装着部との間を連結する連結ユニットと、
を備える表示装置において、
前記連結ユニットは、
前記表示部と前記装着部のうちの一方に固定され、被係合部を有する第1連結部と、
前記表示部と前記装着部のうちの他方に固定される第2連結部と、
前記第2連結部に相対位置を可変に取り付けられ、前記被係合部に係合可能な係合部を有する可動部と、
前記可動部に設けられた、前記被係合部と前記係合部との間の係合・非係合を操作するための操作部と、
を備え、
前記表示部と前記装着部は、前記第2連結部に対する前記可動部の変位によって、第1相対位置と、前記第1相対位置のときよりも前記第2連結部と前記操作部とが互いに離れる第2相対位置と、を取り得るように構成されていることを特徴とする。
また、上記目的を達成するために、本発明における表示装置は、
画像を表示する表示部と、
ユーザの身体に固定される装着部と、
前記表示部がユーザの眼前で保持されるように前記表示部と前記装着部との間を連結する連結ユニットと、
を備える表示装置において、
前記連結ユニットは、
前記表示部と前記装着部のうちの一方に固定され、被係合部を有する第1連結部と、
前記表示部と前記装着部のうちの他方に固定される第2連結部と、
前記第2連結部に対して相対位置を可変に取り付けられ、前記被係合部に係合可能な係合部を有する可動部と、
前記可動部に設けられた、前記被係合部と前記係合部との間の係合・非係合を操作するための操作部と、
を備え、
前記第2連結部は、カバー部を有し、
前記表示部と前記装着部は、前記第2連結部に対する前記可動部の変位によって、前記カバー部が前記操作部を覆う第1相対位置と、前記カバー部が前記操作部を覆わない第2相対位置と、を取り得るように構成されていることを特徴とする。
また、上記目的を達成するために、本発明における表示装置は、
画像を表示する表示部と、
ユーザの身体に固定される装着部と、
前記表示部がユーザの眼前で保持されるように前記表示部と前記装着部との間を連結する連結ユニットと、
を備える表示装置において、
前記連結ユニットは、
前記表示部と前記装着部のうちの一方に固定され、被係合部を有する第1連結部と、
前記表示部と前記装着部のうちの他方に固定される第2連結部と、
前記第2連結部に対して相対位置を可変に取り付けられ、前記被係合部に係合可能な係合部を有する可動部と、
前記可動部に設けられた、前記被係合部と前記係合部との間の係合・非係合を操作するための操作部と、
を備え、
前記第2連結部は、カバー部を有し、
前記係合部と前記被係合部の係合・非係合は、前記操作部が所定の操作方向に押圧されることで操作され、
前記表示部と前記装着部は、前記第2連結部に対する前記可動部の変位によって、前記操作方向に見たときに前記カバー部が前記操作部とオーバーラップする第1相対位置と、前記操作方向に見たときに前記カバー部が前記操作部とオーバーラップする範囲が前記第1相対位置のときよりも小さくなる第2相対位置と、を取り得るように構成されていることを特徴とする。
【発明の効果】
【0008】
本発明によれば、表示部と装着部とが意図せず外れることを抑制しつつ、簡便な操作による表示部と装着部との着脱が可能となる。
【図面の簡単な説明】
【0009】
本発明の実施形態に係るHMDをユーザが装着した様子の外観斜視図
ユーザがディスプレイ本体をのぞき込んでいる状態の水平断面図
ディスプレイ本体と装着部とを連結する連結機構ユニットの模式的断面図
ディスプレイ本体と装着部とを連結する連結機構ユニットの模式的断面図
装着部側結合部と連結機構ユニットの位置関係を表した模式図
【発明を実施するための形態】
【0010】
以下の実施例において、本開示における実施形態を、例示的に説明する。ただし、以下の実施例に開示された構成、例えば、部品の機能、材質、形状、その相対配置は、特許請求の範囲と関連する形態の一例を示すものであり、特許請求の範囲をこれら実施例に開示された構成に限定する趣旨のものではない。また、以下の実施例に開示された構成が解決する課題もしくは開示された構成から得られる作用又は効果は、特許請求の範囲を限定する趣旨のものではない。
(【0011】以降は省略されています)
この特許をJ-PlatPat(特許庁公式サイト)で参照する
関連特許
キヤノン株式会社
容器
1か月前
キヤノン株式会社
容器
1か月前
キヤノン株式会社
トナー
22日前
キヤノン株式会社
トナー
1か月前
キヤノン株式会社
電子機器
22日前
キヤノン株式会社
撮像装置
1日前
キヤノン株式会社
撮像装置
23日前
キヤノン株式会社
定着装置
15日前
キヤノン株式会社
現像装置
1か月前
キヤノン株式会社
測距装置
24日前
キヤノン株式会社
撮像装置
1日前
キヤノン株式会社
記録装置
22日前
キヤノン株式会社
撮像装置
22日前
キヤノン株式会社
雲台装置
22日前
キヤノン株式会社
電子機器
22日前
キヤノン株式会社
表示装置
1日前
キヤノン株式会社
定着装置
9日前
キヤノン株式会社
記録装置
22日前
キヤノン株式会社
撮像装置
9日前
キヤノン株式会社
撮像装置
9日前
キヤノン株式会社
撮像装置
3日前
キヤノン株式会社
撮像装置
1か月前
キヤノン株式会社
撮像装置
1か月前
キヤノン株式会社
撮像装置
1か月前
キヤノン株式会社
定着装置
9日前
キヤノン株式会社
記録装置
1か月前
キヤノン株式会社
表示装置
1日前
キヤノン株式会社
表示装置
1日前
キヤノン株式会社
定着装置
15日前
キヤノン株式会社
定着装置
15日前
キヤノン株式会社
撮像装置
1か月前
キヤノン株式会社
電子機器
17日前
キヤノン株式会社
撮像装置
17日前
キヤノン株式会社
発光装置
1日前
キヤノン株式会社
記録装置
15日前
キヤノン株式会社
表示装置
1か月前
続きを見る
他の特許を見る