TOP
|
特許
|
意匠
|
商標
特許ウォッチ
Twitter
他の特許を見る
10個以上の画像は省略されています。
公開番号
2025176652
公報種別
公開特許公報(A)
公開日
2025-12-04
出願番号
2024082952
出願日
2024-05-21
発明の名称
記録装置
出願人
キヤノン株式会社
代理人
個人
,
個人
,
個人
,
個人
,
個人
主分類
B41J
2/165 20060101AFI20251127BHJP(印刷;線画機;タイプライター;スタンプ)
要約
【課題】 キャップ内の吸収体に洗浄液を適切に供給し、吸収体の固着を抑制することができる記録装置の提供。
【解決手段】 記録ヘッドをキャップするキャップ機構を有する記録装置である。キャップ機構が、吸収体、及び吸収体とキャップに接触する長尺状の流路形成手段を有し、流路形成手段が、吸収体に液体を供給する吸収体供給口を有し、吸収体供給口が、流路形成手段の長手方向の両端に設けられる。
【選択図】 図6
特許請求の範囲
【請求項1】
記録ヘッドをキャップするキャップ機構を有する記録装置において、
前記キャップ機構が、吸収体、及び前記吸収体と前記キャップに接触する長尺状の流路形成手段を有し、
前記流路形成手段が、前記吸収体に液体を供給する吸収体供給口を有し、
前記吸収体供給口が、前記流路形成手段の長手方向の両端に設けられることを特徴とする記録装置。
続きを表示(約 700 文字)
【請求項2】
前記流路形成手段が、前記液体を前記キャップ機構の外へ排出するキャップ排出口を有し、
前記吸収体供給口の断面積が、前記キャップ排出口の断面積よりも大きい請求項1に記載の記録装置。
【請求項3】
前記流路形成手段が、前記吸収体から前記液体を排出するための吸収体排出口を有し、
前記キャップ排出口が、前記吸収体排出口から排出された前記液体を前記キャップ機構の外へ排出する請求項2に記載の記録装置。
【請求項4】
前記吸収体排出口が、前記吸収体と接触するように設けられる請求項3に記載の記録装置。
【請求項5】
前記吸収体排出口が、前記流路形成手段の長手方向に複数設けられる請求項3に記載の記録装置。
【請求項6】
前記吸収体供給口の断面積が、前記吸収体排出口の断面積よりも大きい請求項3に記載の記録装置。
【請求項7】
前記吸収体供給口が、前記流路形成手段の長手方向において前記吸収体排出口よりも外側に配置される請求項3に記載の記録装置。
【請求項8】
前記流路形成手段によって形成される流路が、前記液体が供給される第1流路及び前記液体が排出される第2流路を含む請求項1に記載の記録装置。
【請求項9】
前記流路形成手段が、前記第1流路と前記第2流路を隔てる隔壁を有する請求項8に記載の記録装置。
【請求項10】
前記吸収体供給口が、前記流路形成手段の長手方向の端部に複数設けられる請求項1に記載の記録装置。
(【請求項11】以降は省略されています)
発明の詳細な説明
【技術分野】
【0001】
本発明は、記録装置に関する。
続きを表示(約 1,800 文字)
【背景技術】
【0002】
記録ヘッドを用いた記録装置では、吐出口内のインクの水分蒸発によりインクが増粘したり、インクの目詰まりなどが発生したりして、安定してインクを吐出することができないことがある。インクを安定して吐出するため、非記録中に記録ヘッドの吐出口面をキャッピングして、インクの増粘を抑えるキャップ機構が用いられている。このキャップ機構に記録とは別にインクの吐出を行うことで、吐出口付近の増粘したインクを除去したり、キャップした状態で吐出口を吸引することで、強制的に吐出口付近のインクを排出したりすることが行われている。キャップ機構には、吸収体が備えられ、吸収体にこれらの排出したインクが吸収される。ここで、吸収体に吸収されたインクの水分が蒸発すると、染料などの色材成分が吸収体に析出し、この析出物によって吸収体が固着することでインクの吸収機能が損なわれてしまう。
【0003】
特許文献1には、キャップ内の吸収体を洗浄する技術が開示されている。特許文献1では、キャップ外部と連通している供給流路から洗浄液をキャップ内に供給して吸収体を洗浄し、吸収体内部の液体を吸引口から排出することが記載されている。
【先行技術文献】
【特許文献】
【0004】
特開平8-150722号公報
【発明の概要】
【発明が解決しようとする課題】
【0005】
紙幅同等のノズル領域を有するフルラインヘッド用のキャップを洗浄しようとする場合には、特許文献1のように一か所から洗浄液を供給する構成では吸収体全域に洗浄液を行き届かせることが困難な場合がある。
【0006】
したがって、本発明者らの目的は、キャップ内の吸収体に洗浄液を適切に供給し、吸収体の固着を抑制することができる記録装置を提供することにある。
【課題を解決するための手段】
【0007】
上記の目的は、以下の本発明によって達成される。すなわち、本発明にかかる記録装置は、記録ヘッドをキャップするキャップ機構を有する記録装置において、前記キャップ機構が、吸収体、及び前記吸収体と前記キャップに接触する長尺状の流路形成手段を有し、前記流路形成手段が、前記吸収体に液体を供給する吸収体供給口を有し、前記吸収体供給口が、前記流路形成手段の長手方向の両端に設けられることを特徴とする。
【発明の効果】
【0008】
本発明によれば、キャップ内の吸収体に洗浄液を適切に供給し、吸収体の固着を抑制することができる記録装置を提供することができる。
【図面の簡単な説明】
【0009】
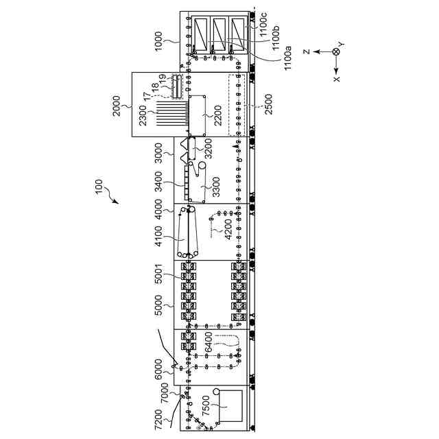
記録装置の概略構成の一例を示す模式図である。
記録ヘッドの斜視図である。
キャップトレイの構成を示す斜視図である。
第1実施形態における記録ヘッド及びキャップ機構を含む構成の全体を示す模式図である。
第1実施形態におけるキャップ機構の構成を示す斜視図である。
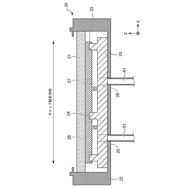
第1実施形態におけるキャップ機構の構成を示す断面図である。
第1実施形態におけるキャップ機構内部の流路を説明する図である。
第1実施形態におけるキャップ機構内部への洗浄液の供給を示す図である。
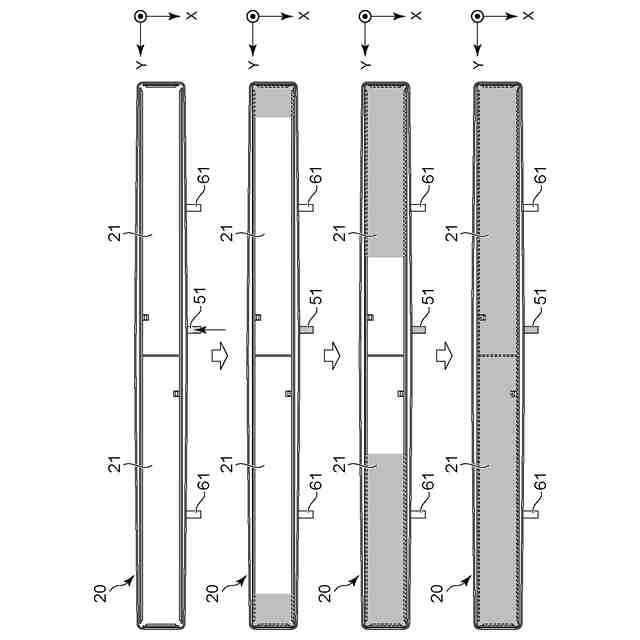
第1実施形態におけるキャップ機構内部の流路を示す図である。
第1実施形態におけるキャップ機構内部からの液体の排出を示す図である。
第2実施形態におけるキャップ機構の構成を示す図である。
その他の実施形態における記録ヘッド及びキャップ機構を含む構成の全体を示す模式図である。
【発明を実施するための形態】
【0010】
以下、添付図面を参照して本発明の好適な実施の形態を詳しく説明する。なお、以下の実施の形態は本開示事項を限定するものでなく、また以下の実施の形態で説明されている特徴の組み合わせすべてが本開示の解決手段に必須のものとは限らない。なお、同一の構成要素には同一の参照番号を付す。また、実施形態に記載されている構成要素の相対配置、形状などは、あくまで例示であり、この開示の範囲をそれらのみに限定する趣旨のものではない。
(【0011】以降は省略されています)
この特許をJ-PlatPat(特許庁公式サイト)で参照する
関連特許
キヤノン株式会社
容器
1か月前
キヤノン株式会社
容器
1か月前
キヤノン株式会社
トナー
27日前
キヤノン株式会社
トナー
1か月前
キヤノン株式会社
撮像装置
1か月前
キヤノン株式会社
撮像装置
27日前
キヤノン株式会社
雲台装置
27日前
キヤノン株式会社
発光装置
6日前
キヤノン株式会社
撮像装置
1か月前
キヤノン株式会社
記録装置
今日
キヤノン株式会社
撮像装置
1か月前
キヤノン株式会社
現像装置
1か月前
キヤノン株式会社
電子機器
27日前
キヤノン株式会社
記録装置
27日前
キヤノン株式会社
現像容器
1か月前
キヤノン株式会社
電子機器
27日前
キヤノン株式会社
記録装置
1か月前
キヤノン株式会社
定着装置
20日前
キヤノン株式会社
電子機器
22日前
キヤノン株式会社
撮像装置
28日前
キヤノン株式会社
撮像装置
22日前
キヤノン株式会社
現像装置
1か月前
キヤノン株式会社
測距装置
1か月前
キヤノン株式会社
定着装置
20日前
キヤノン株式会社
現像容器
1か月前
キヤノン株式会社
表示装置
6日前
キヤノン株式会社
表示装置
6日前
キヤノン株式会社
表示装置
6日前
キヤノン株式会社
撮像装置
6日前
キヤノン株式会社
撮像装置
6日前
キヤノン株式会社
記録装置
20日前
キヤノン株式会社
現像装置
1か月前
キヤノン株式会社
記録装置
27日前
キヤノン株式会社
定着装置
20日前
キヤノン株式会社
撮像装置
8日前
キヤノン株式会社
撮像装置
1か月前
続きを見る
他の特許を見る