TOP
|
特許
|
意匠
|
商標
特許ウォッチ
Twitter
他の特許を見る
公開番号
2025173704
公報種別
公開特許公報(A)
公開日
2025-11-28
出願番号
2024079394
出願日
2024-05-15
発明の名称
表示装置
出願人
キヤノン株式会社
代理人
個人
,
個人
,
個人
主分類
G02B
27/02 20060101AFI20251120BHJP(光学)
要約
【課題】観察者が自然な画像観察を行えるようにする。
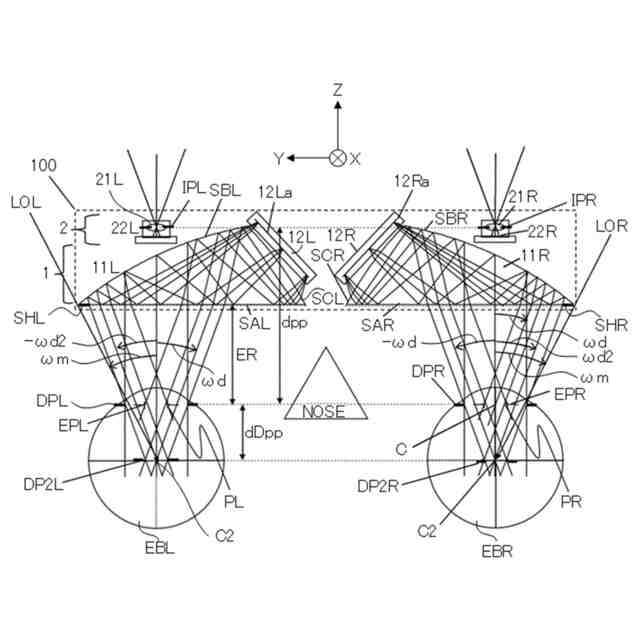
【解決手段】表示装置100は、撮像光学系21R,21Lを通して外界を撮像する撮像系2と、該撮像系により生成された外界画像を含む原画像を表示する表示素子12R,12Lからの光を表示光学系11R,11Lにより観察者の眼に導くことで表示画像の観察を可能とする表示系1とを有する。撮像光学系の入射瞳が、眼が配置される観察位置よりも外界側に位置する。観察位置から、表示画像と該表示画像の外側の周辺外界とを観察可能である。表示装置100は、表示画像と周辺外界との間に遮蔽領域を形成する遮蔽手段SHR,SHLを有する。
【選択図】図1
特許請求の範囲
【請求項1】
撮像光学系を通して外界を撮像する撮像系と、該撮像系により生成された外界画像を含む原画像を表示する表示素子からの光を表示光学系により観察者の眼に導くことで表示画像の観察を可能とする表示系とを有する表示装置であって、
前記撮像光学系の入射瞳が、前記眼が配置される観察位置よりも前記外界側に位置し、
前記観察位置から、前記表示画像と該表示画像の外側の周辺外界とを観察可能であり、
前記表示画像と前記周辺外界との間に遮蔽領域を形成する遮蔽手段を有することを特徴とする表示装置。
続きを表示(約 1,000 文字)
【請求項2】
前記表示光学系は、前記光を表示素子側から外側へ向かって反射して前記眼に導く光学素子を有することを特徴とする請求項1に記載の表示装置。
【請求項3】
前記遮蔽手段は、前記表示光学系の出射面に設けられていることを特徴とする請求項1に記載の表示装置。
【請求項4】
前記表示光学系を覆う外装部材を有し、
前記遮蔽手段は、前記外装部材に設けられていることを特徴とする請求項1に記載の表示装置。
【請求項5】
前記遮蔽手段は、前記表示光学系における光学有効領域外に設けられていることを特徴とする請求項1に記載の表示装置。
【請求項6】
前記遮蔽手段は、前記表示光学系における光学有効領域の一部にかかるように設けられていることを特徴とする請求項1に記載の表示装置。
【請求項7】
前記表示素子から前記表示光学系に入射した前記光が該表示光学系の出射面に向かって進む第1の方向において、前記眼が前記遮蔽領域の周辺外界側の端を向いた状態で前記眼に前記周辺外界からの光が入射する最小画角をωs、前記状態での前記眼に対する前記表示系の最大表示半画角をωd2とするとき、
ωs/ωd2>1
なる条件を満足することを特徴とする請求項1に記載の表示装置。
【請求項8】
1.05≦ωs/ωd2≦1.50
なる条件を満足することを特徴とする請求項7に記載の表示装置。
【請求項9】
前記表示素子から前記表示光学系に入射した前記光が該表示光学系の出射面に向かって進む第1の方向に直交する第2方向において、前記眼が前記遮蔽領域の周辺外界側の端を向いた状態で前記眼に前記周辺外界からの光が入射する最小画角をωsv、前記状態での前記眼に対する前記表示系の最大表示半画角をωd2vとするとき、
ωsv/ωd2v>1
なる条件を満足することを特徴とする請求項7に記載の表示装置。
【請求項10】
前記撮像系および前記表示系が、観察者の右眼と左眼のそれぞれに対して設けられており、
前記外側は、左右方向および上下方向のうち少なくとも一方の外側であることを特徴とする請求項1に記載の表示装置。
(【請求項11】以降は省略されています)
発明の詳細な説明
【技術分野】
【0001】
本発明は、撮像系を有する表示装置に関する。
続きを表示(約 1,300 文字)
【背景技術】
【0002】
複合現実感(MR:Mixed Reality)や拡張現実感(AR:Augmented Reality)用途のビデオシースルー型HMD(Head Mounted Display)は、撮像系により取得した外界画像をCG(Computer Graphics)画像と合成して表示光学系を介して観察者に表示する。
【0003】
特許文献1には、透過面、反射透過面および反射面を有する自由曲面プリズムを用いた表示光学系を有するビデオシースルー型HMDが開示されている。このHMDでは、表示光学系よりも外界側に撮像系を設け、撮像系で取得した外界画像を含む原画像を表示素子に表示し、表示光学系を介して表示画像を拡大表示する。特許文献2には、撮像光学系の入射瞳を表示光学系の射出瞳に対して外界方向に離し、かつ撮像光学系の光軸と表示光学系の光軸とを一致させたビデオシースルー型HMDが開示されている。
【先行技術文献】
【特許文献】
【0004】
国際特許WO2008/096719号公報
特許第3604979号公報
【発明の概要】
【発明が解決しようとする課題】
【0005】
上記のようなビデオシースルー型HMDでは、観察者が自然な画像観察を行えることが望ましい。
【課題を解決するための手段】
【0006】
本発明の一側面としての表示装置は、撮像光学系を通して外界を撮像する撮像系と、該撮像系により生成された外界画像を含む原画像を表示する表示素子からの光を表示光学系により観察者の眼に導くことで表示画像の観察を可能とする表示系とを有する。撮像光学系の入射瞳が、眼が配置される観察位置よりも外界側に位置する。観察位置から、表示画像と該表示画像の外側の周辺外界とを観察可能である。表示画像と周辺外界との間に遮蔽領域を形成する遮蔽手段を有することを特徴とする。
【発明の効果】
【0007】
本発明によれば、表示画像と外界の自然な観察を行うことができる。
【図面の簡単な説明】
【0008】
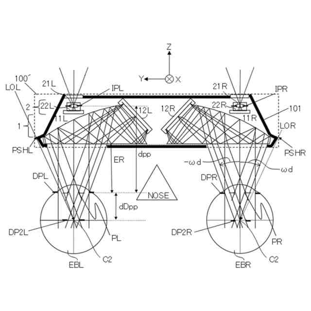
実施例1のHMDのYZ断面図。
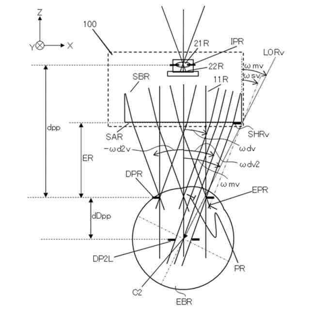
実施例1のHMDにおいて右眼が回転した状態を示すYZ断面図。
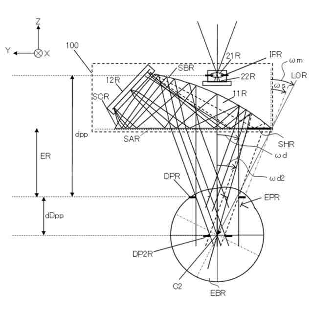
実施例1のHMDのXZ断面図。
実施例1の効果を説明する図。
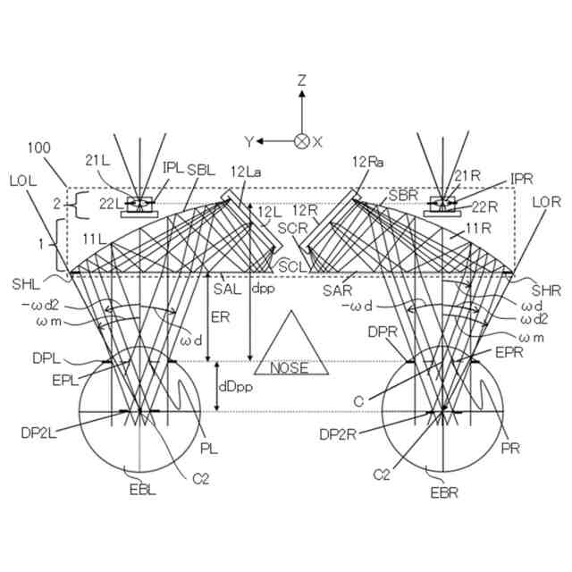
実施例2のHMDのYZ断面図。
実施例3のHMDのYZ断面図。
図6の一部を拡大した図。
【発明を実施するための形態】
【0009】
以下、本発明の実施例について図面を参照しながら説明する。
【0010】
実施例の表示装置は、撮像光学系を通して外界を撮像する撮像系と、該撮像系により生成された外界画像を含む原画像を表示する表示素子からの光を表示光学系により観察者の眼に導くことで表示画像の観察を可能とする表示系とを有する。そして、該表示装置は、観察者の眼が配置される観察位置から、表示画像と該表示画像の外側の周辺外界とを観察可能な、所謂ビデオシースルー+シーアラウンドビュー型のHMDである。
(【0011】以降は省略されています)
この特許をJ-PlatPat(特許庁公式サイト)で参照する
関連特許
キヤノン株式会社
容器
1か月前
キヤノン株式会社
容器
1か月前
キヤノン株式会社
トナー
1か月前
キヤノン株式会社
トナー
22日前
キヤノン株式会社
定着装置
9日前
キヤノン株式会社
撮像装置
1か月前
キヤノン株式会社
撮像装置
1か月前
キヤノン株式会社
測距装置
1か月前
キヤノン株式会社
表示装置
1日前
キヤノン株式会社
表示装置
1日前
キヤノン株式会社
電子機器
22日前
キヤノン株式会社
撮像装置
3日前
キヤノン株式会社
表示装置
1か月前
キヤノン株式会社
雲台装置
22日前
キヤノン株式会社
撮像装置
1か月前
キヤノン株式会社
記録装置
1か月前
キヤノン株式会社
撮像装置
22日前
キヤノン株式会社
電子機器
17日前
キヤノン株式会社
撮像装置
1日前
キヤノン株式会社
表示装置
1日前
キヤノン株式会社
撮像装置
17日前
キヤノン株式会社
測距装置
24日前
キヤノン株式会社
定着装置
15日前
キヤノン株式会社
定着装置
15日前
キヤノン株式会社
記録装置
15日前
キヤノン株式会社
記録装置
22日前
キヤノン株式会社
撮像装置
1日前
キヤノン株式会社
定着装置
15日前
キヤノン株式会社
定着装置
9日前
キヤノン株式会社
発光装置
1日前
キヤノン株式会社
電子機器
22日前
キヤノン株式会社
撮像装置
9日前
キヤノン株式会社
撮像装置
23日前
キヤノン株式会社
撮像装置
9日前
キヤノン株式会社
撮像装置
1か月前
キヤノン株式会社
現像装置
1か月前
続きを見る
他の特許を見る