TOP
|
特許
|
意匠
|
商標
特許ウォッチ
Twitter
他の特許を見る
10個以上の画像は省略されています。
公開番号
2025167658
公報種別
公開特許公報(A)
公開日
2025-11-07
出願番号
2024072494
出願日
2024-04-26
発明の名称
電子機器
出願人
キヤノン株式会社
代理人
個人
主分類
B41J
29/00 20060101AFI20251030BHJP(印刷;線画機;タイプライター;スタンプ)
要約
【課題】情報送信に関する許諾内容に関する同意を受け付ける操作をより好適に行えるようにする仕組みを提供する。
【解決手段】電子機器は、電子機器であって、前記電子機器を、特定の外部システムと通信可能なネットワークと接続するように制御する接続制御手段と、前記接続制御手段で前記ネットワークと接続されたことに基づいて、前記電子機器から送信先へ情報を送信することに関してユーザが許諾する旨の許諾内容に対するユーザの同意を示す操作を受け付けるための許諾受付画面を表示し、前記電子機器が前記ネットワークと接続されていない場合には前記許諾受付画面を表示しないように制御する表示制御手段と、を有する。
【選択図】図5A
特許請求の範囲
【請求項1】
電子機器であって、
前記電子機器を、特定の外部システムと通信可能なネットワークと接続するように制御する接続制御手段と、
前記接続制御手段で前記ネットワークと接続されたことに基づいて、前記電子機器から送信先へ情報を送信することに関してユーザが許諾する旨の許諾内容に対するユーザの同意を示す操作を受け付けるための許諾受付画面を表示し、前記電子機器が前記ネットワークと接続されていない場合には前記許諾受付画面を表示しないように制御する表示制御手段と、
を有することを特徴とする電子機器。
続きを表示(約 1,400 文字)
【請求項2】
前記表示制御手段は、前記ネットワークと接続中に、ホーム画面に戻るための操作を受け付けた場合、前記特定の外部システムと通信して前記許諾内容の更新の有無を確認し、更新がない場合、ホーム画面を表示するように制御し、更新がある場合、更新された許諾内容に対するユーザの同意を示す操作を受け付けるための許諾受付画面を表示するように制御することを特徴とする請求項1に記載の電子機器。
【請求項3】
前記表示制御手段は、前記許諾受付画面では、許諾内容自体を表示せずに、サーバに記憶された許諾内容を表示させるためのURLを示す情報を表示するように制御することを特徴とする請求項1に記載の電子機器。
【請求項4】
前記許諾受付画面で同意を示す操作を受け付けた場合には、前記同意を示す操作を受け付けたことを示す情報を保存する保存手段をさらに有することを特徴とする請求項1に記載の電子機器。
【請求項5】
前記保存手段は、前記許諾受付画面で同意を示す操作を受け付けた場合には、前記許諾内容のバージョンと関連付けて前記同意を示す操作を受け付けたことを示す情報を保存することを特徴とする請求項4に記載の電子機器。
【請求項6】
前記表示制御手段は、前記同意を示す操作を受け付けたことを示す情報が保存されている場合には、前記特定の外部システムと通信して前記許諾内容の更新の有無を確認し、更新がある場合には、更新された許諾内容に対するユーザの同意を示す操作を受け付けるための許諾受付画面を表示するように制御することを特徴とする請求項4に記載の電子機器。
【請求項7】
前記保存手段は、前記許諾受付画面で非同意を示す操作を受け付けた場合には、前記非同意を示す操作を受け付けたことを示す情報を保存し、
前記表示制御手段は、前記非同意を示す操作を受け付けたことを示す情報が保存されている場合には、前記許諾受付画面を表示しないように制御することを特徴とする請求項4に記載の電子機器。
【請求項8】
前記表示制御手段は、前記許諾受付画面を表示するように制御した後、ホーム画面を表示するように制御することを特徴とする請求項1に記載の電子機器。
【請求項9】
ネットワーク設定が無効から有効に変更された場合には、前記接続制御手段は、前記電子機器を前記ネットワークと接続するように制御し、前記表示制御手段は、ホーム画面に戻るための操作を受け付け、かつ、前記許諾内容の更新がある場合には、前記許諾受付画面を表示し、その後、ホーム画面を表示するように制御することを特徴とする請求項1に記載の電子機器。
【請求項10】
電子機器の制御方法であって、
前記電子機器を、特定の外部システムと通信可能なネットワークと接続するように制御する接続制御ステップと、
前記接続制御ステップで前記ネットワークと接続されたことに基づいて、前記電子機器から送信先へ情報を送信することに関してユーザが許諾する旨の許諾内容に対するユーザの同意を示す操作を受け付けるための許諾受付画面を表示し、前記電子機器が前記ネットワークと接続されていない場合には前記許諾受付画面を表示しないように制御する表示制御ステップと、
を有することを特徴とする電子機器の制御方法。
(【請求項11】以降は省略されています)
発明の詳細な説明
【技術分野】
【0001】
本発明は、電子機器、電子機器の制御方法、プログラム及び記憶媒体に関する。
続きを表示(約 1,500 文字)
【背景技術】
【0002】
従来、ユーザの同意の上で、電子機器のステータス情報をサーバへ送信し、サーバ側で、ステータス情報を分析することで、電子機器の状態に合わせたサービスを提供するシステムが知られている。
【0003】
特許文献1には、複合機のユーザから情報送信の許諾の同意を取り、ステータス情報をサーバへ送信してサービスに利用するシステムが記載されている。
【先行技術文献】
【特許文献】
【0004】
特許第7134772号公報
【発明の概要】
【発明が解決しようとする課題】
【0005】
電子機器のステータス情報のようなユーザ情報の取り扱いが変わることがある。例えば、国ごとの法改正によってユーザ情報収集に規制がかかるケースがある。法律に違反しないためには、電子機器をネットワークに接続して、再許諾が必要かどうかの情報を取得し、再許諾が必要な場合、ユーザ情報収集の許諾文言も更新し、ユーザに再許諾(更新された許諾文言への同意)を求める必要がある。
【0006】
しかしながら、特許文献1では、電子機器がネットワーク接続済か否かにかかわらずに許諾画面を出していたため、ネットワーク接続前に1度、許諾内容への同意を受け付ける許諾画面を表示して同意を取ったのに、ネットワーク接続後に許諾内容に更新があったことが分かった場合、再び許諾画面を表示して(すなわち2回目の許諾画面の表示を行って)、同意を受け付ける必要がある。この場合、ユーザにとって2度の許諾操作が必要となり、ユーザの利便性が悪かった。また、電子機器をネットワークに全く接続しないで装置を利用するユーザにとっても、本来必要のない情報送信に関する許諾内容への同意操作が必要となり、ユーザ利便性が悪かった。
【0007】
そこで本発明は、上記課題に鑑み、情報送信に関する許諾内容に関する同意を受け付ける操作をより好適に行えるようにする仕組みを提供することを目的とする。
【課題を解決するための手段】
【0008】
電子機器は、電子機器であって、前記電子機器を、特定の外部システムと通信可能なネットワークと接続するように制御する接続制御手段と、前記接続制御手段で前記ネットワークと接続されたことに基づいて、前記電子機器から送信先へ情報を送信することに関してユーザが許諾する旨の許諾内容に対するユーザの同意を示す操作を受け付けるための許諾受付画面を表示し、前記電子機器が前記ネットワークと接続されていない場合には前記許諾受付画面を表示しないように制御する表示制御手段と、を有する。
【発明の効果】
【0009】
本発明によれば、情報送信に関する許諾内容に関する同意を受け付ける操作をより好適に行えるようにする仕組みを提供することができる。
【図面の簡単な説明】
【0010】
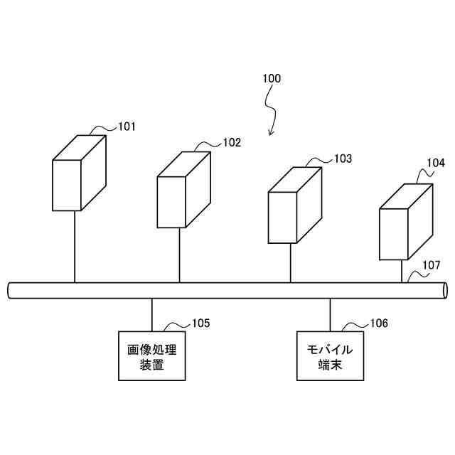
システムの構成例を示す図である。
許諾文言の例とバージョン管理の例を示す図である。
画像処理装置の構成例を示す図である。
画像処理装置に記憶されている情報の例を示す図である。
画像処理装置の制御方法を示すフローチャートである。
画像処理装置の制御方法を示すフローチャートである。
表示画面例を示す図である。
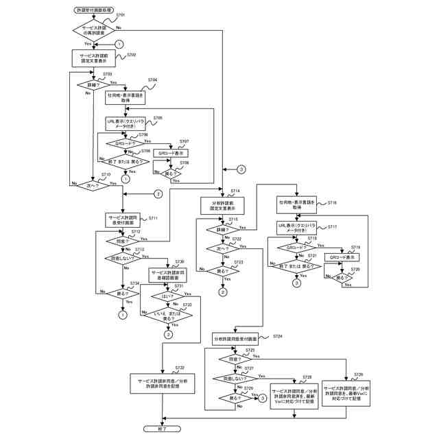
許諾受付画面処理を示すフローチャートである。
表示画面の遷移を示す図である。
【発明を実施するための形態】
(【0011】以降は省略されています)
この特許をJ-PlatPat(特許庁公式サイト)で参照する
関連特許
キヤノン株式会社
容器
1か月前
キヤノン株式会社
容器
1か月前
キヤノン株式会社
トナー
1か月前
キヤノン株式会社
トナー
22日前
キヤノン株式会社
トナー
1か月前
キヤノン株式会社
トナー
1か月前
キヤノン株式会社
トナー
1か月前
キヤノン株式会社
トナー
1か月前
キヤノン株式会社
表示装置
1日前
キヤノン株式会社
撮像装置
1か月前
キヤノン株式会社
測距装置
24日前
キヤノン株式会社
現像容器
1か月前
キヤノン株式会社
撮像装置
23日前
キヤノン株式会社
現像装置
1か月前
キヤノン株式会社
記録装置
22日前
キヤノン株式会社
撮像装置
9日前
キヤノン株式会社
現像装置
1か月前
キヤノン株式会社
撮像装置
1日前
キヤノン株式会社
電子機器
22日前
キヤノン株式会社
記録装置
22日前
キヤノン株式会社
電子機器
17日前
キヤノン株式会社
雲台装置
22日前
キヤノン株式会社
電子機器
22日前
キヤノン株式会社
撮像装置
1か月前
キヤノン株式会社
撮像装置
1か月前
キヤノン株式会社
撮像装置
22日前
キヤノン株式会社
撮像装置
3日前
キヤノン株式会社
撮像装置
17日前
キヤノン株式会社
定着装置
15日前
キヤノン株式会社
撮影装置
1か月前
キヤノン株式会社
記録装置
1か月前
キヤノン株式会社
定着装置
9日前
キヤノン株式会社
記録装置
15日前
キヤノン株式会社
定着装置
15日前
キヤノン株式会社
定着装置
15日前
キヤノン株式会社
定着装置
1か月前
続きを見る
他の特許を見る