TOP
|
特許
|
意匠
|
商標
特許ウォッチ
Twitter
他の特許を見る
公開番号
2025148150
公報種別
公開特許公報(A)
公開日
2025-10-07
出願番号
2024048763
出願日
2024-03-25
発明の名称
撮像装置
出願人
キヤノン株式会社
代理人
個人
,
個人
,
個人
,
個人
,
個人
主分類
H04N
23/73 20230101AFI20250930BHJP(電気通信技術)
要約
【課題】 間欠電荷蓄積で電子ND機能を実現する場合に設定された露光期間での蓄積とならない場合がある。
【解決手段】 間欠電荷蓄積制御可能な撮像素子と、シャッタ速度と電子ND効果量を設定する設定部と、間欠電荷蓄積時に電荷蓄積開始から終了までの時間を設定された露光期間に対して所定範囲内に収めるように間欠電荷蓄積パターンを設定する。
【選択図】 図3
特許請求の範囲
【請求項1】
光学像を電気信号に変換する撮像手段と、
前記撮像手段の露光期間を設定する設定手段と、
前記設定手段により設定された前記露光期間の開始タイミングおよび終了タイミングに対して、減光効果を得るために前記撮像手段による間欠電荷蓄積を行う際の最初の電荷蓄積の開始から最後の電荷蓄積の終了までのタイミングが所定範囲内に収まるように間欠電荷蓄積パターンを決定する制御手段と、
を有することを特徴とする撮像装置。
続きを表示(約 520 文字)
【請求項2】
前記所定範囲は、1フレームの最後の電荷蓄積期間の終了タイミングと1フレームの露光期間の経過タイミングとのズレがユーザによる電荷蓄積期間の設定単位の範囲であることを特徴とする請求項1に記載の撮像装置。
【請求項3】
前記制御手段は、前記撮像手段による前記間欠電荷蓄積を行う際の各電荷蓄積を水平同期信号に同期して実行するように制御することを特徴とする請求項1に記載の撮像装置。
【請求項4】
前記制御手段は、前記撮像手段による前記間欠電荷蓄積を行う際の各電荷蓄積の電荷蓄積期間が前記水平同期信号の整数倍になるように制御することを特徴とする請求項3に記載の撮像装置。
【請求項5】
前記制御手段は、前記撮像手段による前記間欠電荷蓄積を行う際の各電荷蓄積期間を合計した期間が所望の減光効果を得るための電荷蓄積期間よりも短くなる場合に、電荷蓄積期間の不足分を信号増幅するように制御することを特徴とする請求項4に記載の撮像装置。
【請求項6】
前記制御手段は、ユーザにより設定された減光量に応じて前記間欠電荷蓄積パターンを決定することを特徴とする請求項1に記載の撮像装置。
発明の詳細な説明
【技術分野】
【0001】
本発明は、撮像装置に関する。
続きを表示(約 1,400 文字)
【背景技術】
【0002】
近年、家庭用ビデオカメラやデジタルスチルカメラなどの撮像装置が一般に普及している。これらの撮像装置には、メカシャッタ撮影よりも動作音が静かで高速連写撮影を行うことが可能な電子シャッタ撮影機能が搭載されている。
【0003】
電子シャッタ撮影機能におけるグローバルシャッタ方式によれば、電荷蓄積の開始と終了を画面内で一括して行うことが可能となり、所謂ローリングシャッタ歪を発生させずに撮影を行うことができる。また、特許文献1に記載されているように、電荷蓄積を間欠的に行うことで、設定された露光期間に対して通常よりも入射光量を低減して撮影する電子ND機能を実現することが可能となる。
【先行技術文献】
【特許文献】
【0004】
特開2015-109503号
【発明の概要】
【発明が解決しようとする課題】
【0005】
特許文献1に記載されている方法では、ユーザが設定した電荷蓄積期間内で間欠的に電荷蓄積を行うことで入射光量を低減した撮影を行った場合に、ユーザが意図している露光期間と異なる露光期間で撮影が行われる可能性がある。その場合、本来取得したい撮影画像とは異なる印象の画像が撮影されてしまうことになる。
【課題を解決するための手段】
【0006】
本発明の撮像装置は、光学像を電気信号に変換する撮像手段と、前記撮像手段の露光期間を設定する設定手段と、前記設定手段により設定された前記露光期間の開始タイミングおよび終了タイミングに対して、減光効果を得るために前記撮像手段による間欠電荷蓄積を行う際の最初の電荷蓄積の開始から最後の電荷蓄積の終了までのタイミングが所定範囲内に収まるように間欠電荷蓄積パターンを決定する制御手段と、を有することを特徴とする。
【発明の効果】
【0007】
本発明によれば、設定された露光期間内で所望の減光効果に基づく撮影画像を取得することができる。
【図面の簡単な説明】
【0008】
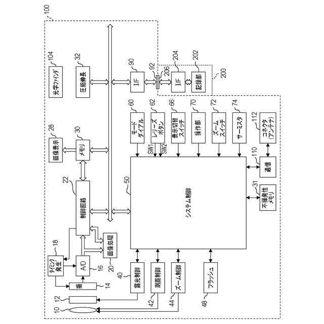
実施形態における撮像装置のブロック図である。
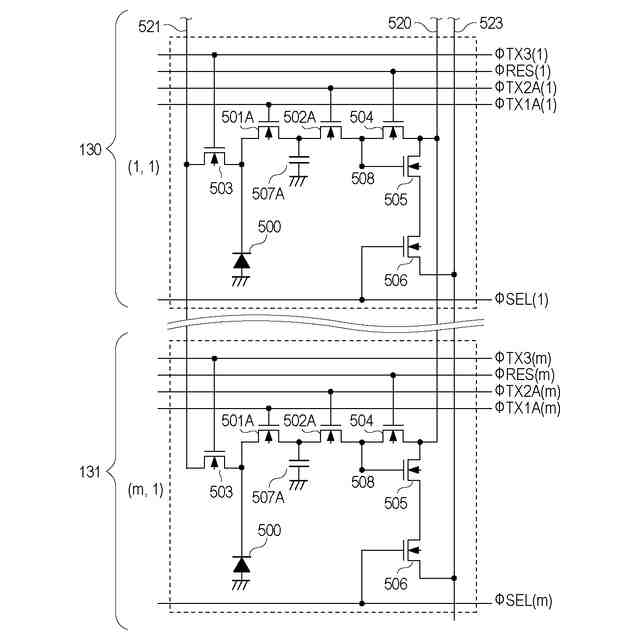
実施形態における撮像素子の一部を示した回路図である。
実施形態における間欠電荷蓄積のパターンを示した図である。
実施形態における間欠電荷蓄積の蓄積時間誤差許容範囲を示した図である。
実施形態における間欠電荷蓄積の撮像周期合わせを示した図である。
実施形態における間欠電荷蓄積の撮像周期合わせゲイン補償を示した図である。
実施形態における電子ND機能の設定画面を示した図である。
【発明を実施するための形態】
【0009】
以下、本発明の実施形態について、添付図面を参照して詳細に説明する。図1は、本発明の実施形態における撮像装置100の概略構成を示すブロック図である。
【0010】
図1において、撮影レンズ10は、撮像素子14上に光学像を結像する。機械式シャッタ12は、絞り機能を備え、撮像素子14に到達する光学像の光量を調整することができる。撮像素子14は、光学像を電気信号に変換し、A/D変換器16は、撮像素子14から出力されるアナログ信号をデジタル信号に変換する。なお、A/D変換器16は、撮像素子14に内蔵されていてもよい。
(【0011】以降は省略されています)
この特許をJ-PlatPat(特許庁公式サイト)で参照する
関連特許
キヤノン株式会社
容器
10日前
キヤノン株式会社
トナー
2日前
キヤノン株式会社
電子機器
2日前
キヤノン株式会社
記録装置
2日前
キヤノン株式会社
記録装置
2日前
キヤノン株式会社
撮像装置
10日前
キヤノン株式会社
雲台装置
2日前
キヤノン株式会社
電子機器
2日前
キヤノン株式会社
撮像装置
3日前
キヤノン株式会社
撮像装置
2日前
キヤノン株式会社
表示装置
10日前
キヤノン株式会社
測距装置
4日前
キヤノン株式会社
液体収容体
5日前
キヤノン株式会社
液体収容体
4日前
キヤノン株式会社
光電変換装置
2日前
キヤノン株式会社
画像形成装置
4日前
キヤノン株式会社
画像形成装置
10日前
キヤノン株式会社
画像形成装置
4日前
キヤノン株式会社
画像形成装置
10日前
キヤノン株式会社
画像形成装置
10日前
キヤノン株式会社
画像形成装置
10日前
キヤノン株式会社
画像形成装置
5日前
キヤノン株式会社
画像形成装置
3日前
キヤノン株式会社
画像形成装置
3日前
キヤノン株式会社
画像形成装置
3日前
キヤノン株式会社
画像形成装置
3日前
キヤノン株式会社
視線検出装置
4日前
キヤノン株式会社
画像形成装置
3日前
キヤノン株式会社
画像形成装置
5日前
キヤノン株式会社
情報処理装置
3日前
キヤノン株式会社
画像処理装置
5日前
キヤノン株式会社
画像形成装置
3日前
キヤノン株式会社
画像形成装置
3日前
キヤノン株式会社
画像形成装置
2日前
キヤノン株式会社
画像形成装置
2日前
キヤノン株式会社
液体攪拌装置
2日前
続きを見る
他の特許を見る