TOP
|
特許
|
意匠
|
商標
特許ウォッチ
Twitter
他の特許を見る
公開番号
2025169058
公報種別
公開特許公報(A)
公開日
2025-11-12
出願番号
2024074037
出願日
2024-04-30
発明の名称
画像形成装置
出願人
キヤノン株式会社
代理人
弁理士法人大塚国際特許事務所
主分類
G03G
15/16 20060101AFI20251105BHJP(写真;映画;光波以外の波を使用する類似技術;電子写真;ホログラフイ)
要約
【課題】クリーニング装置を中間転写体へと当接する際の衝撃でクリーニング装置から吐き出されたトナーが機内へ飛散して、画像不良を発生させることがあった。
【解決手段】トナー像を担持する像担持体と、二次転写ローラを含み、前記像担持体から中間転写体に一次転写されたトナー像を前記中間転写体から記録媒体に二次転写する二次転写手段と、前記中間転写体に対して当接及び離間が可能で、前記二次転写の後に前記中間転写体上に残留したトナーをクリーニングするためのクリーニング部とを有する画像形成装置であって、前記クリーニング部と前記中間転写体とが当接する当接領域において、前記中間転写体の搬送方向の上流側が、重力方向において前記中間転写体の搬送方向の下流側よりも下方となるように傾斜している。
【選択図】 図6
特許請求の範囲
【請求項1】
トナー像を担持する像担持体と、
二次転写ローラを含み、前記像担持体から中間転写体に一次転写されたトナー像を前記中間転写体から記録媒体に二次転写する二次転写手段と、
前記中間転写体に対して当接及び離間が可能で、前記二次転写の後に前記中間転写体上に残留したトナーをクリーニングするためのクリーニング部と、を有し、
前記クリーニング部と前記中間転写体とが当接する当接領域において、前記中間転写体の搬送方向の上流側が、重力方向において前記中間転写体の搬送方向の下流側よりも下方となるように傾斜していることを特徴とする画像形成装置。
続きを表示(約 1,000 文字)
【請求項2】
前記当接するニップの前記上流側の前記中間転写体の張架面の搬送方向の長さは、前記当接するニップの前記下流側の前記中間転写体の張架面の搬送方向の長さよりも長いことを特徴とする請求項1に記載の画像形成装置。
【請求項3】
前記当接するニップの前記上流側の前記中間転写体の張架面の傾斜は安息角以下であることを特徴とする請求項1に記載の画像形成装置。
【請求項4】
前記中間転写体は、前記二次転写ローラに近い第1ローラと、前記第1ローラよりも前記二次転写ローラから遠い第2ローラとに張架されており、前記第1ローラの重力方向における位置は前記第2ローラよりも下であることを特徴とする請求項1に記載の画像形成装置。
【請求項5】
前記クリーニング部に当接する前記中間転写体の反対側の面で前記中間転写体をバックアップするバックアップ部材を、更に有し、前記バックアップ部材は、前記当接するニップの上流側の端部及び下流側の端部では、前記中間転写体をバックアップしないことを特徴とする請求項1乃至4のいずれか一項に記載の画像形成装置。
【請求項6】
前記中間転写体は、前記二次転写ローラに近い第1ローラと、前記第1ローラよりも前記二次転写ローラから遠い第2ローラとに加えて、前記バックアップ部材により張架されていることを特徴とする請求項5に記載の画像形成装置。
【請求項7】
前記第1ローラと前記バックアップ部材との距離は、前記第2ローラと前記バックアップ部材との距離よりも長いことを特徴とする請求項6に記載の画像形成装置。
【請求項8】
前記クリーニング部が前記中間転写体と当接した状態となる直前における前記クリーニング部が移動する軌跡は、前記当接するニップの中心位置における前記中間転写体の表面に対する垂線に対して、前記中間転写体の搬送方向の下流側に位置していることを特徴とする請求項1に記載の画像形成装置。
【請求項9】
前記クリーニング部は、トナーの正規極性とは逆極性の電圧が印加され、前記中間転写体上に残留したトナーの一部を前記逆極性に帯電して前記中間転写体上に残留したトナーの一部を保持することを特徴とする請求項1に記載の画像形成装置。
【請求項10】
前記クリーニング部は、ブラシ状の部材を有し、前記部材を前記中間転写体に当接する構成であることを特徴とする請求項1に記載の画像形成装置。
発明の詳細な説明
【技術分野】
【0001】
本発明は、記録媒体に画像を形成する画像形成装置に関する。
続きを表示(約 1,700 文字)
【背景技術】
【0002】
電子写真方式の画像形成装置では、電子写真感光体上に形成したトナー像を、一旦中間転写体上に一次転写させ、その中間転写体に転写されたトナー像を、記録媒体に接触して転写させる転写部材による二次転写を行って画像を形成している。このような電子写真方式による画像形成装置を使用することで、各成分色画像の重ね合わせ位置の物理的なずれ(色ずれ)の少ないカラー画像を得ることができる。
【0003】
上述の中間転写体を用いた画像形成装置では、中間転写体から紙などの記録媒体に転写する二次転写の後に、その中間転写体上に残留したトナーを除去(クリーニング)することが、良好な画像を得る上で重要である。このため、従来は、二次転写位置の後にクリーニングブレードを設け、二次転写の後に中間転写体上に残留した残トナーをかきとる手法が用いられている(特許文献1)。
【先行技術文献】
【特許文献】
【0004】
特許第5574924号
【発明の概要】
【発明が解決しようとする課題】
【0005】
しかしながら、上述したクリーニングブレードを含むクリーニング部を中間転写体に当接する際、その衝撃でクリーニング部から吐き出されたトナーが機内へと飛散し、画像不良を発生させることがあった。
【0006】
そこで本発明の目的は、クリーニング部を中間転写体へと当接する際の衝撃により吐き出されたトナーが機内に飛散するのを防止する技術を提供することにある。
【課題を解決するための手段】
【0007】
上記目的を達成するために本発明の一態様に係る画像形成装置は以下のような構成を備える。即ち、
トナー像を担持する像担持体と、
二次転写ローラを含み、前記像担持体から中間転写体に一次転写されたトナー像を前記中間転写体から記録媒体に二次転写する二次転写手段と、
前記中間転写体に対して当接及び離間が可能で、前記二次転写の後に前記中間転写体上に残留したトナーをクリーニングするためのクリーニング部と、を有し、
前記クリーニング部と前記中間転写体とが当接する当接領域において、前記中間転写体の搬送方向の上流側が、重力方向において前記中間転写体の搬送方向の下流側よりも下方となるように傾斜していることを特徴とする。
【発明の効果】
【0008】
本発明によれば、クリーニング部を中間転写体へと当接する際の衝撃により吐き出されたトナーが機内に飛散するのを防止できるという効果がある。
【0009】
本発明のその他の特徴及び利点は、添付図面を参照とした以下の説明により明らかになるであろう。なお、添付図面においては、同じ若しくは同様の構成には、同じ参照番号を付す。
【図面の簡単な説明】
【0010】
添付図面は明細書に含まれ、その一部を構成し、本発明の実施形態を示し、その記述と共に本発明の原理を説明するために用いられる。
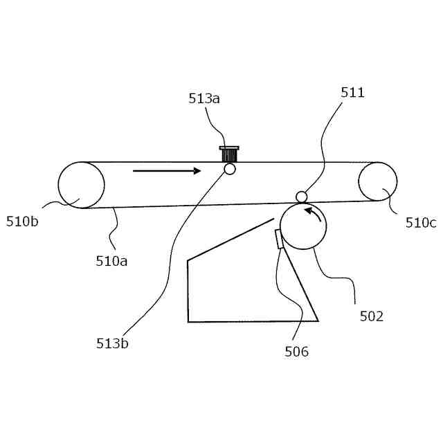
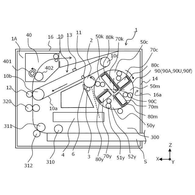
実施形態1に係る画像形成装置の概略断面構成を説明する模式断面図。
実施形態1に係る中間転写ベルトのクリーニング装置の概略構成を示す模式図。
実施形態1に係る中間転写ベルトのクリーニング装置の中間転写ベルトへの当接離間状態を説明する模式図。
実施形態1に係る画像形成装置におけるICLブラシの当接/離間を制御する構成を説明する図。
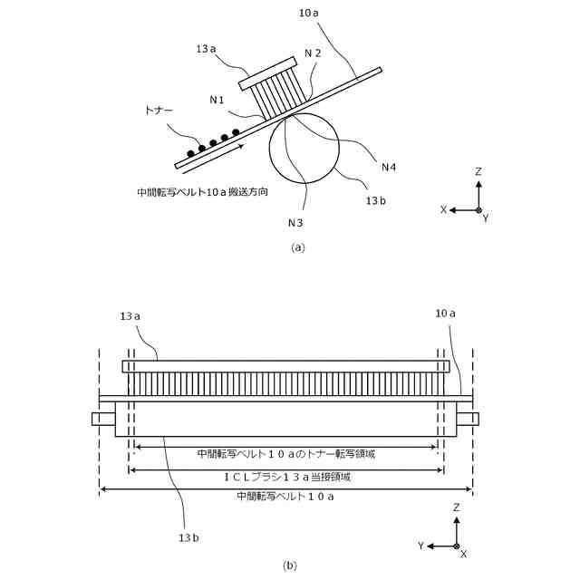
一般的な中間転写ベルトとICLブラシの構成を表した断面模式図。
実施形態1に係る画像形成装置における中間転写ベルトと中間転写ベルトのクリーニング装置の位置関係を変形例及び比較例を用いて説明する断面模式図。
実施形態2に係る中間転写ベルトのクリーニング装置を説明する模式図。
実施形態1と実施形態2による濃度ムラの発生の評価結果を示す図。
【発明を実施するための形態】
(【0011】以降は省略されています)
この特許をJ-PlatPat(特許庁公式サイト)で参照する
関連特許
個人
表示装置
1か月前
個人
雨用レンズカバー
1か月前
日本精機株式会社
プロジェクタ
2日前
キヤノン株式会社
撮像装置
9日前
キヤノン株式会社
撮像装置
1か月前
キヤノン株式会社
撮像装置
1か月前
キヤノン株式会社
撮像装置
1か月前
株式会社リコー
画像形成装置
1か月前
株式会社リコー
画像形成装置
1か月前
株式会社リコー
画像形成装置
1か月前
株式会社リコー
画像形成装置
1か月前
株式会社リコー
画像形成装置
23日前
キヤノン株式会社
トナー
1か月前
キヤノン株式会社
画像形成装置
1か月前
キヤノン株式会社
画像形成装置
17日前
キヤノン株式会社
画像形成装置
1か月前
キヤノン株式会社
現像装置
1か月前
沖電気工業株式会社
画像形成装置
1か月前
アイホン株式会社
カメラシステム
1か月前
沖電気工業株式会社
画像形成装置
4日前
キヤノン株式会社
レンズキャップ
1か月前
レーザーテック株式会社
光源装置
4日前
沖電気工業株式会社
画像形成装置
1か月前
レーザーテック株式会社
光源装置
25日前
ブラザー工業株式会社
画像形成装置
1か月前
古野電気株式会社
装置
1か月前
ブラザー工業株式会社
画像形成装置
1か月前
シャープ株式会社
捺染トナー
2日前
キヤノン株式会社
画像形成装置
23日前
シャープ株式会社
画像形成装置
1か月前
キヤノン株式会社
画像形成装置
1か月前
キヤノン株式会社
画像形成装置
23日前
キヤノン株式会社
画像形成装置
1か月前
キヤノン株式会社
画像形成装置
23日前
キヤノン株式会社
画像形成装置
12日前
キヤノン株式会社
画像形成装置
12日前
続きを見る
他の特許を見る