TOP
|
特許
|
意匠
|
商標
特許ウォッチ
Twitter
他の特許を見る
10個以上の画像は省略されています。
公開番号
2025142751
公報種別
公開特許公報(A)
公開日
2025-10-01
出願番号
2024042279
出願日
2024-03-18
発明の名称
電子機器
出願人
キヤノン株式会社
代理人
弁理士法人秀和特許事務所
主分類
H04N
23/60 20230101AFI20250924BHJP(電気通信技術)
要約
【課題】歪みのある画像の確認を容易に行えるようにする技術を提供する。
【解決手段】本発明の電子機器は、撮像された画像から、他の領域に比べ被写体の歪みが大きい領域を抽出する抽出手段と、前記抽出手段によって抽出された領域に対して、前記歪みを低減する画像処理を行うことによって、補正画像を取得する処理手段と、前記補正画像を表示するように制御する制御手段とを有することを特徴とする。
【選択図】図3
特許請求の範囲
【請求項1】
撮像された画像から、他の領域に比べ被写体の歪みが大きい領域を抽出する抽出手段と、
前記抽出手段によって抽出された領域に対して、前記歪みを低減する画像処理を行うことによって、補正画像を取得する処理手段と、
前記補正画像を表示するように制御する制御手段と
を有することを特徴とする電子機器。
続きを表示(約 1,100 文字)
【請求項2】
特定の被写体が含まれていない領域と前記特定の被写体が含まれている領域とが前記抽出手段によって抽出された場合に、前記制御手段は、前記特定の被写体が含まれていない前記領域に対して前記画像処理を行うことによって取得される補正画像は表示せず、前記特定の被写体が含まれている前記領域に対して前記画像処理を行うことによって取得される補正画像を表示するように制御する
ことを特徴とする請求項1に記載の電子機器。
【請求項3】
前記制御手段は、特定の被写体が含まれている領域に対して前記画像処理を行うことによって取得される補正画像を識別可能に表示するように制御する
ことを特徴とする請求項1に記載の電子機器。
【請求項4】
前記抽出手段によって抽出された領域に前記特定の被写体が含まれているか否かを判定する判定手段
をさらに有する
ことを特徴とする請求項2に記載の電子機器。
【請求項5】
前記特定の被写体は、前記抽出手段によって抽出された領域に依って異なる
ことを特徴とする請求項2に記載の電子機器。
【請求項6】
撮像された画像における有効画像領域を決定する決定手段
をさらに有し、
前記抽出手段は、前記有効画像領域から、他の領域に比べ被写体の歪みが大きい領域を抽出する
ことを特徴とする請求項1に記載の電子機器。
【請求項7】
前記決定手段は、撮像に使用されたレンズに基づいて有効画像領域を決定する
ことを特徴とする請求項6に記載の電子機器。
【請求項8】
前記決定手段は、撮像された画像の記録フォーマットに基づいて有効画像領域を決定する
ことを特徴とする請求項6に記載の電子機器。
【請求項9】
前記決定手段は、撮像された画像の再生フォーマットに基づいて有効画像領域を決定する
ことを特徴とする請求項6に記載の電子機器。
【請求項10】
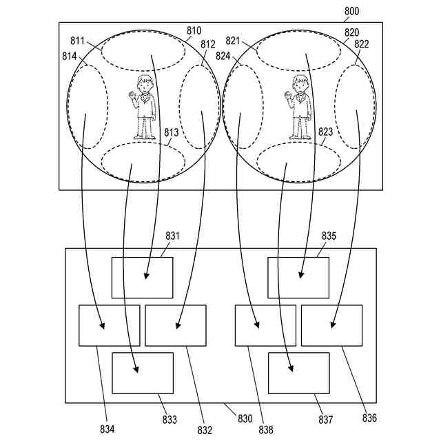
撮像された画像は、複数の光学系を介して撮像された複数の有効画像領域を含み、
前記複数の有効画像領域のうちの第1の有効画像領域における第1の領域と、前記複数の有効画像領域のうちの第2の有効画像領域における、前記第1の領域に対応する画角と略同一の画角に対応する第2の領域とが前記抽出手段によって抽出され、且つ、前記第1の領域に対して前記画像処理を行うことによって取得される補正画像が表示される場合に
、前記制御手段は、前記第2の領域に対して前記画像処理を行うことによって取得される補正画像を表示しないように制御する
ことを特徴とする請求項6に記載の電子機器。
(【請求項11】以降は省略されています)
発明の詳細な説明
【技術分野】
【0001】
本発明は電子機器に関し、特に撮像された画像を処理する技術に関する。
続きを表示(約 1,200 文字)
【背景技術】
【0002】
特許文献1には、撮影(記録)した画像の各領域を、撮影(記録)直後に自動的に拡大表示する技術が開示されている。
【先行技術文献】
【特許文献】
【0003】
特開2006-166086号公報
【発明の概要】
【発明が解決しようとする課題】
【0004】
しかしながら、特許文献1に開示の技術では、魚眼レンズを用いて撮影(被写体の画像の記録)を行った場合に、歪み(被写体の歪み)のある画像が表示され、画像の確認が困難である。
【0005】
本発明は、歪みのある画像の確認を容易に行えるようにする技術を提供することを目的とする。
【課題を解決するための手段】
【0006】
本発明の電子機器は、撮像された画像から、他の領域に比べ被写体の歪みが大きい領域を抽出する抽出手段と、前記抽出手段によって抽出された領域に対して、前記歪みを低減する画像処理を行うことによって、補正画像を取得する処理手段と、前記補正画像を表示するように制御する制御手段とを有することを特徴とする。
【発明の効果】
【0007】
本発明によれば、歪みのある画像の確認が容易に行えるようになる。
【図面の簡単な説明】
【0008】
撮像装置のブロック図である。
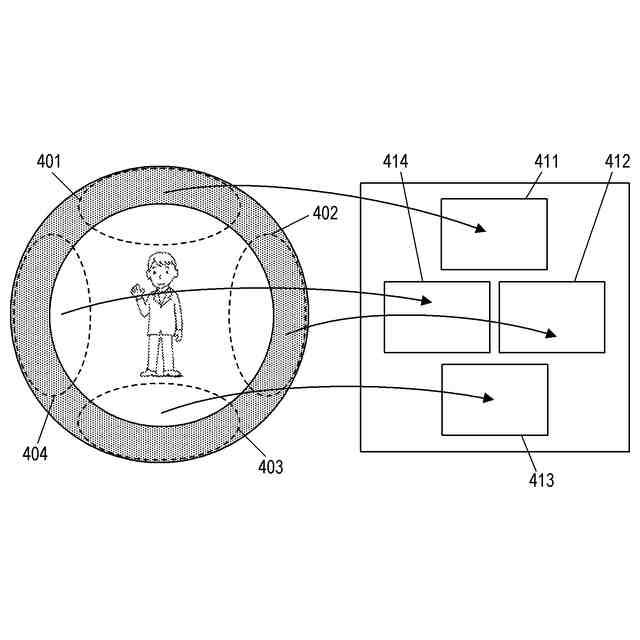
有効画像領域の模式図である。
有効画像領域と表示画面の模式図である。
有効画像領域と表示画面の模式図である。
撮像画像と表示画面の模式図である。
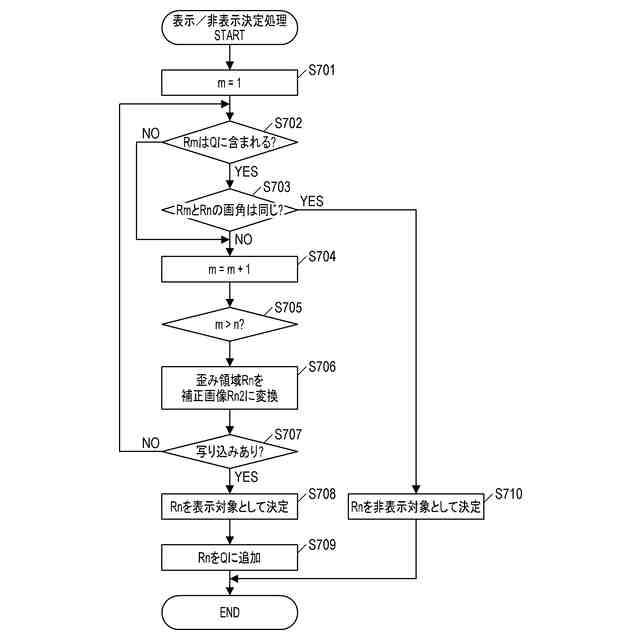
第1の実施形態に係る確認表示処理のフローチャートである。
表示/非表示決定処理のフローチャートである。
撮像画像と表示画面の模式図である。
撮像画像の模式図である。
第2の実施形態に係る確認表示処理のフローチャートである
システムの模式図である。
第3の実施形態に係る確認表示処理のフローチャートである
【発明を実施するための形態】
【0009】
(第1の実施形態)
本発明の第1の実施形態を説明する。図1は、第1の実施形態に係る電子機器の一例としての撮像装置100のハードウェアブロック図である。
【0010】
CPU101は、撮像装置100全体の制御を行う。Flash Memory102(半導体不揮発性メモリ)は、様々なデータ(情報)を記憶する。例えば、Flash Memory102には、CPU101で実行可能な様々なプログラム(例えば、アプリケーションプログラム)が予め格納されている。DRAM(Dynamic Random Access Memory)103は、様々なデータ(情報)を一時的に記憶する。例えば、DRAM103は、撮像画像(撮像された画像、撮像によって得られた画像)、および撮像画像の変換結果を、一時的に記憶する。
(【0011】以降は省略されています)
この特許をJ-PlatPat(特許庁公式サイト)で参照する
関連特許
キヤノン株式会社
容器
5日前
キヤノン株式会社
トナー
21日前
キヤノン株式会社
トナー
21日前
キヤノン株式会社
トナー
8日前
キヤノン株式会社
トナー
26日前
キヤノン株式会社
トナー
21日前
キヤノン株式会社
撮像装置
22日前
キヤノン株式会社
現像装置
19日前
キヤノン株式会社
測距装置
14日前
キヤノン株式会社
現像装置
12日前
キヤノン株式会社
記録装置
19日前
キヤノン株式会社
現像容器
19日前
キヤノン株式会社
現像装置
19日前
キヤノン株式会社
撮像装置
5日前
キヤノン株式会社
現像容器
19日前
キヤノン株式会社
定着装置
20日前
キヤノン株式会社
撮像装置
5日前
キヤノン株式会社
撮像装置
5日前
キヤノン株式会社
撮像装置
26日前
キヤノン株式会社
撮影装置
19日前
キヤノン株式会社
記録装置
5日前
キヤノン株式会社
電子機器
28日前
キヤノン株式会社
記録装置
26日前
キヤノン株式会社
光学センサ
21日前
キヤノン株式会社
半導体装置
28日前
キヤノン株式会社
現像剤容器
27日前
キヤノン株式会社
モジュール
21日前
キヤノン株式会社
画像形成装置
22日前
キヤノン株式会社
画像形成装置
13日前
キヤノン株式会社
画像形成装置
22日前
キヤノン株式会社
画像形成装置
6日前
キヤノン株式会社
表示システム
27日前
キヤノン株式会社
吐出素子基板
26日前
キヤノン株式会社
画像形成装置
26日前
キヤノン株式会社
画像形成装置
13日前
キヤノン株式会社
情報処理装置
26日前
続きを見る
他の特許を見る