TOP
|
特許
|
意匠
|
商標
特許ウォッチ
Twitter
他の特許を見る
公開番号
2025162667
公報種別
公開特許公報(A)
公開日
2025-10-28
出願番号
2024065994
出願日
2024-04-16
発明の名称
情報処理装置
出願人
キヤノン株式会社
代理人
弁理士法人秀和特許事務所
主分類
G06T
19/00 20110101AFI20251021BHJP(計算;計数)
要約
【課題】コンピュータの処理量の大幅な増加を抑制しつつ、複合現実感や拡張現実感の違和感を低減する(複合現実感や拡張現実感をより現実感に近づける)ことを可能にする技術を提供する。
【解決手段】本発明の情報処理装置は、現実空間の映像である現実映像を取得する第1取得手段と、前記現実映像に合成する、仮想オブジェクトの映像である仮想映像を取得する第2取得手段と、前記仮想映像を解析する解析手段と、前記解析手段による解析の結果に基づいて前記現実映像を補正する補正手段とを有することを特徴とする。
【選択図】図1
特許請求の範囲
【請求項1】
現実空間の映像である現実映像を取得する第1取得手段と、
前記現実映像に合成する、仮想オブジェクトの映像である仮想映像を取得する第2取得手段と、
前記仮想映像を解析する解析手段と、
前記解析手段による解析の結果に基づいて前記現実映像を補正する補正手段と
を有することを特徴とする情報処理装置。
続きを表示(約 830 文字)
【請求項2】
前記第1取得手段は、前記現実空間を撮像する撮像手段である
ことを特徴とする請求項1に記載の情報処理装置。
【請求項3】
前記補正手段による補正後の映像に前記仮想映像を合成する合成手段
をさらに有する
ことを特徴とする請求項1に記載の情報処理装置。
【請求項4】
前記合成手段による合成後の映像を表示する表示手段
をさらに有する
ことを特徴とする請求項3に記載の情報処理装置。
【請求項5】
前記補正手段は、前記現実映像の輝度、色度、ガンマ特性、ノイズ、歪み、位置、および解像度の少なくともいずれかを補正する
ことを特徴とする請求項1に記載の情報処理装置。
【請求項6】
前記現実映像を解析する第2解析手段
をさらに有し、
前記補正手段は、前記解析手段による解析の結果と前記第2解析手段による解析の結果とに基づいて、前記現実映像を補正する
ことを特徴とする請求項1に記載の情報処理装置。
【請求項7】
前記第2解析手段による解析の結果は、前記現実映像の奥行情報と区分情報の少なくとも一方を含む
ことを特徴とする請求項6に記載の情報処理装置。
【請求項8】
前記補正手段は、前記解析手段による解析の結果と前記第2解析手段による解析の結果とに基づいて、前記現実映像と前記仮想映像を補正する
ことを特徴とする請求項6に記載の情報処理装置。
【請求項9】
前記仮想映像の補正は、仮想オブジェクトを追加する補正を含む
ことを特徴とする請求項8に記載の情報処理装置。
【請求項10】
前記解析手段は、前記仮想映像のメタデータを解析する
ことを特徴とする請求項1に記載の情報処理装置。
(【請求項11】以降は省略されています)
発明の詳細な説明
【技術分野】
【0001】
本発明は、情報処理装置に関し、特に現実空間の映像に仮想オブジェクトの映像を合成する技術に関する。
続きを表示(約 1,200 文字)
【背景技術】
【0002】
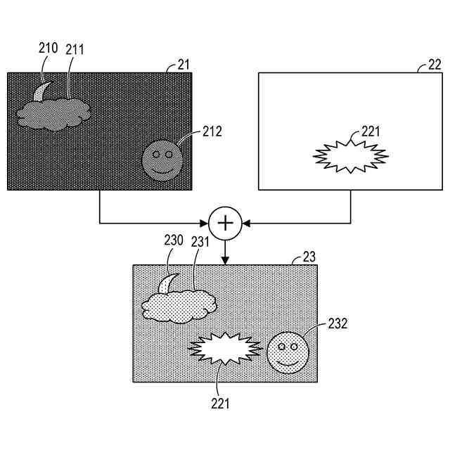
現実空間の映像(現実映像)に仮想オブジェクトの映像(仮想映像)を合成した映像を表示することによって、複合現実感(MR:Mixed Reality)や拡張現実感(AR:Augmented Reality)を提供する技術が提案されている。そして、そのような技術に関し、複合現実感や拡張現実感の違和感を低減する(複合現実感や拡張現実感をより現実感に近づける)ために、仮想映像を補正する技術が提案されている。
【0003】
特許文献1には、追加の仮想映像を生成する技術が開示されている。特許文献2には、仮想映像の輝度や色度を補正する技術が開示されている。
【先行技術文献】
【特許文献】
【0004】
特開2000-352960号公報
特開2021-056963号公報
【発明の概要】
【発明が解決しようとする課題】
【0005】
しかしながら、特許文献1,2に開示の技術では、仮想映像が追加または補正されるため、コンピュータの処理量が大きく、現実映像に対する仮想映像の合成が遅延する虞がある。この遅延により、合成によって得られる合成映像において現実映像と仮想映像の位置ずれが生じる。また、位置ずれを抑制しようとすると、現実映像の表示が遅延する。
【0006】
本発明は、コンピュータの処理量の大幅な増加を抑制しつつ、複合現実感や拡張現実感の違和感を低減する(複合現実感や拡張現実感をより現実感に近づける)ことを可能にする技術を提供することを目的とする。
【課題を解決するための手段】
【0007】
本発明の第1の態様は、現実空間の映像である現実映像を取得する第1取得手段と、前記現実映像に合成する、仮想オブジェクトの映像である仮想映像を取得する第2取得手段と、前記仮想映像を解析する解析手段と、前記解析手段による解析の結果に基づいて前記現実映像を補正する補正手段とを有することを特徴とする情報処理装置である。
【0008】
本発明の第2の態様は、現実空間の映像である現実映像を取得する第1取得ステップと、前記現実映像に合成する、仮想オブジェクトの映像である仮想映像を取得する第2取得ステップと、前記仮想映像を解析する解析ステップと、前記解析ステップにおける解析の結果に基づいて前記現実映像を補正する補正ステップとを有することを特徴とする情報処理装置の制御方法である。
【0009】
本発明の第3の態様は、コンピュータを上記情報処理装置の各手段として機能させるためのプログラムである。
【発明の効果】
【0010】
本発明によれば、コンピュータの処理量の大幅な増加を抑制しつつ、複合現実感や拡張現実感の違和感を低減する(複合現実感や拡張現実感をより現実感に近づける)ことが可能になる。
【図面の簡単な説明】
(【0011】以降は省略されています)
この特許をJ-PlatPat(特許庁公式サイト)で参照する
関連特許
キヤノン株式会社
トナー
15日前
キヤノン株式会社
測距装置
17日前
キヤノン株式会社
電子機器
15日前
キヤノン株式会社
記録装置
15日前
キヤノン株式会社
定着装置
8日前
キヤノン株式会社
記録装置
8日前
キヤノン株式会社
記録装置
15日前
キヤノン株式会社
撮像装置
2日前
キヤノン株式会社
電子機器
15日前
キヤノン株式会社
定着装置
8日前
キヤノン株式会社
撮像装置
2日前
キヤノン株式会社
定着装置
8日前
キヤノン株式会社
定着装置
2日前
キヤノン株式会社
撮像装置
16日前
キヤノン株式会社
撮像装置
15日前
キヤノン株式会社
撮像装置
10日前
キヤノン株式会社
電子機器
10日前
キヤノン株式会社
雲台装置
15日前
キヤノン株式会社
定着装置
2日前
キヤノン株式会社
液体収容体
17日前
キヤノン株式会社
露光ヘッド
8日前
キヤノン株式会社
画像形成装置
3日前
キヤノン株式会社
画像形成装置
3日前
キヤノン株式会社
画像形成装置
16日前
キヤノン株式会社
画像形成装置
3日前
キヤノン株式会社
眼科撮像装置
3日前
キヤノン株式会社
情報処理装置
16日前
キヤノン株式会社
画像形成装置
3日前
キヤノン株式会社
画像形成装置
3日前
キヤノン株式会社
画像形成装置
16日前
キヤノン株式会社
画像形成装置
8日前
キヤノン株式会社
画像形成装置
16日前
キヤノン株式会社
画像形成装置
16日前
キヤノン株式会社
画像形成装置
3日前
キヤノン株式会社
画像形成装置
8日前
キヤノン株式会社
画像形成装置
8日前
続きを見る
他の特許を見る