TOP
|
特許
|
意匠
|
商標
特許ウォッチ
Twitter
他の特許を見る
10個以上の画像は省略されています。
公開番号
2025169833
公報種別
公開特許公報(A)
公開日
2025-11-14
出願番号
2024075011
出願日
2024-05-04
発明の名称
画像形成装置
出願人
キヤノン株式会社
代理人
個人
,
個人
主分類
G03G
21/00 20060101AFI20251107BHJP(写真;映画;光波以外の波を使用する類似技術;電子写真;ホログラフイ)
要約
【課題】ファーブラシへのバイアスの印加に起因する感光体の帯電不良を抑制しつつ、ファーブラシの累積の使用量によらずに適切なバイアスをファーブラシに印加することを可能とする。
【解決手段】画像形成装置100は、クリーニングバイアス印加部E5によりブラシ62に複数の試験バイアスが印加された際の検知部21による検知結果に基づいてクリーニングバイアスの値を設定する設定動作を非画像形成時に実行するように制御することが可能な制御部201を有する。転写位置Pdを通過した後に最初にブラシクリーニング位置Peに到達する直前の感光体1の表面電位をブラシ前電位としたとき、制御部201は、設定動作時の複数の試験バイアスがブラシ62に印加される際にブラシクリーニング位置Peを通過する感光体1上の領域のブラシ前電位が、画像形成時の感光体上の非画像部のブラシ前電位に対して、トナーの正規の帯電極性側に大きい値となるように制御する。
【選択図】図11
特許請求の範囲
【請求項1】
回転可能な感光体と、
帯電位置で前記感光体の表面を帯電させる帯電装置と、
前記帯電装置に前記感光体の表面を帯電させるための帯電バイアスを印加する帯電バイアス印加部と、
前記感光体の表面にトナーを供給する現像装置と、
転写位置で前記感光体の表面から被転写体にトナーを転写させる転写装置と、
前記転写装置に前記感光体から前記被転写体にトナーを転写させるための転写バイアスを印加する転写バイアス印加部と、
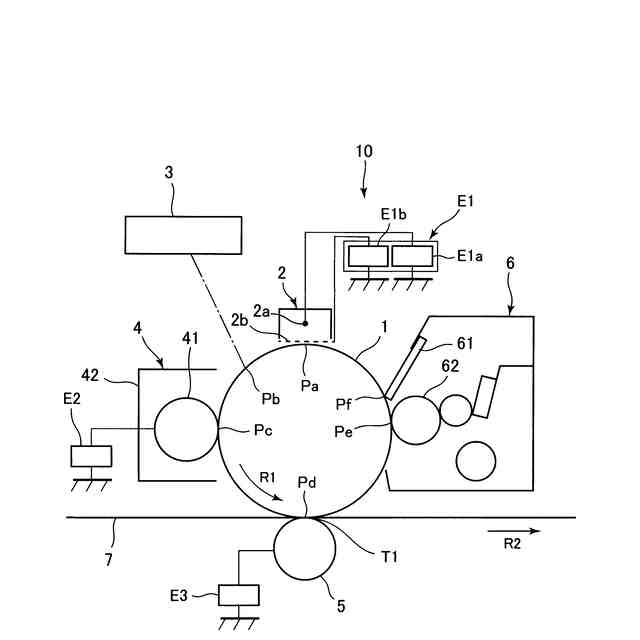
前記感光体の回転方向に関して前記転写位置よりも下流かつ前記帯電位置よりも上流のブレードクリーニング位置で前記感光体の表面に当接し、前記感光体の表面からトナーを除去するクリーニングブレードと、
前記感光体の回転方向に関して前記転写位置よりも下流かつ前記ブレードクリーニング位置よりも上流のブラシクリーニング位置で前記感光体の表面に接触し、前記感光体の表面からトナーを除去する回転可能なローラ状のブラシと、
前記ブラシにトナーの正規の帯電極性とは逆極性のクリーニングバイアスを印加するクリーニングバイアス印加部と、
前記ブラシに流れる電流又は前記ブラシにかかる電圧を検知する検知部と、
前記クリーニングバイアス印加部により前記ブラシに複数の試験バイアスが印加された際の前記検知部による検知結果に基づいて前記クリーニングバイアスの値を設定する設定動作を非画像形成時に実行するように制御することが可能な制御部と、
を有し、
前記転写位置を通過した後に最初に前記ブラシクリーニング位置に到達する直前の前記感光体の表面電位をブラシ前電位としたとき、前記制御部は、前記設定動作時の前記複数の試験バイアスが前記ブラシに印加される際に前記ブラシクリーニング位置を通過する前記感光体上の領域の前記ブラシ前電位が、画像形成時の前記感光体上の非画像部の前記ブラシ前電位に対して、トナーの正規の帯電極性側に大きい値となるように制御することを特徴とする画像形成装置。
続きを表示(約 1,900 文字)
【請求項2】
前記制御部は、前記帯電装置に前記帯電バイアスが印加されている際に前記帯電位置を通過し、前記転写装置に前記転写バイアスが印加されていない際に前記転写位置を通過した前記感光体上の領域が、前記ブラシクリーニング位置を通過している際に、前記ブラシに前記複数の試験バイアスが印加されるように制御することを特徴とする請求項1に記載の画像形成装置。
【請求項3】
前記感光体の回転方向に関して前記転写位置よりも下流かつ前記ブラシクリーニング位置よりも上流のクリーニング前除電位置で前記感光体の表面の電荷の少なくとも一部を除去する除電処理を行うクリーニング前除電装置を有し、
前記制御部は、前記帯電装置に前記帯電バイアスが印加されている際に前記帯電位置を通過し、前記転写装置に前記転写バイアスが印加されていない際に前記転写位置を通過し、前記クリーニング前除電装置により前記除電処理が行われていない際に前記クリーニング前除電位置を通過した前記感光体上の領域が、前記ブラシクリーニング位置を通過している際に、前記ブラシに前記複数の試験バイアスが印加されるように制御することを特徴とする請求項1に記載の画像形成装置。
【請求項4】
前記クリーニング前除電装置は、前記感光体の表面に光を照射して前記除電処理を行うことを特徴とする請求項3に記載の画像形成装置。
【請求項5】
前記ブラシの累積の使用量と相関する使用履歴情報を記憶する記憶部を有し、
前記制御部は、前記設定動作時の前記複数の試験バイアスが前記ブラシに印加される際に前記ブラシクリーニング位置を通過する前記感光体上の領域の前記ブラシ前電位を、前記使用履歴情報に基づいて変更するように制御することを特徴とする請求項1に記載の画像形成装置。
【請求項6】
前記制御部は、前記使用履歴情報が示す前記ブラシの累積の使用量が第1の使用量である場合には、前記設定動作時の前記複数の試験バイアスが前記ブラシに印加される際に前記ブラシクリーニング位置を通過する前記感光体上の領域の前記ブラシ前電位が、第1の表面電位となるように制御し、前記使用履歴情報が示す前記ブラシの累積の使用量が前記第1の使用量よりも大きい第2の使用量である場合には、前記設定動作時の前記複数の試験バイアスが前記ブラシに印加される際に前記ブラシクリーニング位置を通過する前記感光体上の領域の前記ブラシ前電位が、前記第1の表面電位に対してトナーの正規の帯電極性側に大きい第2の表面電位となるように制御することを特徴とする請求項5に記載の画像形成装置。
【請求項7】
前記制御部は、前記複数の試験バイアスのうちの少なくとも1つの値を、前記使用履歴情報に基づいて変更するように制御することを特徴とする請求項5に記載の画像形成装置。
【請求項8】
前記制御部は、前記使用履歴情報が示す前記ブラシの累積の使用量が第1の使用量である場合の、前記複数の試験バイアスのうち絶対値が最も大きい試験バイアスの絶対値よりも、前記使用履歴情報が示す前記ブラシの累積の使用量が前記第1の使用量よりも大きい第2の使用量である場合の、前記複数の試験バイアスのうち絶対値が最も大きい試験バイアスの絶対値の方が大きくなるように制御することを特徴とする請求項7に記載の画像形成装置。
【請求項9】
前記制御部は、前記使用履歴情報が示す前記ブラシの累積の使用量が第1の使用量である場合には、前記ブラシに順次印加される前記複数の試験バイアスにおける試験バイアスの間の差分が第1の差分となるように制御し、前記使用履歴情報が示す前記ブラシの累積の使用量が前記第1の使用量よりも大きい第2の使用量である場合には、前記ブラシに順次印加される前記複数の試験バイアスにおける試験バイアスの間の差分が前記第1の差分よりも大きい第2の差分となるように制御することを特徴とする請求項7に記載の画像形成装置。
【請求項10】
前記制御部は、前記使用履歴情報が示す前記ブラシの累積の使用量が第1の使用量である場合には、前記複数の試験バイアスの数が第1の数となるように制御し、前記使用履歴情報が示す前記ブラシの累積の使用量が前記第1の使用量よりも大きい第2の使用量である場合には、前記複数の試験バイアスの数が前記第1の数よりも大きい第2の数となるように制御することを特徴とする請求項7に記載の画像形成装置。
(【請求項11】以降は省略されています)
発明の詳細な説明
【技術分野】
【0001】
本発明は、電子写真方式を用いた複写機、プリンタ、ファクシミリ装置などの画像形成装置に関するものである。
続きを表示(約 2,900 文字)
【背景技術】
【0002】
従来、電子写真方式の画像形成装置では、帯電、露光、現像の各工程を経て感光体の表面に形成されたトナー像が、記録材に直接転写されたり、中間転写体を介して記録材に転写されたりする。感光体から被転写体である記録材や中間転写体へのトナー像の転写工程を終えた感光体の表面には未転写のトナー(転写残トナー)や、トナーの外添剤、放電生成物などが残留する。そのため、これらを次の画像形成プロセスに先だって感光体の表面から除去することが必要になる。転写残トナーなどを感光体の表面から除去する方法としては、ファーブラシ、磁気ブラシなどを使用する方法や、クリーニングブレードを使用する方法など、種々の方法が使用されている。これらの中で、クリーニングブレードによって感光体の表面を摺擦して転写残トナーを感光体の表面から掻き落とす方法が、比較的簡易な構成で安価であることなどにより広く使用されている。
【0003】
近年の画像形成装置の高速化、高画質化に伴い、使用されるトナーが低融点化し、また使用されるトナーが球形に近くなり、クリーニングブレードだけではクリーニング性の確保が難しくなってきた。
【0004】
そこで、クリーニングブレードによる転写残トナーの除去を補助するクリーニング補助手段を使用する方法がある。例えば、感光体の表面の移動方向に関してクリーニングブレードよりも上流に、感光体の表面に接触するファーブラシ(ブラシローラ)を配置する方法がある(特許文献1)。このファーブラシにバイアスを印加することで、クリーニングブレードに到達する前の転写残トナーの少なくとも一部をファーブラシによって感光体の表面から除去することができる。これにより、クリーニングブレードと感光体との当接部(ここでは、「ブレードニップ」ともいう。)の近傍に形成されたトナーの外添剤の堆積物(ここでは、「外添ダム層」ともいう。)が安定的に維持される。その結果、ブレードニップの近傍に存在するトナーが融解し、感光体上に固着する現象(ここでは、「トナー融着」ともいう。)の発生が抑制される。
【0005】
このように、近年の画像形成装置の高速化、長寿命化に応えるためにも、感光体のクリーニング性を向上させるクリーニング補助手段としてのファーブラシの役割が重要になってきている。
【先行技術文献】
【特許文献】
【0006】
特開2023-26989号公報
【発明の概要】
【発明が解決しようとする課題】
【0007】
しかしながら、ファーブラシの累積の使用量が増加すると、ファーブラシに侵入して接触している部材(清掃対象である感光体や、ファーブラシからトナーを回収する回収部材など)の影響により繊維の毛倒れ(永久変形)が生じて、ファーブラシの外径が小さくなる傾向がある。ファーブラシの外径が小さくなると、感光体の表面の移動方向に関する感光体とファーブラシとの接触幅が小さくなり、感光体とファーブラシとの間の接触抵抗(電気抵抗)が上昇する。
【0008】
そのため、ファーブラシに印加するバイアスの値を所定の電圧値に固定すると、ファーブラシの累積の使用量が増加するにつれて、ファーブラシに流れる電流の値が低下する。その結果、ファーブラシと感光体との間にトナーの回収のために必要な電流(クリーニング電流)が流れなくなって、ファーブラシによるトナーのクリーニング性が低下する。ファーブラシによるトナーのクリーニング性が低下すると、トナーがファーブラシをすり抜け、そのトナーがクリーニングブレードの近傍に堆積していた外添ダム層を壊してしまうことがある。これにより、ブレードニップの近傍に存在するトナーが融解し、トナー融着が発生してしまうことがある。一方、予めファーブラシの外径が小さくなることを想定して、ファーブラシに印加するバイアスの値を高く設定すると、ファーブラシの使用初期段階ではファーブラシと感光体との間に過大な電流が流れる可能性がある。これにより、感光体に「ポジメモリ」とよばれる現象が発生する可能性がある。ポジメモリは、感光体の正規の帯電極性が負極性である場合に、感光体が正規の帯電極性とは逆極性である正極性になることで、帯電工程で感光体を均一に負極性の所定の帯電電位に帯電させられず、画像の濃度ムラなどの画像不良が発生する現象である。
【0009】
そこで、本発明の目的は、ファーブラシへのバイアスの印加に起因する感光体の帯電不良を抑制しつつ、ファーブラシの累積の使用量によらずに適切なバイアスをファーブラシに印加することを可能とすることである。
【課題を解決するための手段】
【0010】
上記目的は本発明に係る画像形成装置にて達成される。要約すれば、本発明は、回転可能な感光体と、帯電位置で前記感光体の表面を帯電させる帯電装置と、前記帯電装置に前記感光体の表面を帯電させるための帯電バイアスを印加する帯電バイアス印加部と、前記感光体の表面にトナーを供給する現像装置と、転写位置で前記感光体の表面から被転写体にトナーを転写させる転写装置と、前記転写装置に前記感光体から前記被転写体にトナーを転写させるための転写バイアスを印加する転写バイアス印加部と、前記感光体の回転方向に関して前記転写位置よりも下流かつ前記帯電位置よりも上流のブレードクリーニング位置で前記感光体の表面に当接し、前記感光体の表面からトナーを除去するクリーニングブレードと、前記感光体の回転方向に関して前記転写位置よりも下流かつ前記ブレードクリーニング位置よりも上流のブラシクリーニング位置で前記感光体の表面に接触し、前記感光体の表面からトナーを除去する回転可能なローラ状のブラシと、前記ブラシにトナーの正規の帯電極性とは逆極性のクリーニングバイアスを印加するクリーニングバイアス印加部と、前記ブラシに流れる電流又は前記ブラシにかかる電圧を検知する検知部と、前記クリーニングバイアス印加部により前記ブラシに複数の試験バイアスが印加された際の前記検知部による検知結果に基づいて前記クリーニングバイアスの値を設定する設定動作を非画像形成時に実行するように制御することが可能な制御部と、を有し、前記転写位置を通過した後に最初に前記ブラシクリーニング位置に到達する直前の前記感光体の表面電位をブラシ前電位としたとき、前記制御部は、前記設定動作時の前記複数の試験バイアスが前記ブラシに印加される際に前記ブラシクリーニング位置を通過する前記感光体上の領域の前記ブラシ前電位が、画像形成時の前記感光体上の非画像部の前記ブラシ前電位に対して、トナーの正規の帯電極性側に大きい値となるように制御することを特徴とする画像形成装置である。
【発明の効果】
(【0011】以降は省略されています)
この特許をJ-PlatPat(特許庁公式サイト)で参照する
関連特許
キヤノン株式会社
容器
1か月前
キヤノン株式会社
容器
1か月前
キヤノン株式会社
トナー
1か月前
キヤノン株式会社
トナー
2か月前
キヤノン株式会社
トナー
1か月前
キヤノン株式会社
トナー
2か月前
キヤノン株式会社
トナー
2か月前
キヤノン株式会社
現像装置
2か月前
キヤノン株式会社
撮像装置
13日前
キヤノン株式会社
表示装置
13日前
キヤノン株式会社
現像容器
2か月前
キヤノン株式会社
現像装置
2か月前
キヤノン株式会社
表示装置
13日前
キヤノン株式会社
記録装置
1か月前
キヤノン株式会社
表示装置
6日前
キヤノン株式会社
定着装置
27日前
キヤノン株式会社
撮像装置
15日前
キヤノン株式会社
現像容器
2か月前
キヤノン株式会社
電子機器
6日前
キヤノン株式会社
電子機器
2日前
キヤノン株式会社
定着装置
27日前
キヤノン株式会社
電子機器
1か月前
キヤノン株式会社
撮像装置
6日前
キヤノン株式会社
撮像装置
13日前
キヤノン株式会社
記録装置
27日前
キヤノン株式会社
測距装置
1か月前
キヤノン株式会社
表示装置
13日前
キヤノン株式会社
雲台装置
1か月前
キヤノン株式会社
現像装置
1か月前
キヤノン株式会社
定着装置
27日前
キヤノン株式会社
撮像装置
1か月前
キヤノン株式会社
電子機器
29日前
キヤノン株式会社
撮像装置
6日前
キヤノン株式会社
撮像装置
1か月前
キヤノン株式会社
電子機器
1か月前
キヤノン株式会社
記録装置
1か月前
続きを見る
他の特許を見る