TOP
|
特許
|
意匠
|
商標
特許ウォッチ
Twitter
他の特許を見る
公開番号
2025178692
公報種別
公開特許公報(A)
公開日
2025-12-09
出願番号
2024085451
出願日
2024-05-27
発明の名称
電子機器
出願人
キヤノン株式会社
代理人
弁理士法人秀和特許事務所
主分類
H04N
23/63 20230101AFI20251202BHJP(電気通信技術)
要約
【課題】オブジェクトに対するタッチの誤検出を低減することのできる技術を提供する。
【解決手段】本発明の電子機器は、タッチに応じて機能が実行される第1オブジェクトを表示するように制御する制御手段を有し、前記制御手段は、移動可能な第2オブジェクトをさらに表示するように制御可能であり、前記第2オブジェクトが前記第1オブジェクトに重なっていない場合は、タッチを前記第2オブジェクトへのタッチとして検出する第1タッチ検出領域として、第1サイズの領域を設定し、前記第2オブジェクトが前記第1オブジェクトに重なっている場合は、前記第1タッチ検出領域として、前記第1サイズよりも大きい第2サイズの領域を設定することを特徴とする。
【選択図】図5
特許請求の範囲
【請求項1】
タッチに応じて機能が実行される第1オブジェクトを表示するように制御する制御手段を有し、
前記制御手段は、
移動可能な第2オブジェクトをさらに表示するように制御可能であり、
前記第2オブジェクトが前記第1オブジェクトに重なっていない場合は、タッチを前記第2オブジェクトへのタッチとして検出する第1タッチ検出領域として、第1サイズの領域を設定し、
前記第2オブジェクトが前記第1オブジェクトに重なっている場合は、前記第1タッチ検出領域として、前記第1サイズよりも大きい第2サイズの領域を設定する
ことを特徴とする電子機器。
続きを表示(約 1,200 文字)
【請求項2】
前記制御手段は、
前記第1オブジェクトである撮像画像と、操作パネルを表示するためのアイテムとを表示するように制御し、
前記第2オブジェクトが前記アイテムに重なっている場合は、前記第1タッチ検出領域として、前記第1サイズの領域を設定し、
前記第2オブジェクトが前記撮像画像に重なっている場合は、前記第1タッチ検出領域として、前記第2サイズの領域を設定する
ことを特徴とする請求項1に記載の電子機器。
【請求項3】
前記第1オブジェクトは、撮像装置から取得された撮像画像を含み、
前記制御手段は、前記撮像画像がタッチされると、当該タッチの位置に応じて前記撮像装置の撮像光学系を制御する指示を出力する
こと特徴とする請求項1に記載の電子機器。
【請求項4】
前記第1オブジェクトは、撮像画像を含み、
前記第2オブジェクトは、前記撮像画像の特徴を表す特徴画像を含む
ことを特徴とする請求項1に記載の電子機器。
【請求項5】
前記制御手段は、前記第2オブジェクトに対して設定された第2タッチ検出領域にタッチして、タッチ位置を移動させるタッチ操作に応じて、前記第2オブジェクトを移動させるように制御する
ことを特徴とする請求項1に記載の電子機器。
【請求項6】
前記制御手段は、前記第1タッチ検出領域のサイズは変更するが、前記第2タッチ検出領域のサイズは変更しない
ことを特徴とする請求項5に記載の電子機器。
【請求項7】
前記制御手段は、
前記第2オブジェクトの所定領域が前記第1オブジェクトに重なっていない場合は、前記第1タッチ検出領域として、前記所定領域を含む前記第1サイズの領域を設定し、
前記所定領域が前記第1オブジェクトに重なっている場合は、前記第1タッチ検出領域として、前記所定領域を含む前記第2サイズの領域を設定する
ことを特徴とする請求項1に記載の電子機器。
【請求項8】
前記所定領域は、前記第1サイズの前記第1タッチ検出領域と同じ領域である
ことを特徴とする請求項7に記載の電子機器。
【請求項9】
前記第2オブジェクトは四角形のオブジェクトであり、
前記制御手段は、前記第2オブジェクトの4隅、または前記第2オブジェクトの4辺に配置された4つの所定領域にそれぞれ対応する4つの第1タッチ検出領域を設定する
ことを特徴とする請求項7に記載の電子機器。
【請求項10】
前記制御手段は、前記第1タッチ検出領域にタッチして、タッチ位置を移動させるタッチ操作に応じて、前記第2オブジェクトのサイズを変更する
ことを特徴とする請求項9に記載の電子機器。
(【請求項11】以降は省略されています)
発明の詳細な説明
【技術分野】
【0001】
本発明は、電子機器に関し、特に、表示されたオブジェクトに対するタッチを検出する技術に関する。
続きを表示(約 1,600 文字)
【背景技術】
【0002】
カメラと無線で接続し、カメラを遠隔操作することが可能なアプリケーションソフトが存在する。このようなアプリケーションソフトは、スマートフォンやタブレットデバイス、パーソナルコンピュータなどのリモート端末上で動作し、ユーザーがカメラを遠隔操作したい場合に有用である。
【0003】
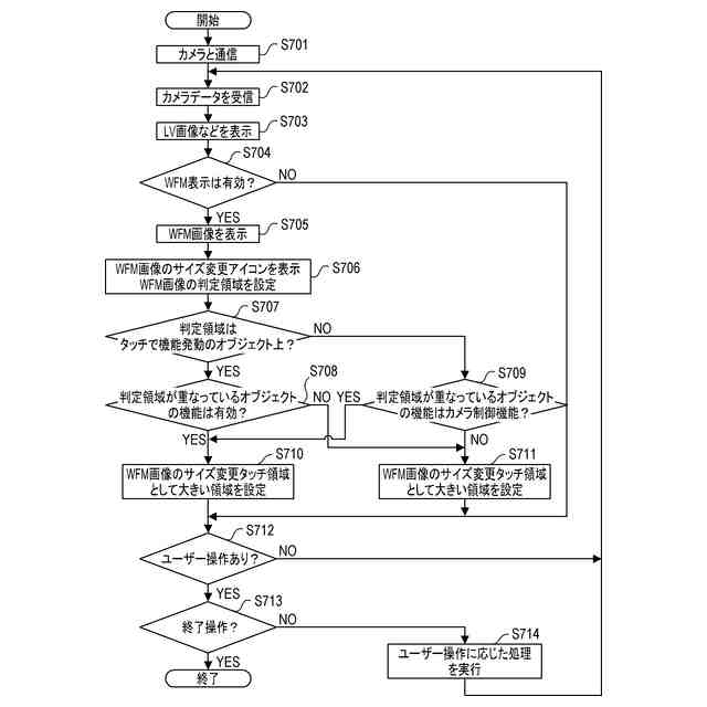
また、このようなアプリケーションソフトでは、カメラのライブビュー画像(LV画像)を取得し、リモート端末上の画面に表示することがある。ユーザーがLV画像を確認しながらカメラを操作できるよう、LV画像と操作部材を1つの画面に表示することもある。さらに、LV画像の特徴を表す特徴画像(例えば、LV画像の輝度分布を表す波形モニター(WFM)画像)など、移動(および拡縮)が可能な特定のオブジェクトを表示することもある。
【0004】
特許文献1には、移動速度が速いオブジェクトに対して、タッチを当該オブジェクトへのタッチとして検出する検出領域として、静止しているオブジェクトの検出領域よりも大きい領域を設定する技術が開示されている。
【先行技術文献】
【特許文献】
【0005】
特開2012-217101号公報
【発明の概要】
【発明が解決しようとする課題】
【0006】
しかしながら、従来技術では、ユーザーが上記特定のオブジェクトにタッチしたつもりでも、当該タッチがLV画像や操作部材に対するタッチとして検出され、意図せぬ機能が実行されることがある。ユーザーが特定のオブジェクトとは異なるオブジェクトにタッチしたつもりでも、当該タッチが特定のオブジェクトに対するタッチとして検出され、意図せぬ機能が実行されることもある。
【0007】
WFM画像がLV画像に重ねて表示され、WFM画像の隅にタッチしてタッチ位置を移動させるタッチ操作に応じてWFM画像のサイズが変更され、LV画像へのタッチに応じてオートフォーカス処理が行われる場合を考える。この場合に、特許文献1に開示の技術を用いると、WFM画像は静止しているため、WFM画像の検出領域として小さい領域が設定される。そのため、タッチがWFM画像の検出領域から外れやすく、ユーザーがWFM画像の隅にタッチしたつもりでも、当該タッチがLV画像に対するタッチとして検出されてオートフォーカス処理が実行されやすい。WFM画像の検出領域として大きい領域を設定すれば、タッチがWFM画像の検出領域に含まれやすくなる。しかし、ユーザーがWFM画像とは異なるオブジェクトにタッチしたつもりでも、当該タッチがWFM画像の隅に対するタッチとして検出されてWFM画像のサイズ変更が実行されやすくなる。
【0008】
本発明は、オブジェクトに対するタッチの誤検出を低減することのできる技術を提供することを目的とする。
【課題を解決するための手段】
【0009】
本発明の電子機器は、タッチに応じて機能が実行される第1オブジェクトを表示するように制御する制御手段を有し、前記制御手段は、移動可能な第2オブジェクトをさらに表示するように制御可能であり、前記第2オブジェクトが前記第1オブジェクトに重なっていない場合は、タッチを前記第2オブジェクトへのタッチとして検出する第1タッチ検出領域として、第1サイズの領域を設定し、前記第2オブジェクトが前記第1オブジェクトに重なっている場合は、前記第1タッチ検出領域として、前記第1サイズよりも大きい第2サイズの領域を設定することを特徴とする。
【発明の効果】
【0010】
本発明によれば、オブジェクトに対するタッチの誤検出を低減することができる。
【図面の簡単な説明】
(【0011】以降は省略されています)
この特許をJ-PlatPat(特許庁公式サイト)で参照する
関連特許
キヤノン株式会社
トナー
1か月前
キヤノン株式会社
表示装置
4日前
キヤノン株式会社
撮像装置
11日前
キヤノン株式会社
電子機器
今日
キヤノン株式会社
撮像装置
19日前
キヤノン株式会社
定着装置
25日前
キヤノン株式会社
撮像装置
19日前
キヤノン株式会社
電子機器
1か月前
キヤノン株式会社
電子機器
27日前
キヤノン株式会社
測距装置
1か月前
キヤノン株式会社
定着装置
25日前
キヤノン株式会社
定着装置
19日前
キヤノン株式会社
記録装置
5日前
キヤノン株式会社
定着装置
19日前
キヤノン株式会社
表示装置
11日前
キヤノン株式会社
撮像装置
11日前
キヤノン株式会社
記録装置
5日前
キヤノン株式会社
電子機器
4日前
キヤノン株式会社
雲台装置
1か月前
キヤノン株式会社
記録装置
1か月前
キヤノン株式会社
撮像装置
4日前
キヤノン株式会社
撮像装置
4日前
キヤノン株式会社
撮像装置
4日前
キヤノン株式会社
撮像装置
27日前
キヤノン株式会社
撮像装置
1か月前
キヤノン株式会社
電子機器
1か月前
キヤノン株式会社
撮像装置
1か月前
キヤノン株式会社
表示装置
11日前
キヤノン株式会社
撮像装置
1か月前
キヤノン株式会社
撮像装置
4日前
キヤノン株式会社
撮像装置
4日前
キヤノン株式会社
撮像装置
13日前
キヤノン株式会社
二次電池
6日前
キヤノン株式会社
発光装置
11日前
キヤノン株式会社
記録装置
25日前
キヤノン株式会社
表示装置
11日前
続きを見る
他の特許を見る