TOP
|
特許
|
意匠
|
商標
特許ウォッチ
Twitter
他の特許を見る
公開番号
2025177507
公報種別
公開特許公報(A)
公開日
2025-12-05
出願番号
2024084414
出願日
2024-05-23
発明の名称
撮像装置
出願人
キヤノン株式会社
代理人
個人
,
個人
,
個人
,
個人
,
個人
主分類
H04N
23/65 20230101AFI20251128BHJP(電気通信技術)
要約
【課題】 フレームベースセンサから画像処理部への画像データの送信を効率的に行うことのできる撮像装置を提供する。
【解決手段】 イベントベースセンサが出力したイベント情報に基づいてフレームベースセンサから画像処理部に画像データを送信する際に、輝度変化のあった画素信号をメモリに保持して1フレームの画像データとしてまとめて送信する。
【選択図】 図1
特許請求の範囲
【請求項1】
輝度変化を検出した画素の座標と時間の情報を示すイベント情報を出力するイベントベースセンサと、フレーム単位で画像データを出力するフレームベースセンサと、画像処理部とを備える撮像装置であって、
前記フレームベースセンサは、前記イベント情報に基づいて輝度変化があった画素信号をメモリに保持してから1フレームの画像データとして前記画像処理部に送信し、
前記画像処理部は、前記イベント情報に基づいて前記輝度変化があった画素信号が含まれる所定の期間に前記フレームベースセンサから送信された1フレームの前記画像データを受信し、受信した前記画像データに所定の信号処理を施すことを特徴とする撮像装置。
続きを表示(約 710 文字)
【請求項2】
前記画像処理部は、1フレーム内で輝度変化があった箇所は新たに受信した画像データを使用し、1フレーム内で輝度変化が無かった箇所は前のフレームの画像データを使用して合成処理を実行することを特徴とする請求項1に記載の撮像装置。
【請求項3】
前記フレームベースセンサは、前記イベント情報に基づいて輝度変化があった画素信号を1水平期間単位でメモリに保持することを特徴とする請求項1に記載の撮像装置。
【請求項4】
前記画像処理部は、前記イベント情報に基づいて1フレームの前記画像データを受信する前記所定の期間を1水平期間単位で切り替えることを特徴とする請求項3に記載の撮像装置。
【請求項5】
前記フレームベースセンサは、前記イベント情報に基づいて輝度変化があった画素信号を1画素単位でメモリに保持することを特徴とする請求項1に記載の撮像装置。
【請求項6】
前記画像処理部は、前記イベント情報に基づいて1フレームの前記画像データを受信する前記所定の期間を1画素単位で切り替えることを特徴とする請求項5に記載の撮像装置。
【請求項7】
前記フレームベースセンサは、1フレーム内で輝度変化があった画素信号のデータ量に基づいて1フレームの前記画像データを送信するタイミングを制御することを特徴とする請求項1に記載の撮像装置。
【請求項8】
前記画像処理は、1フレーム内で輝度変化があった画素信号のデータ量に基づいて1フレームの前記画像データを受信するタイミングを制御することを特徴とする請求項1に記載の撮像装置。
発明の詳細な説明
【技術分野】
【0001】
本発明は、撮像装置に関する。
続きを表示(約 1,600 文字)
【背景技術】
【0002】
近年、特許文献1に記載されているようなイベントビジョンセンサが開発されている。イベントビジョンセンサでは、検出画素により入射光量の変化量(輝度変化)を所定の閾値と比較することにより被写体に何等かのイベントが生じたか否かを検出し、イベントが生じたことが検出された通常画素から撮像信号を読み出すように制御される。
【先行技術文献】
【特許文献】
【0003】
特開2020-96347号
【発明の概要】
【発明が解決しようとする課題】
【0004】
上記したイベントビジョンセンサでは、輝度変化が検出された領域の通常画素からのみ撮像信号を読み出し、輝度変化が検出されない領域の通常画素からは撮像信号を読み出さないように制御することで消費電力を削減できる。しかしながら、輝度変化が検出された領域が1フレーム内の複数箇所に点在している場合、イベントビジョンセンサからの撮像信号の読み出しを複数回に分けて行う必要があるため読み出し制御が煩雑になり、また消費電力も増加するという課題がある。
【課題を解決するための手段】
【0005】
上記課題を解決するために本発明の撮像装置は、輝度変化を検出した画素の座標と時間の情報を示すイベント情報を出力するイベントベースセンサと、フレーム単位で画像データを出力するフレームベースセンサと、画像処理部とを備える撮像装置であって、前記フレームベースセンサは、前記イベント情報に基づいて輝度変化があった画素信号をメモリに保持してから1フレームの画像データとして前記画像処理部に送信し、前記画像処理部は、前記イベント情報に基づいて前記輝度変化があった画素信号が含まれる所定の期間に前記フレームベースセンサから送信された1フレームの前記画像データを受信し、受信した前記画像データに所定の信号処理を施すことを特徴とする。
【発明の効果】
【0006】
本発明によれば、輝度変化が検出された領域が1フレーム内の複数箇所に点在している場合でも、フレームベースセンサから画像処理部への画像データの送受信を効率的に行うことができる。
【図面の簡単な説明】
【0007】
実施例における撮像装置の構成ブロック図である。
実施例における撮像装置の処理を説明するタイミングチャートである。
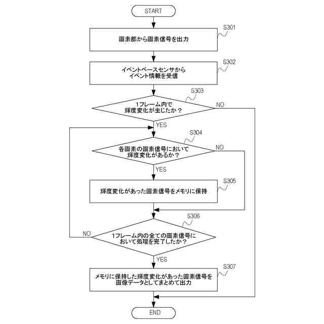
実施例におけるフレームベースセンサの処理を示すフローチャートである。
実施例における画像処理部の処理を示すフローチャートである。
実施例における信号処理部の画像合成を説明する図である。
【発明を実施するための形態】
【0008】
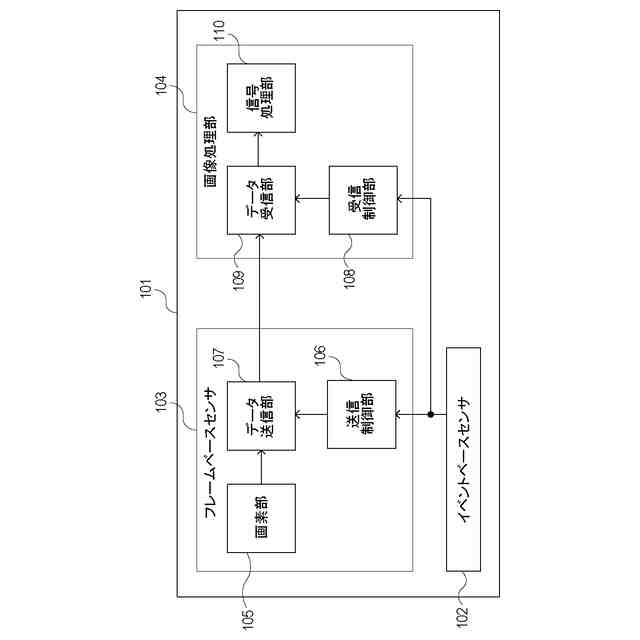
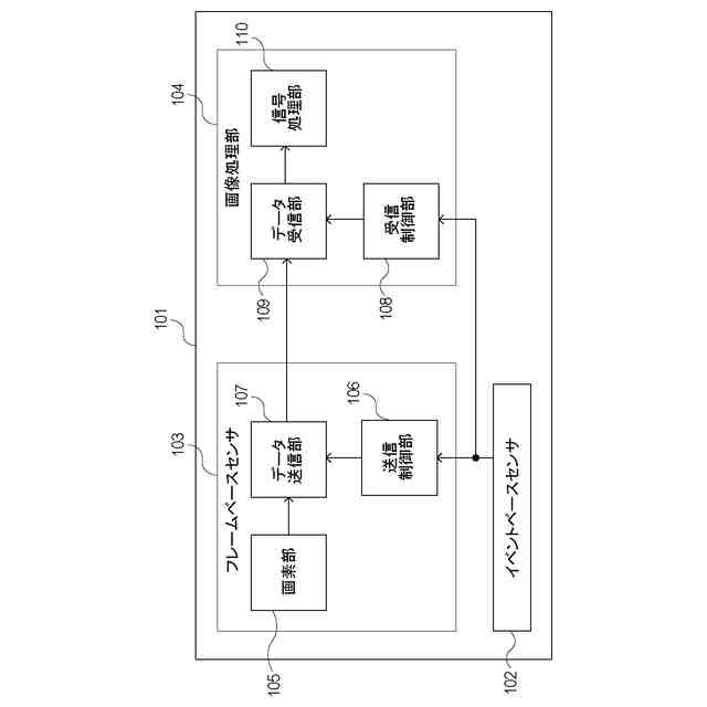
以下、本発明の実施形態について説明する。図1は、実施例における撮像装置の構成ブロック図である。
【0009】
図1に示すように、撮像装置101は、イベントベースセンサ102、フレームベースセンサ103、画像処理部104を備えている。イベントベースセンサ102は、各画素の輝度変化を検出し、輝度変化を検出した画素の「座標」および「時間の情報」を示すイベント情報をフレームベースセンサ103と画像処理部104に出力する。フレームベースセンサ103は、フレーム単位で画像データを出力する。
【0010】
イベントベースセンサ102は、受光部と輝度変化検出部からなる複数の画素を備えている。イベントベースセンサの受光部においてフォトダイオードなどの光電変換部が入射光に応じた電荷を生成し、生成された電荷に応じた電圧を出力する。輝度変化検出部において、受光部の出力電圧を基準電圧と比較し、出力電圧と基準電圧の差が閾値を超えた場合にイベント情報を出力する。
(【0011】以降は省略されています)
この特許をJ-PlatPat(特許庁公式サイト)で参照する
関連特許
キヤノン株式会社
容器
1か月前
キヤノン株式会社
容器
1か月前
キヤノン株式会社
トナー
1か月前
キヤノン株式会社
トナー
1か月前
キヤノン株式会社
トナー
1か月前
キヤノン株式会社
トナー
28日前
キヤノン株式会社
トナー
1か月前
キヤノン株式会社
記録装置
1か月前
キヤノン株式会社
撮像装置
1か月前
キヤノン株式会社
定着装置
21日前
キヤノン株式会社
定着装置
15日前
キヤノン株式会社
表示装置
7日前
キヤノン株式会社
撮像装置
29日前
キヤノン株式会社
撮像装置
7日前
キヤノン株式会社
撮影装置
1か月前
キヤノン株式会社
二次電池
2日前
キヤノン株式会社
定着装置
21日前
キヤノン株式会社
撮像装置
23日前
キヤノン株式会社
現像装置
1か月前
キヤノン株式会社
撮像装置
今日
キヤノン株式会社
撮像装置
今日
キヤノン株式会社
撮像装置
15日前
キヤノン株式会社
撮像装置
今日
キヤノン株式会社
撮像装置
1か月前
キヤノン株式会社
撮像装置
1か月前
キヤノン株式会社
記録装置
1日前
キヤノン株式会社
撮像装置
1か月前
キヤノン株式会社
記録装置
1日前
キヤノン株式会社
記録装置
21日前
キヤノン株式会社
表示装置
1か月前
キヤノン株式会社
撮像装置
7日前
キヤノン株式会社
表示装置
7日前
キヤノン株式会社
表示装置
7日前
キヤノン株式会社
撮像装置
15日前
キヤノン株式会社
記録装置
28日前
キヤノン株式会社
定着装置
15日前
続きを見る
他の特許を見る