TOP
|
特許
|
意匠
|
商標
特許ウォッチ
Twitter
他の特許を見る
公開番号
2025174058
公報種別
公開特許公報(A)
公開日
2025-11-28
出願番号
2024080076
出願日
2024-05-16
発明の名称
表示装置
出願人
キヤノン株式会社
代理人
個人
,
個人
,
個人
,
個人
,
個人
主分類
G09F
9/00 20060101AFI20251120BHJP(教育;暗号方法;表示;広告;シール)
要約
【課題】 縦型設置、横型設置に対応した放熱構成を実現する。
【解決手段】 表示モジュールと、放熱のための複数のファンと、前記表示装置が縦型設置及び横型設置のいずれの設置状態であるかを検出する検出手段と、前記設置状態に基づいて前記複数のファンの回転を制御する制御手段とを有する表示装置。
【選択図】 図1
特許請求の範囲
【請求項1】
表示装置であって、
表示モジュールと、
放熱のための複数のファンと、
前記表示装置が縦型設置及び横型設置のいずれの設置状態であるかを検出する検出手段と、
前記設置状態に基づいて前記複数のファンの回転を制御する制御手段と
を有することを特徴とする表示装置。
続きを表示(約 670 文字)
【請求項2】
内部の温度分布を検出する手段をさらに有し、
前記制御手段は、前記温度分布にも基づいて前記複数のファンの回転を制御する
ことを特徴とする請求項1に記載の表示装置。
【請求項3】
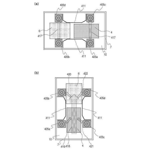
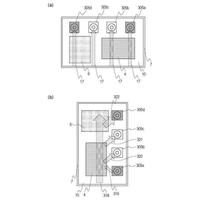
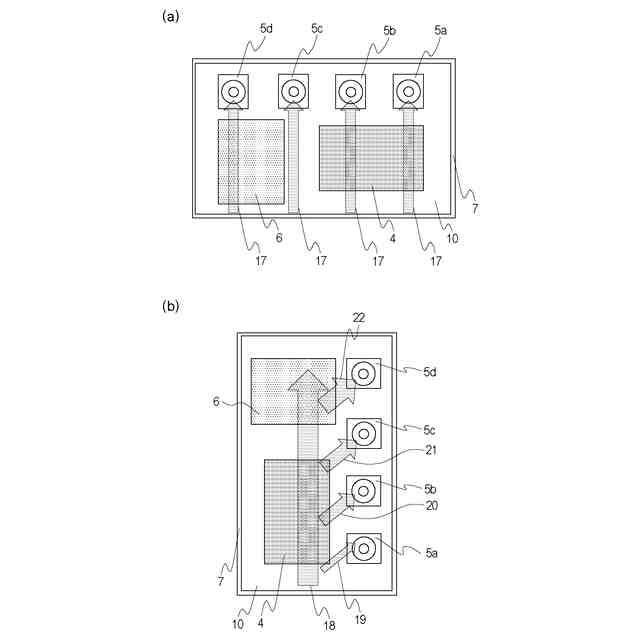
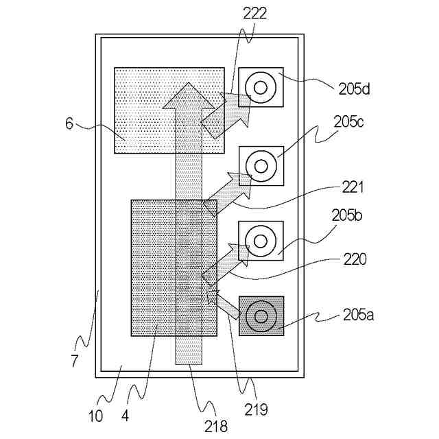
前記表示装置が縦型設置されている設置状態において、前記表示装置の上側に位置する前記ファンの回転数は、下側に位置する前記ファンより大きいことを特徴とする請求項1に記載の表示装置。
【請求項4】
前記制御手段は、前記表示装置が縦型設置されている状態において、前記表示装置の下側に位置する前記ファンを停止することを特徴とする請求項1に記載の表示装置。
【請求項5】
前記ファンは吸気及び排気が兼用可能なファンであり、
前記制御手段は、前記表示装置が縦型設置されている状態において、前記表示装置の下側に位置する前記ファンを吸気に、上側に位置する前記ファンを排気とするように制御することを特徴とする請求項1に記載の表示装置。
【請求項6】
前記検出手段は、重力方向に基づいて前記表示装置が縦型設置及び横型設置のいずれの状態であるかを検出することを特徴とする請求項1に記載の表示装置。
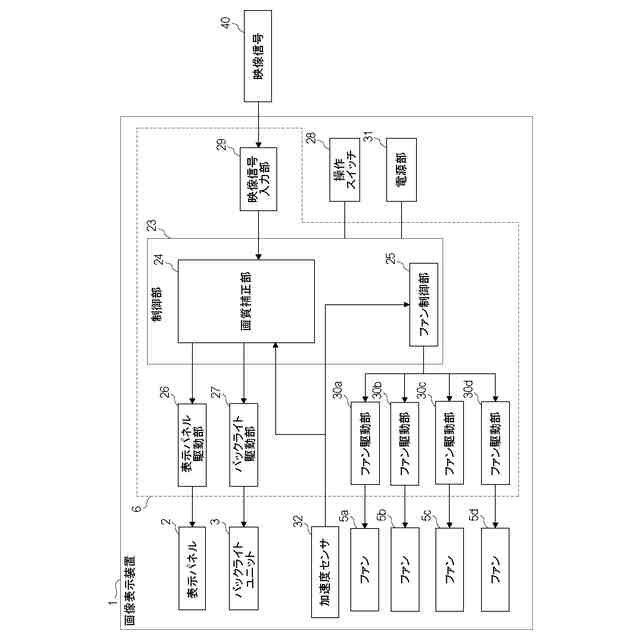
【請求項7】
前記表示モジュールは、液晶パネルと、前記液晶パネルを照射するバックライトユニットとを備えることを特徴とする請求項1に記載の表示装置。
【請求項8】
前記表示モジュールは、OLEDパネルを有することを特徴とする請求項1に記載の表示装置。
発明の詳細な説明
【技術分野】
【0001】
本発明は、表示装置に関する。
続きを表示(約 1,200 文字)
【背景技術】
【0002】
近年、表示装置では、高精細な表示パネルを用いられ、また、バックライトの光源としてLED(Light Emitting Diode)が用いられることがある。これにより、表示装置の表示性能およびシステム制御性能が向上するとともに、消費電力も増加し、システム回路や電源回路などの各種電気部品や回路基板の発熱も増加している。
【0003】
また、いわゆる縦撮影された動画が普及するとともに、縦撮影された動画をよりきれいに視聴するために表示装置の表示性能および、システム制御性能の向上も求められている。例えば、ライブ中継やEコマースなどにおいて、表示装置は広い色域に対応できることが必要とされたり、HDR(High Dynamic Range)表示が求められたりすることが発生している。
【0004】
このような状況下において、1つの表示装置で横型設置と縦型設置とを切り替えながら利用できることが必要とされている。これに対し、1つの表示装置で横型設置、縦型設置を兼用した場合を想定して、表示装置の主要発熱部品の冷却方法が考えられている。
【0005】
特許文献1には、吸気ファンと排気ファンを設けることで、横型設置、縦型設置に対応した放熱構造を実現した表示装置が開示されている。
【0006】
特許文献2には、温度センサで縦横を検知し、ファン回転数を変化させ、冷却することが可能な表示装置が開示されている。
【先行技術文献】
【特許文献】
【0007】
特開2021-124593号広報
特許第3625811号公報
【発明の概要】
【発明が解決しようとする課題】
【0008】
しかしながら、特許文献1では吸気から排気までのダクトが大きくなったり長くなったりする課題があった。また特許文献2のように温度センサによりファンの回転数を算出、変化させても、全体の発熱量が増加すると、面上の温度ムラを小さくすることが困難であった。面上の温度ムラが大きい状況では、表示パネルやバックライトの温度ムラによって変化し、輝度ムラや色度ムラなどの画質への悪影響が発生しうる。
【0009】
そこで、本発明では、上記課題を鑑みて、縦型設置、横型設置両方に対応した放熱構成を実現ことを目的とする。
【課題を解決するための手段】
【0010】
表示装置は、表示モジュールと、放熱のための複数のファンと、前記表示装置が縦型設置及び横型設置のいずれの設置状態であるかを検出する検出手段と、前記設置状態に基づいて前記複数のファンの回転を制御する制御手段とを有する。
【発明の効果】
(【0011】以降は省略されています)
この特許をJ-PlatPat(特許庁公式サイト)で参照する
関連特許
キヤノン株式会社
容器
1か月前
キヤノン株式会社
容器
29日前
キヤノン株式会社
トナー
21日前
キヤノン株式会社
トナー
1か月前
キヤノン株式会社
定着装置
14日前
キヤノン株式会社
定着装置
8日前
キヤノン株式会社
撮像装置
2日前
キヤノン株式会社
撮像装置
21日前
キヤノン株式会社
表示装置
今日
キヤノン株式会社
撮像装置
今日
キヤノン株式会社
撮像装置
29日前
キヤノン株式会社
電子機器
16日前
キヤノン株式会社
撮像装置
16日前
キヤノン株式会社
撮像装置
8日前
キヤノン株式会社
表示装置
29日前
キヤノン株式会社
撮像装置
今日
キヤノン株式会社
表示装置
今日
キヤノン株式会社
定着装置
8日前
キヤノン株式会社
定着装置
14日前
キヤノン株式会社
定着装置
14日前
キヤノン株式会社
記録装置
14日前
キヤノン株式会社
現像装置
1か月前
キヤノン株式会社
雲台装置
21日前
キヤノン株式会社
表示装置
今日
キヤノン株式会社
撮像装置
8日前
キヤノン株式会社
電子機器
21日前
キヤノン株式会社
撮像装置
22日前
キヤノン株式会社
撮像装置
1か月前
キヤノン株式会社
測距装置
1か月前
キヤノン株式会社
撮像装置
1か月前
キヤノン株式会社
電子機器
21日前
キヤノン株式会社
撮像装置
1か月前
キヤノン株式会社
測距装置
23日前
キヤノン株式会社
発光装置
今日
キヤノン株式会社
記録装置
21日前
キヤノン株式会社
記録装置
21日前
続きを見る
他の特許を見る