TOP
|
特許
|
意匠
|
商標
特許ウォッチ
Twitter
他の特許を見る
10個以上の画像は省略されています。
公開番号
2025174889
公報種別
公開特許公報(A)
公開日
2025-11-28
出願番号
2025077349
出願日
2025-05-07
発明の名称
発光装置
出願人
キヤノン株式会社
代理人
個人
,
個人
,
個人
,
個人
主分類
H01S
5/183 20060101AFI20251120BHJP(基本的電気素子)
要約
【課題】より性能を改善し得る発光装置を提供する。
【解決手段】発光装置は、半導体基板の上に配された第1反射鏡と、前記第1反射鏡の上に配された第1活性層と、前記第1活性層の上に配された第1トンネル接合層と、前記第1トンネル接合層の上に配された第2活性層と、前記第2活性層の上に配された第2反射鏡と、を有する。
【選択図】図1
特許請求の範囲
【請求項1】
半導体基板の上に配された第1反射鏡と、
前記第1反射鏡の上に配された第1活性層と、
前記第1活性層の上に配された第1トンネル接合層と、
前記第1トンネル接合層の上に配された第2活性層と、
前記第2活性層の上に配された第2反射鏡と、
を有し、
前記第1活性層は、第1バリア層と、前記第1バリア層の上に配された複数の第1量子井戸層と、前記複数の第1量子井戸層の上に配された第2バリア層と、前記複数の第1量子井戸層の層間に配された第3バリア層とを含み、
前記第2活性層は、第4バリア層と、前記第4バリア層の上に配された複数の第2量子井戸層と、前記複数の第2量子井戸層の上に配された第5バリア層と、前記複数の第2量子井戸層の層間に配された第6バリア層とを含み、
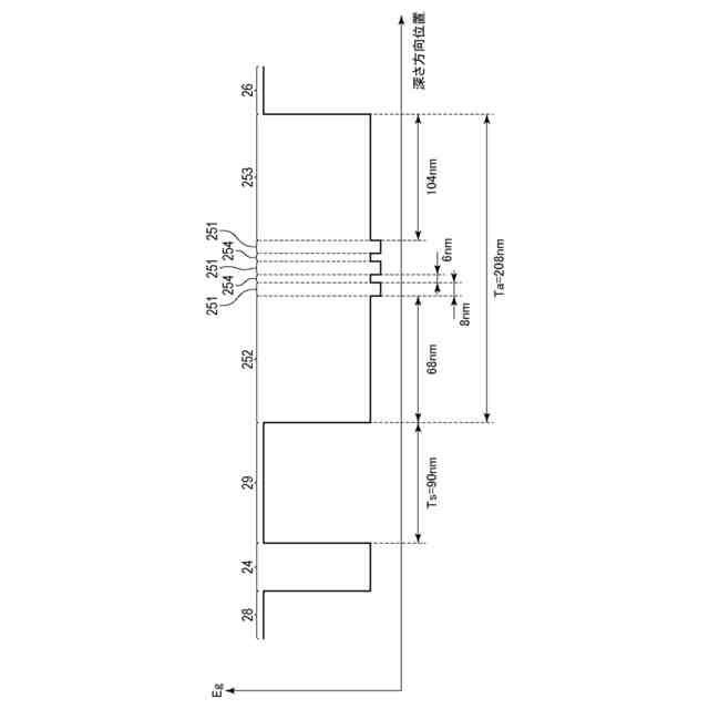
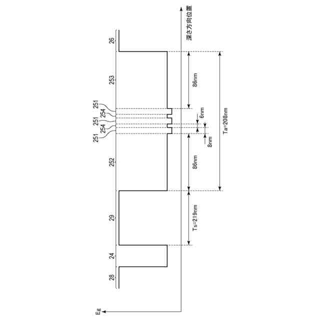
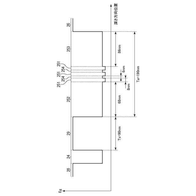
前記複数の第2量子井戸層の数をN、前記複数の第2量子井戸層の各層の厚さをw(nm)、活性層の数をM、所定の尖頭値比の光強度を得るために要する量子井戸の層数をQとしたとき、前記第2活性層の厚さTa(nm)は、以下の式(1)を満たし、
Ta≧{w×N×M+(Q-N×M)×w/0.2}/M (1)
前記第2活性層と前記第1トンネル接合層との距離は、40nm以上であり、
前記複数の第1量子井戸層及び前記複数の第2量子井戸層のうちのいずれか1層が、前記第1バリア層から前記第6バリア層のうちのいずれか1層よりも薄い
ことを特徴とする発光装置。
続きを表示(約 790 文字)
【請求項2】
前記第2活性層の厚さTaは、54nm以上である
ことを特徴とする請求項1に記載の発光装置。
【請求項3】
前記第2活性層の厚さTaは、124nm以上である
ことを特徴とする請求項1に記載の発光装置。
【請求項4】
前記第2活性層と前記第1トンネル接合層との距離は、70nm以上である
ことを特徴とする請求項1に記載の発光装置。
【請求項5】
前記複数の第1量子井戸層及び前記複数の第2量子井戸層の厚さの合計に対する前記第1バリア層から前記第6バリア層の厚さの合計の比の値が1.25以上である
ことを特徴とする請求項1に記載の発光装置。
【請求項6】
前記複数の第1量子井戸層及び前記複数の第2量子井戸層の厚さの合計に対する前記第1バリア層から前記第6バリア層の厚さの合計の比の値が4.17以上である
ことを特徴とする請求項1に記載の発光装置。
【請求項7】
前記第4バリア層は、前記第5バリア層よりも薄い
ことを特徴とする請求項1に記載の発光装置。
【請求項8】
前記第1バリア層は、前記第2バリア層よりも薄い
ことを特徴とする請求項1に記載の発光装置。
【請求項9】
前記第1バリア層は、前記第2バリア層よりも薄く、
前記第4バリア層は、前記第5バリア層よりも薄い
ことを特徴とする請求項1に記載の発光装置。
【請求項10】
前記第1活性層と前記第2活性層の間に配された第1酸化狭窄層と、
前記第2活性層の上に配された第2酸化狭窄層と、
を更に有する
ことを特徴とする請求項1に記載の発光装置。
(【請求項11】以降は省略されています)
発明の詳細な説明
【技術分野】
【0001】
本開示は、発光装置に関する。
続きを表示(約 1,700 文字)
【背景技術】
【0002】
特許文献1には、可飽和吸収層を含むVCSEL(Vertical Cavity Surface Emitting LASER:垂直共振器型面発光レーザ)が開示されている。特許文献1のVCSELは、光パルス幅が短く尖頭値が高い光パルスを生成し得る。
【0003】
特許文献2には、複数の活性領域と、活性領域の間に配されたトンネル接合とを有するVCSELが開示されている。
【先行技術文献】
【特許文献】
【0004】
特開2022-176886号公報
米国特許出願公開第2022/0190559号明細書
【発明の概要】
【発明が解決しようとする課題】
【0005】
特許文献1及び特許文献2に記載されているような発光装置において、更なる性能改善が求められている。
【課題を解決するための手段】
【0006】
そこで、本開示は、より性能を改善し得る発光装置を提供することを目的とする。
【0007】
本明細書の一開示によれば、半導体基板の上に配された第1反射鏡と、前記第1反射鏡の上に配された第1活性層と、前記第1活性層の上に配された第1トンネル接合層と、前記第1トンネル接合層の上に配された第2活性層と、前記第2活性層の上に配された第2反射鏡と、を有し、前記第1活性層は、第1バリア層と、前記第1バリア層の上に配された複数の第1量子井戸層と、前記複数の第1量子井戸層の上に配された第2バリア層と、前記複数の第1量子井戸層の層間に配された第3バリア層とを含み、前記第2活性層は、第4バリア層と、前記第4バリア層の上に配された複数の第2量子井戸層と、前記複数の第2量子井戸層の上に配された第5バリア層と、前記複数の第2量子井戸層の層間に配された第6バリア層とを含み、前記複数の第2量子井戸層の数をN、前記複数の第2量子井戸層の各層の厚さをw(nm)、活性層の数をM、所定の尖頭値比の光強度を得るために要する量子井戸の層数をQとしたとき、前記第2活性層の厚さTa(nm)は、以下の式(1)を満たし、
Ta≧{w×N×M+(Q-N×M)×w/0.2}/M (1)
前記第2活性層と前記第1トンネル接合層との距離は、40nm以上であり、前記複数の第1量子井戸層及び前記複数の第2量子井戸層のうちのいずれか1層が、前記第1バリア層から前記第6バリア層のうちのいずれか1層よりも薄いことを特徴とする発光装置が提供される。
【0008】
また、本明細書の更に他の一開示によれば、半導体基板の上に配された第1反射鏡と、前記第1反射鏡の上に配された第1活性層と、前記第1活性層の上に配された第1トンネル接合層と、前記第1トンネル接合層の上に配された第2活性層と、前記第2活性層の上に配された第2反射鏡と、を有し、前記第2活性層は、第4バリア層と、前記第4バリア層の上に配された複数の第2量子井戸層と、前記複数の第2量子井戸層の上に配された第5バリア層とを含み、前記第4バリア層は、前記第5バリア層よりも薄いことを特徴とする発光装置が提供される。
【0009】
また、本明細書の更に他の一開示によれば、半導体基板の上に配された第1反射鏡と、前記第1反射鏡の上に配された第1活性層と、前記第1活性層の上に配された第1トンネル接合層と、前記第1トンネル接合層の上に配された第2活性層と、前記第2活性層の上に配された第2反射鏡と、を有し、前記第1活性層は、第1バリア層と、前記第1バリア層の上に配された複数の第1量子井戸層と、前記複数の第1量子井戸層の上に配された第2バリア層とを含み、前記第1バリア層は、前記第2バリア層よりも薄いことを特徴とする発光装置が提供される。
【発明の効果】
【0010】
本開示によれば、より性能を改善し得る発光装置が提供される。
【図面の簡単な説明】
(【0011】以降は省略されています)
この特許をJ-PlatPat(特許庁公式サイト)で参照する
関連特許
キヤノン株式会社
容器
1か月前
キヤノン株式会社
容器
1か月前
キヤノン株式会社
トナー
1か月前
キヤノン株式会社
トナー
22日前
キヤノン株式会社
記録装置
22日前
キヤノン株式会社
定着装置
15日前
キヤノン株式会社
表示装置
1日前
キヤノン株式会社
表示装置
1日前
キヤノン株式会社
撮像装置
1日前
キヤノン株式会社
現像装置
1か月前
キヤノン株式会社
現像容器
1か月前
キヤノン株式会社
電子機器
22日前
キヤノン株式会社
撮像装置
9日前
キヤノン株式会社
撮像装置
1か月前
キヤノン株式会社
撮像装置
1か月前
キヤノン株式会社
撮像装置
9日前
キヤノン株式会社
雲台装置
22日前
キヤノン株式会社
撮像装置
1か月前
キヤノン株式会社
定着装置
9日前
キヤノン株式会社
記録装置
1か月前
キヤノン株式会社
撮像装置
3日前
キヤノン株式会社
定着装置
15日前
キヤノン株式会社
表示装置
1か月前
キヤノン株式会社
撮像装置
1日前
キヤノン株式会社
表示装置
1日前
キヤノン株式会社
現像装置
1か月前
キヤノン株式会社
電子機器
22日前
キヤノン株式会社
記録装置
15日前
キヤノン株式会社
撮像装置
1か月前
キヤノン株式会社
現像装置
1か月前
キヤノン株式会社
電子機器
17日前
キヤノン株式会社
定着装置
1か月前
キヤノン株式会社
定着装置
15日前
キヤノン株式会社
発光装置
1日前
キヤノン株式会社
測距装置
24日前
キヤノン株式会社
記録装置
22日前
続きを見る
他の特許を見る