TOP
|
特許
|
意匠
|
商標
特許ウォッチ
Twitter
他の特許を見る
公開番号
2025171050
公報種別
公開特許公報(A)
公開日
2025-11-20
出願番号
2024076022
出願日
2024-05-08
発明の名称
定着装置
出願人
キヤノン株式会社
代理人
弁理士法人近島国際特許事務所
主分類
G03G
15/20 20060101AFI20251113BHJP(写真;映画;光波以外の波を使用する類似技術;電子写真;ホログラフイ)
要約
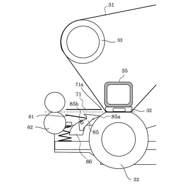
【課題】排出ユニットを開いた状態で、分離爪にユーザの手や記録材が触れ難い定着装置の提供。
【解決手段】排出ユニット60を開けた場合に、分離爪支持部86に対して回動可能に支持された分離爪85が分離板71に近づくように回動し、分離爪85の先端部85aが分離板71に接触する。分離爪85は、排出ユニット60が所定角まで開けられると、分離爪85の重心85gが分離爪回動軸を通る鉛直方向の直線に対して左側に位置する。そのため、分離爪85は自重によって分離爪回動軸を中心としてJ1方向に倒れようとする。分離爪85はJ1方向に倒れると、記録材Pの搬送方向下流側に移動した分離板71に分離爪85の先端部85aが接触する。分離板71に分離爪85の先端部85aが接触した状態では、分離爪85の先端部85aが分離板71に隠れ、ジャム処理空間Mに突出しないことから、ジャム処理時にユーザの手や記録材Pは分離爪85に触れ難い。
【選択図】図5
特許請求の範囲
【請求項1】
記録材にトナー像を定着させる定着装置であって、
第1回転体と、
前記第1回転体に当接し、前記第1回転体との間でトナー像が形成された記録材を挟持搬送しつつ熱及び圧力を加えて記録材にトナー像を定着するニップ部を形成する第2回転体と、
前記第1回転体と前記第2回転体を保持する第1フレームと、
前記ニップ部を通過した記録材を前記第1回転体から分離可能な第1分離部材と、
前記ニップ部を通過した記録材を前記第2回転体から分離可能な第2分離部材と、
記録材の搬送方向に関し、前記ニップ部、前記第1分離部材及び前記第2分離部材よりも下流に配置され、前記ニップ部を通過した記録材を搬送する搬送部と、
前記第1分離部材、前記第2分離部材及び前記搬送部を一体に保持し、且つ、前記第1フレームに対して回動自在な第2フレームと、
前記第2分離部材を前記第2フレームに対して回動自在に支持する支持部と、を備え、
前記第2フレームは、
前記第1分離部材が前記第1回転体から記録材を分離可能な第1分離位置にあり、前記第2分離部材が前記第2回転体から記録材を分離可能な第2分離位置にあり、前記搬送部が前記ニップ部を通過した記録材を搬送可能な搬送位置にある状態を第1位置、
前記第1分離部材が前記第1分離位置よりも前記第1回転体から退避した第1退避位置にあり、前記第2分離部材が第2分離位置よりも前記第2回転体から退避した第2退避位置にあり、前記搬送部が前記搬送位置よりも前記ニップ部から退避した搬送退避位置にある状態を第2位置、
とした場合に、前記第1位置と前記第2位置との間で回動可能であり、
前記第2分離部材は、前記第2フレームが前記第1位置から前記第2位置へと回動された場合に、前記第1位置にある状態よりも前記第1分離部材に近づくように前記支持部に対して回動し、前記第2フレームが前記第2位置にある状態で前記第1分離部材に接触している、
ことを特徴とする定着装置。
続きを表示(約 1,200 文字)
【請求項2】
前記第2分離部材は、前記第2フレームが前記第1位置にある状態で、鉛直方向に関して前記第1分離部材の下方に位置する、
ことを特徴とする請求項1に記載の定着装置。
【請求項3】
前記第2フレームの前記第1フレームに対する回動軸は、記録材の搬送方向に関して前記ニップ部の下流、且つ、鉛直方向に関して前記ニップ部の下方に位置する、
ことを特徴とする請求項2に記載の定着装置。
【請求項4】
前記第2分離部材の重心は、前記第2フレームが前記第2位置にある状態で、前記第2分離部材の前記支持部に対する回動中心よりも鉛直方向上方、且つ、前記回動中心を通る鉛直線よりも前記第1分離部材側にある、
ことを特徴とする請求項3に記載の定着装置。
【請求項5】
前記第1分離部材は、前記第2フレームが前記第1位置にある状態で記録材の搬送方向に沿うように配置される板状部材であり、前記第1分離位置において先端部が前記第1回転体に所定の隙間を介して対向する、
ことを特徴とする請求項1に記載の定着装置。
【請求項6】
前記第2分離部材は、前記第2分離位置で前記第2回転体に接触する、
ことを特徴とする請求項1に記載の定着装置。
【請求項7】
前記第1回転体は、前記第1フレームに着脱自在に設けられ、
係合部が形成された係合部材と、
前記第2フレームが前記第1位置にある状態で、前記第1回転体の装着時に、前記係合部に係合し、前記第1分離部材を前記第1回転体に対して位置決めし、且つ、前記第2分離部材を前記第2回転体に対して位置決めする位置決め部と、をさらに備える、
ことを特徴とする請求項1に記載の定着装置。
【請求項8】
前記第1回転体は、無端状のベルトであり、
前記ベルトを張架する複数のローラと、
前記ベルトの内側に設けられ前記ベルトを介して前記第2回転体を押圧可能なパッドと、
前記パッドを支持するステイと、を備え、
前記ベルトは、前記ローラ及び前記ステイによって前記第1フレームに保持され、
前記係合部材は、前記ステイに固定されている、
ことを特徴とする請求項7に記載の定着装置。
【請求項9】
前記第1フレームは、前記第1回転体の装着時に前記ステイが挿入される凹部を有し、
前記位置決め部は、前記第2フレームが前記第1位置にある状態で、前記ステイの挿入方向に関して前記凹部の下流側に設けられている、
ことを特徴とする請求項8に記載の定着装置。
【請求項10】
前記係合部は、前記ステイの前記凹部への挿入方向に関して前記係合部材の下流側に形成されている、
ことを特徴とする請求項9に記載の定着装置。
発明の詳細な説明
【技術分野】
【0001】
本発明は、プリンタ、複写機、ファクシミリあるいは複合機などの、電子写真技術を利用した画像形成装置に用いて好適な定着装置に関する。
続きを表示(約 2,600 文字)
【背景技術】
【0002】
従来、画像形成装置では、感光ドラム上に形成された静電潜像を現像装置でトナーにより現像してトナー像を形成し、このトナー像を記録材に転写してから定着装置において記録材に定着している。定着装置は、例えば定着ベルトなどの加熱回転体と、例えば加圧ローラなどの加圧回転体とを有し、その間に形成される定着ニップ部において記録材を加熱及び加圧して未定着のトナー画像を記録材に定着する。また、定着装置において、定着ニップ部の通過後に加熱回転体や加圧回転体に張り付いた記録材を分離するための接触式又は非接触式の分離部材を設けることが知られている(特許文献1)。分離部材は加熱回転体や加圧回転体に対し、記録材を分離できるように位置決めされている。
【先行技術文献】
【特許文献】
【0003】
特開2014-202851号公報
【発明の概要】
【発明が解決しようとする課題】
【0004】
ところで、定着装置において定着ニップ部の記録材搬送方向下流には、定着ニップ部を通過した記録材を定着装置の外に排出するための排出ユニットが開閉可能に設けられている。定着ニップ部に記録材が詰まる所謂ジャム時に、ユーザは排出ユニットを開いて定着ニップ部を露出させることにより定着ニップ部から記録材を除去することができる。しかしながら、従来では、ジャム処理のために排出ユニットを開いた際に、分離部材の一部がジャム処理空間に突出し、突出した分離部材の一部にユーザの手や記録材が触れてしまって、分離部材の位置がずれたり分離部材が変形したりする虞があった。
【0005】
本発明は、排出ユニットを開いた状態で、分離部材にユーザの手や記録材が触れ難い定着装置の提供を目的とする。
【課題を解決するための手段】
【0006】
本発明の一実施形態に係る定着装置は、記録材にトナー像を定着させる定着装置であって、第1回転体と、前記第1回転体に当接し、前記第1回転体との間でトナー像が形成された記録材を挟持搬送しつつ熱及び圧力を加えて記録材にトナー像を定着するニップ部を形成する第2回転体と、前記第1回転体と前記第2回転体を保持する第1フレームと、前記ニップ部を通過した記録材を前記第1回転体から分離可能な第1分離部材と、前記ニップ部を通過した記録材を前記第2回転体から分離可能な第2分離部材と、記録材の搬送方向に関し、前記ニップ部、前記第1分離部材及び前記第2分離部材よりも下流に配置され、前記ニップ部を通過した記録材を搬送する搬送部と、前記第1分離部材、前記第2分離部材及び前記搬送部を一体に保持し、且つ、前記第1フレームに対して回動自在な第2フレームと、前記第2分離部材を前記第2フレームに対して回動自在に支持する支持部と、を備え、前記第2フレームは、前記第1分離部材が前記第1回転体から記録材を分離可能な第1分離位置にあり、前記第2分離部材が前記第2回転体から記録材を分離可能な第2分離位置にあり、前記搬送部が前記ニップ部を通過した記録材を搬送可能な搬送位置にある状態を第1位置、前記第1分離部材が前記第1分離位置よりも前記第1回転体から退避した第1退避位置にあり、前記第2分離部材が第2分離位置よりも前記第2回転体から退避した第2退避位置にあり、前記搬送部が前記搬送位置よりも前記ニップ部から退避した搬送退避位置にある状態を第2位置、とした場合に、前記第1位置と前記第2位置との間で回動可能であり、前記第2分離部材は、前記第2フレームが前記第1位置から前記第2位置へと回動された場合に、前記第1位置にある状態よりも前記第1分離部材に近づくように前記支持部に対して回動し、前記第2フレームが前記第2位置にある状態で前記第1分離部材に接触している、ことを特徴とする。
【発明の効果】
【0007】
本発明によれば、分離部材にユーザの手や記録材が触れ難い定着装置を提供できる。
【図面の簡単な説明】
【0008】
本実施形態の定着装置を用いて好適な画像形成装置を示す概略図。
本実施形態の定着装置を示す概略図。
排出ユニットを示す斜視図。
分離爪を説明するための図。
排出ユニットを開いた状態における本実施形態の分離爪を示す模式図。
(a)本実施形態の分離爪を示す図、(b)比較例の分離爪を示す図。
排出ユニットを開いた状態における比較例の分離爪を示す模式図。
【発明を実施するための形態】
【0009】
<画像形成装置>
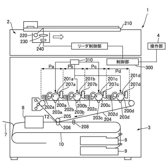
本実施形態について説明する。まず、本実施形態の定着装置を用いて好適な画像形成装置の概略構成について、図1を用いて説明する。画像形成装置1は、イエロー、マゼンタ、シアン、ブラックの4色に対応して設けられた4つの画像形成部Pa、Pb、Pc、Pdを有する電子写真方式のフルカラープリンタである。本実施形態は、画像形成部Pa、Pb、Pc、Pdを中間転写ベルト204の回転方向に沿って配置したタンデム型の画像形成装置1である。画像形成装置1は、画像形成装置1の装置本体3(筐体)に接続された原稿読取装置2又は装置本体3に対し通信可能に接続されたプリントサーバ等の外部ホスト機器からの画像信号に応じて、トナー像を記録材に形成する。記録材としては、用紙、プラスチックフィルム、布などのシート材が挙げられる。
【0010】
図1に示すように、画像形成装置1は、原稿読取装置2と装置本体3とを備える。原稿読取装置2は、原稿台ガラス210上に置かれた原稿を読み取るもので、光源220から照射された光が原稿で反射し、レンズなどの光学系部材230を介してCCDセンサ240に結像される。このような光学系ユニットはリーダ制御部による制御の下で矢印の方向に走査された際に、原稿をライン毎に読み取って電気信号データ列に変換する。CCDセンサ240により得られた画像信号は制御部300に送られ、制御部300で各画像形成部Pa、Pb、Pc、Pdにあわせた画像処理がなされる。また、制御部300は画像信号としてプリントサーバなどの外部ホスト機器からの外部入力も受ける。制御部300は、画像形成装置1全体の制御を行う。
(【0011】以降は省略されています)
この特許をJ-PlatPat(特許庁公式サイト)で参照する
関連特許
キヤノン株式会社
トナー
1か月前
キヤノン株式会社
顕微鏡
1日前
キヤノン株式会社
電子機器
3日前
キヤノン株式会社
記録装置
1日前
キヤノン株式会社
記録装置
1日前
キヤノン株式会社
電子機器
1か月前
キヤノン株式会社
記録装置
8日前
キヤノン株式会社
二次電池
9日前
キヤノン株式会社
撮像装置
16日前
キヤノン株式会社
電気機器
2日前
キヤノン株式会社
撮像装置
1日前
キヤノン株式会社
撮像装置
1日前
キヤノン株式会社
定着装置
28日前
キヤノン株式会社
記録装置
2日前
キヤノン株式会社
記録装置
1日前
キヤノン株式会社
記録装置
28日前
キヤノン株式会社
雲台装置
1か月前
キヤノン株式会社
定着装置
28日前
キヤノン株式会社
発光装置
14日前
キヤノン株式会社
撮像装置
1か月前
キヤノン株式会社
定着装置
28日前
キヤノン株式会社
撮像装置
14日前
キヤノン株式会社
記録装置
1日前
キヤノン株式会社
電子機器
1か月前
キヤノン株式会社
記録装置
8日前
キヤノン株式会社
定着装置
22日前
キヤノン株式会社
定着装置
1日前
キヤノン株式会社
撮像装置
1か月前
キヤノン株式会社
記録装置
1日前
キヤノン株式会社
電子機器
7日前
キヤノン株式会社
記録装置
1か月前
キヤノン株式会社
表示装置
14日前
キヤノン株式会社
撮像装置
7日前
キヤノン株式会社
定着装置
22日前
キヤノン株式会社
撮像装置
1日前
キヤノン株式会社
記録装置
1か月前
続きを見る
他の特許を見る