TOP
|
特許
|
意匠
|
商標
特許ウォッチ
Twitter
他の特許を見る
10個以上の画像は省略されています。
公開番号
2025179656
公報種別
公開特許公報(A)
公開日
2025-12-10
出願番号
2024086553
出願日
2024-05-28
発明の名称
記録装置
出願人
キヤノン株式会社
代理人
弁理士法人秀和特許事務所
主分類
B41J
2/17 20060101AFI20251203BHJP(印刷;線画機;タイプライター;スタンプ)
要約
【課題】廃液収容体を安定して保護可能な記録装置を提供する。
【解決手段】記録装置は、第1方向に開口する開口が第1方向の第1端部に形成され、第1規制部と第2規制部とを有する本体と、記録部と、開口を介して本体から第1方向に取り外し可能に本体に装着される廃液収容体と、開口を塞ぎ、本体から取り外し可能なカバー8であって、第1方向と交差する方向に弾性変形可能に構成され、第1規制部により第1方向への移動を規制される第1被規制部13と、第2規制部により第1方向の移動を規制される第2被規制部18と、を有するカバー8と、を備える。第2被規制部18は、カバー8の重力方向の下側の端部から重力方向の上方向に延びており、本体には、第2規制部に対して第1方向と交差する第2方向に隣接し、第1方向に開口した第2被規制部18が通過するための切り欠きが形成されている。
【選択図】図4
特許請求の範囲
【請求項1】
第1方向に開口する開口が前記第1方向の端部に形成され、第1規制部と第2規制部とを有する本体と、
記録媒体に液体を吐出して画像を記録する記録部から排出される廃液を収容する廃液収容体であって、前記開口を介して前記本体から前記第1方向に取り外し可能に前記本体に装着される廃液収容体と、
前記開口を塞ぎ、前記本体から取り外し可能なカバーであって、前記第1方向と交差する方向に弾性変形可能に構成され、前記第1規制部により前記第1方向への移動を規制される第1被規制部と、前記第2規制部により前記第1方向の移動を規制される第2被規制部と、を有するカバーと、
を備え、
前記第2被規制部は、前記カバーの重力方向の下方の端部から前記重力方向の上方向に突出しており、
前記本体には、前記第2規制部に対して前記第1方向と交差する第2方向に隣接し、前記第1方向に貫通した前記第2被規制部が通過するための切り欠きが形成されていることを特徴とする記録装置。
続きを表示(約 1,100 文字)
【請求項2】
前記第1被規制部は、前記第1規制部に対して前記第1方向と反対の方向側の位置であって、前記第1方向に見たときに前記第1規制部と重なる位置にあり、
前記第2被規制部は、前記第2規制部に対して前記第2方向と反対の方向側の位置であって、前記第1方向に見たときに前記第2規制部と重なる位置にあることを特徴とする請求項1に記載の記録装置。
【請求項3】
前記カバーは、前記カバーの前記重力方向の下方の端部から前記第1方向と反対の方向に向かって延びて前記記録装置の載置面に対向する底部を有し、
前記第2被規制部は、前記底部から重力方向の上方に延びていることを特徴とする請求項1に記載の記録装置。
【請求項4】
前記カバーは、複数の前記第2被規制部を有し、
前記第2規制部は、前記第2方向を長手方向とするフランジであり、
前記フランジには、複数の前記切り欠きが、前記第2被規制部のそれぞれに対応して設けられていることを特徴とする請求項1に記載の記録装置。
【請求項5】
前記第1被規制部は、前記第2方向に弾性変形可能であることを特徴とする請求項1に記載の記録装置。
【請求項6】
前記カバーは、前記本体の前記第2方向の端部に設けられていることを特徴とする請求項5に記載の記録装置。
【請求項7】
前記第1被規制部は、前記カバーの前記本体の内側を向く内側面から前記第1方向と反対の方向、且つ前記第2方向に向かって延びていることを特徴とする請求項5に記載の記録装置。
【請求項8】
前記第1規制部の前記第1方向の先端部には、前記第1方向に向かうにつれて前記第2方向と反対の方向に向かうように傾斜する傾斜面が形成され、
前記第1被規制部の前記第1方向と反対方向の先端部には、前記第1方向に向かうにつれて前記第2方向と反対の方向に向かうように傾斜する傾斜面が形成されていることを特徴とする請求項1に記載の記録装置。
【請求項9】
前記本体は、前記第2方向と反対の方向に弾性変形可能に構成された第3規制部を有し、
前記カバーは、前記第3規制部により前記第1方向への移動を規制される第3被規制部であって、前記カバーの前記重力方向の上方の端部に位置する第3被規制部を有することを特徴とする請求項1に記載の記録装置。
【請求項10】
前記第2方向において、前記第1被規制部は前記カバーの一端部に位置し、前記第3被規制部は前記カバーの他端部に位置することを特徴とする請求項9に記載の記録装置。
(【請求項11】以降は省略されています)
発明の詳細な説明
【技術分野】
【0001】
本発明は、廃液収容体を備える記録装置に関する。
続きを表示(約 1,800 文字)
【背景技術】
【0002】
従来、インク等の液体を吐出して記録媒体に画像等を記録する記録装置として、液体吐出ヘッドから記録媒体に向けて吐出されずに廃液として排出される廃液を収容する廃液収容体を備える構成が知られている。廃液収容体は、記録装置の本体に対して着脱可能に構成され、ユーザは廃液収容体を取り出すことで廃液収容体に収容された廃液を捨てることができる。
【0003】
特許文献1には、本体と、本体に着脱可能な廃液収容体と、廃液収容体の着脱方向と略直交する方向に延びたレールに沿って本体に着脱可能なカバーと、を備える記録装置が開示されている。廃液収容体が本体に装着されている状態においては、廃液収容体を出し入れするための開口はカバーによって塞がれ、廃液収容体はカバーに覆われる。
【先行技術文献】
【特許文献】
【0004】
特開2008-202648号公報
【発明の概要】
【発明が解決しようとする課題】
【0005】
上述の構成においては、廃液収容体とカバーの着脱方向が異なるため、着脱操作の作業性が低下したり、着脱操作のために大きなスペースが必要となったりするおそれがある。また、上述の構成では、カバーが着脱方向に意図せず外れることを防止するため、カバーを本体に係止するための係止爪が上端部の1箇所にのみ設けられている。したがって、例えば、記録装置を底から持ち上げようとしてレールの延伸方向からカバーに手をかけると、カバーが下部から外れるおそれもある。
【0006】
本発明は、上述の課題を鑑みてなされたものであり、廃液収容体を安定して保護可能、な記録装置を提供することを目的とする。
【課題を解決するための手段】
【0007】
上述の目的を達成するため、本発明の記録装置は、
第1方向に開口する開口が前記第1方向の端部に形成され、第1規制部と第2規制部とを有する本体と、
記録媒体に液体を吐出して画像を記録する記録部から排出される廃液を収容する廃液収容体であって、前記開口を介して前記本体から前記第1方向に取り外し可能に前記本体に装着される廃液収容体と、
前記開口を塞ぎ、前記本体から取り外し可能なカバーであって、前記第1方向と交差する方向に弾性変形可能に構成され、前記第1規制部により前記第1方向への移動を規制される第1被規制部と、前記第2規制部により前記第1方向の移動を規制される第2被規制部と、を有するカバーと、
を備え、
前記第2被規制部は、前記カバーの重力方向の下方の端部から前記重力方向の上方向に突出しており、
前記本体には、前記第2規制部に対して前記第1方向と交差する第2方向に隣接し、前記第1方向に貫通した前記第2被規制部が通過するための切り欠きが形成されていること
を特徴とする。
【発明の効果】
【0008】
本発明によれば、廃液収容体を安定して保護可能な記録装置を提供できる。
【図面の簡単な説明】
【0009】
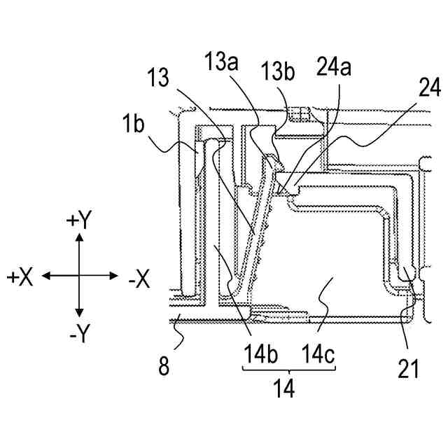
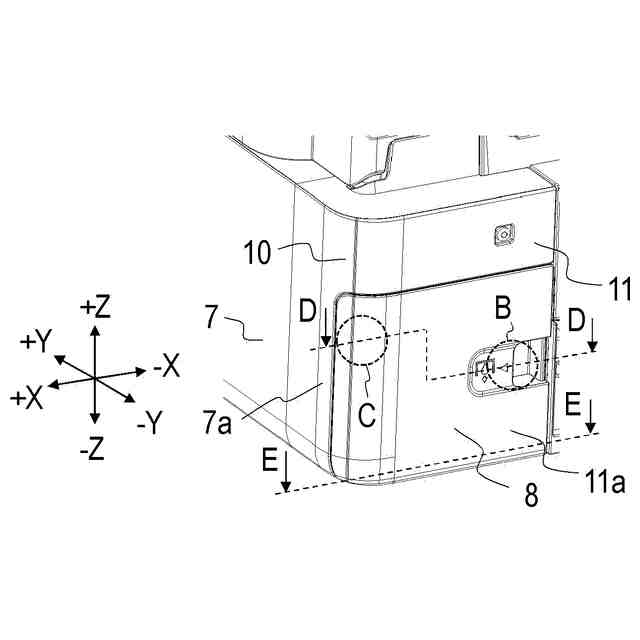
プリンタを備える複合機の前面側を示す斜視図である。
複合機の背面を示す斜視図である。
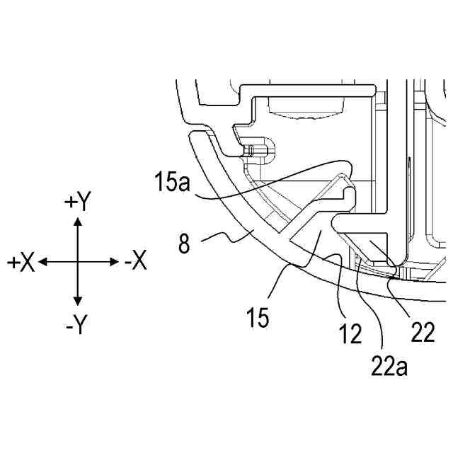
図2のA部の拡大図である。
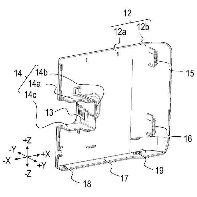
カバーの内側面を示す斜視図である。
プリンタからカバーが取り外された様子を示す斜視図である。
ベースの斜視図である。
図6のF部の拡大図である。
図3のB部のD-D断面図である。
図3のC部のD-D断面図である。
図3のE-E断面図である。
カバーの一部が本体から取り外されている様子を示す斜視図である。
【発明を実施するための形態】
【0010】
以下に図面を参照して、この発明を実施するための形態を、実施例に基づいて例示的に詳しく説明する。なお、この実施の形態に記載されている構成部品の寸法、材質、形状それらの相対配置等は、発明が適用される装置の構成や各種条件により適宜変更されるべきものである。すなわち、この発明の範囲を以下の実施の形態に限定する趣旨のものではない。
(【0011】以降は省略されています)
この特許をJ-PlatPat(特許庁公式サイト)で参照する
関連特許
キヤノン株式会社
容器
1か月前
キヤノン株式会社
容器
1か月前
キヤノン株式会社
トナー
1か月前
キヤノン株式会社
トナー
1か月前
キヤノン株式会社
記録装置
1か月前
キヤノン株式会社
撮像装置
5日前
キヤノン株式会社
撮像装置
1か月前
キヤノン株式会社
記録装置
6日前
キヤノン株式会社
記録装置
6日前
キヤノン株式会社
撮像装置
1か月前
キヤノン株式会社
撮像装置
1か月前
キヤノン株式会社
電子機器
5日前
キヤノン株式会社
撮像装置
20日前
キヤノン株式会社
定着装置
26日前
キヤノン株式会社
電子機器
1日前
キヤノン株式会社
電子機器
1か月前
キヤノン株式会社
定着装置
26日前
キヤノン株式会社
撮像装置
1か月前
キヤノン株式会社
撮像装置
5日前
キヤノン株式会社
記録装置
26日前
キヤノン株式会社
雲台装置
1か月前
キヤノン株式会社
撮像装置
1か月前
キヤノン株式会社
撮像装置
1か月前
キヤノン株式会社
撮像装置
5日前
キヤノン株式会社
記録装置
1か月前
キヤノン株式会社
定着装置
20日前
キヤノン株式会社
撮像装置
14日前
キヤノン株式会社
撮像装置
12日前
キヤノン株式会社
表示装置
5日前
キヤノン株式会社
撮像装置
5日前
キヤノン株式会社
撮像装置
5日前
キヤノン株式会社
表示装置
12日前
キヤノン株式会社
電子機器
1か月前
キヤノン株式会社
表示装置
1か月前
キヤノン株式会社
撮像装置
20日前
キヤノン株式会社
表示装置
12日前
続きを見る
他の特許を見る