TOP
|
特許
|
意匠
|
商標
特許ウォッチ
Twitter
他の特許を見る
公開番号
2025177508
公報種別
公開特許公報(A)
公開日
2025-12-05
出願番号
2024084415
出願日
2024-05-23
発明の名称
撮像装置
出願人
キヤノン株式会社
代理人
個人
,
個人
,
個人
,
個人
,
個人
主分類
H04N
23/45 20230101AFI20251128BHJP(電気通信技術)
要約
【課題】 イベントベースセンサによるイベント検出に基づいてフレームベースセンサの撮像を行う際に被写体を撮り逃す恐れがある。また、イベント検出の度にフレームベースセンサを起動させると消費電力が大きくなってしまう。
【解決手段】 イベントベースセンサとフレームベースセンサは、それぞれの撮像範囲が重ならないように配置され、イベントベースセンサが検出したイベント信号の軌跡がフレームベースセンサの撮像範囲へ向かう場合に、フレームベースセンサに対する所定の制御を実施する。
【選択図】 図1
特許請求の範囲
【請求項1】
イベント発生を検出した画素位置と時刻の情報を示すイベント情報を出力するイベントベースセンサと、
フレーム単位で画像データを出力するフレームベースセンサと、を備え、
前記イベントベースセンサにより検出されたイベント発生位置の軌跡が前記フレームベースセンサの撮像範囲へ向かう場合に、前記フレームベースセンサによる撮像を開始するように制御する制御手段と、を有し、
前記イベントベースセンサと前記フレームベースセンサは、それぞれの撮像範囲が重複しないように配置されることを特徴とする撮像装置。
続きを表示(約 810 文字)
【請求項2】
前記制御手段は、前記イベント発生位置の軌跡に基づいて被写体の移動速度を算出し、算出された前記被写体の移動速度に応じて前記フレームベースセンサによる撮像フレームレートを変更することを特徴とする請求項1に記載の撮像装置。
【請求項3】
前記制御手段は、前記フレームベースセンサの撮像フレームレートに応じて撮影画角を変更するように制御することを特徴とする請求項2に記載の撮像装置。
【請求項4】
前記制御手段は、前記イベントベースセンサにより検出されたイベント発生位置の軌跡が前記フレームベースセンサの撮像範囲から遠ざかる場合に、前記フレームベースセンサによる撮像を終了するように制御することを特徴とする請求項1に記載の撮像装置。
【請求項5】
前記制御手段は、前記イベントベースセンサにより検出されたイベント発生位置の軌跡が前記フレームベースセンサの撮像範囲へ向かう軌跡と前記フレームベースセンサの撮像範囲から遠ざかる軌跡の双方を検出した場合に、前記フレームベースセンサによる撮像を行うように制御することを特徴とする請求項4に記載の撮像装置。
【請求項6】
前記制御手段は、前記イベントベースセンサにより検出された複数のイベント発生位置が軌跡として判別できない場合に、前記イベント信号を破棄することを特徴とする請求項1に記載の撮像装置。
【請求項7】
1つの前記フレームベースセンサに対して複数の前記イベントベースセンサを有することを特徴とする請求項1に記載の撮像装置。
【請求項8】
さらに、前記イベントベースセンサを移動させる移動手段を有し、
前記移動手段により前記イベントベースセンサを前記フレームベースセンサの周囲を移動しながらイベントの発生を検出することを特徴とする請求項1に記載の撮像装置。
発明の詳細な説明
【技術分野】
【0001】
本発明は、撮像装置に関するものである。
続きを表示(約 1,400 文字)
【背景技術】
【0002】
画素毎の輝度変化をイベントとして検出する非同期型の撮像素子(以下、イベントベースセンサと呼称する)が知られている。イベントベースセンサはイベント検出時に動作するため、一般的に撮像装置に用いられる同期信号に同期して画像データを撮像する同期型撮像素子(以下、フレームベースセンサと呼称する)と比較して消費電力が少ない特徴がある。
【0003】
そこで、イベントベースセンサとフレームベースセンサの両方を搭載し、イベントベースセンサのイベントの検出に基づいてフレームベースセンサの制御を実施することでフレームベースセンサの消費電力を抑える方法が提案されている。
【0004】
例えば、特許文献1では、イベントベースセンサでイベントを検出した際に、フレームベースセンサを動作状態に遷移させて撮像を開始する方法が公開されている。
【先行技術文献】
【特許文献】
【0005】
特開2020-161987号
【発明の概要】
【発明が解決しようとする課題】
【0006】
しかしながら、特許文献1ではイベントベースセンサとフレームベースセンサの撮像範囲が重複しており、イベントベースセンサのイベント検出後にフレームベースセンサを起動したのでは撮像が間に合わない場合がある。イベント検出とフレームベースセンサの撮像開始には時間差が生じるため、高速で移動する被写体ではフレームベースセンサを起動した時点で既に被写体がフレームベースセンサの撮像範囲を通り過ぎてしまっている場合がある。
【0007】
また、イベントベースセンサでイベントを検出する度にフレームベースセンサでの撮像を開始することから、撮像の必要のないタイミングでもフレームベースセンサを起動させてしまい、結果として消費電力が大きくなってしまう。
【課題を解決するための手段】
【0008】
上記課題を解決するために、本発明の撮像装置は、イベント発生を検出した画素位置と時刻の情報を示すイベント情報を出力するイベントベースセンサと、フレーム単位で画像データを出力するフレームベースセンサと、を備え、前記イベントベースセンサにより検出されたイベント発生位置の軌跡が前記フレームベースセンサの撮像範囲へ向かう場合に、前記フレームベースセンサによる撮像を開始するように制御する制御手段と、を有し、前記イベントベースセンサと前記フレームベースセンサは、それぞれの撮像範囲が重複しないように配置されることを特徴とする。
【発明の効果】
【0009】
本発明によれば、高速で移動する被写体をフレームベースセンサで確実に撮像することができ、さらにフレームベースセンサの消費電力を低減することができる。
【図面の簡単な説明】
【0010】
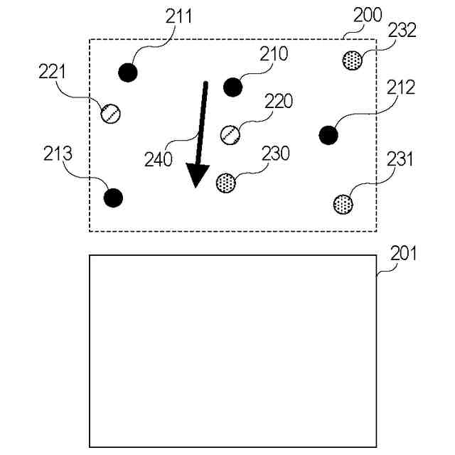
実施例における撮像装置の内部構成例を示す図。
実施例におけるイベントベースセンサによるイベントの軌跡判定の動作を示す図。
実施例1における撮像装置の制御フローを示す図。
実施例におけるフレームベースセンサにおける撮像タイミングチャート。
実施例2における撮像装置の制御フローを示す図。
【発明を実施するための形態】
(【0011】以降は省略されています)
この特許をJ-PlatPat(特許庁公式サイト)で参照する
関連特許
キヤノン株式会社
容器
1か月前
キヤノン株式会社
容器
1か月前
キヤノン株式会社
トナー
28日前
キヤノン株式会社
トナー
1か月前
キヤノン株式会社
トナー
1か月前
キヤノン株式会社
トナー
1か月前
キヤノン株式会社
トナー
1か月前
キヤノン株式会社
測距装置
1か月前
キヤノン株式会社
電子機器
28日前
キヤノン株式会社
電子機器
23日前
キヤノン株式会社
撮影装置
1か月前
キヤノン株式会社
記録装置
28日前
キヤノン株式会社
測距装置
1か月前
キヤノン株式会社
撮像装置
1か月前
キヤノン株式会社
記録装置
28日前
キヤノン株式会社
撮像装置
今日
キヤノン株式会社
撮像装置
今日
キヤノン株式会社
撮像装置
今日
キヤノン株式会社
記録装置
1日前
キヤノン株式会社
定着装置
21日前
キヤノン株式会社
記録装置
1日前
キヤノン株式会社
撮像装置
9日前
キヤノン株式会社
定着装置
15日前
キヤノン株式会社
記録装置
1か月前
キヤノン株式会社
二次電池
2日前
キヤノン株式会社
現像容器
1か月前
キヤノン株式会社
電子機器
28日前
キヤノン株式会社
撮像装置
1か月前
キヤノン株式会社
撮像装置
1か月前
キヤノン株式会社
撮像装置
23日前
キヤノン株式会社
現像装置
1か月前
キヤノン株式会社
現像容器
1か月前
キヤノン株式会社
撮像装置
1か月前
キヤノン株式会社
現像装置
1か月前
キヤノン株式会社
記録装置
1か月前
キヤノン株式会社
撮像装置
15日前
続きを見る
他の特許を見る