TOP
|
特許
|
意匠
|
商標
特許ウォッチ
Twitter
他の特許を見る
公開番号
2025161036
公報種別
公開特許公報(A)
公開日
2025-10-24
出願番号
2024063885
出願日
2024-04-11
発明の名称
撮像装置
出願人
キヤノン株式会社
代理人
個人
主分類
G03B
5/00 20210101AFI20251017BHJP(写真;映画;光波以外の波を使用する類似技術;電子写真;ホログラフイ)
要約
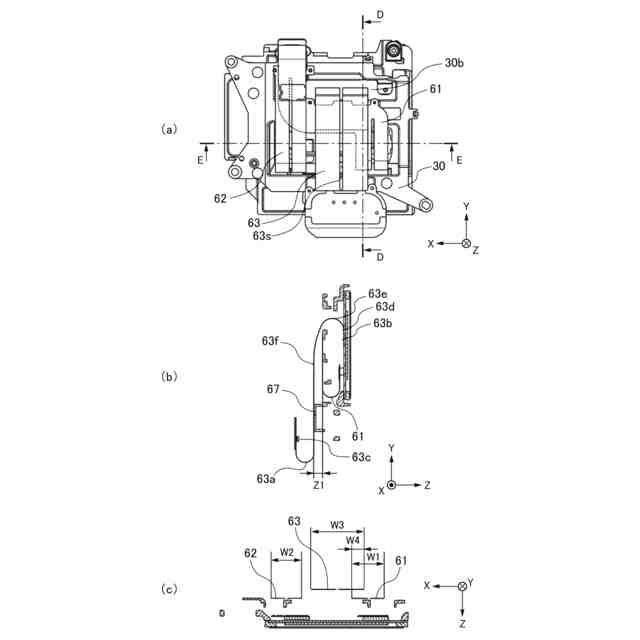
【課題】FPCの配線部の幅が増大した場合においても、大型化を抑制した撮像装置を提供する。
【解決手段】
固定部と、撮像光学系の光軸に直交する平面内で固定部に対して撮像素子が相対的に移動可能に配置される可動部と、固定部と可動部を電気的に接続する撮像FPC60とを備える。撮像FPC60は、第1の撮像FPC61及び第3の撮像FPC63を含み、第1の撮像FPC61と第3の撮像FPC63は、撮像光学系の光軸方向から見た場合にW4だけ重なり且つW4だけ重なる部分において光軸方向に離間する。
【選択図】図11
特許請求の範囲
【請求項1】
第1のユニットと、
撮像光学系の光軸に直交する平面内で、前記第1のユニットに対して撮像素子が相対的に移動可能に配置される第2のユニットと、
前記第1のユニットと前記第2のユニットを電気的に接続する二本以上の配線部材とを備え、
前記二本以上の配線部材は、第1の配線部材及び第2の配線部材を含み、
前記第1の配線部材と前記第2の配線部材は、前記撮像光学系の光軸方向から見た場合に所定量だけ重なり且つ前記所定量だけ重なる部分において前記光軸方向に離間することを特徴とする撮像装置。
続きを表示(約 1,000 文字)
【請求項2】
前記第1の配線部材と前記第2の配線部材は、前記所定量だけ重なる部分において、略同一方向に延出することを特徴とする請求項1記載の撮像装置。
【請求項3】
前記第1の配線部材と前記第2の配線部材は、前記所定量だけ重なる部分において、異なる方向に延出することを特徴とする請求項1記載の撮像装置。
【請求項4】
前記二本以上の配線部材は湾曲部を備え、
前記第1の配線部材の湾曲部の第1の内径と前記第2の配線部材の湾曲部の第2の内径が異なることを特徴とする請求項1記載の撮像装置。
【請求項5】
前記第1のユニットは制御基板を備え、
前記二本以上の配線部材は、前記撮像素子と前記制御基板の間を電気的に接続し、
前記第1の配線部材の前記撮像素子の接続部の高さと前記第2の配線部材の前記撮像素子の接続部の高さが異なることを特徴とする請求項1記載の撮像装置。
【請求項6】
前記撮像素子は前記光軸方向から見た場合に略長方形形状であり、
前記第1の配線部材と前記第2の配線部材は、前記所定量だけ重なる部分において前記撮像素子の短辺方向に略平行に延出し、前記光軸方向からみて前記撮像素子の長辺方向において、前記二本以上の配線部材は、前記撮像素子と重なる位置に収まることを特徴とする請求項1記載の撮像装置。
【請求項7】
前記撮像素子を固定する撮像素子基板は前記光軸方向から見た場合に略長方形形状であり、
前記第1の配線部材と前記第2の配線部材は、前記所定量だけ重なる部分において前記撮像素子基板の短辺方向に略平行に延出し、前記光軸方向からみて前記撮像素子基板の長辺方向において、前記二本以上の配線部材は、前記撮像素子基板と重なる位置に収まることを特徴とする請求項1記載の撮像装置。
【請求項8】
前記光軸に対して略対称に前記二本以上の配線部材が延出することを特徴とする請求項1記載の撮像装置。
【請求項9】
前記第1の配線部材と前記第2の配線部材の少なくとも一方は、差動伝送配線とグランド配線を備え、
前記第1の配線部材と前記第2の配線部材では、
前記所定量だけ重なる部分に前記グランド配線が配線され、
前記所定量だけ重なる部分を除いた部分に前記差動伝送配線が配線されることを特徴とする請求項1記載の撮像装置。
発明の詳細な説明
【技術分野】
【0001】
本発明は、撮像装置に関し、特に、位置制御を行う駆動装置を備える撮像装置に関する。
続きを表示(約 1,200 文字)
【背景技術】
【0002】
従来より、固定部に対して可動部を平面内で移動させる駆動装置が知られている。
【0003】
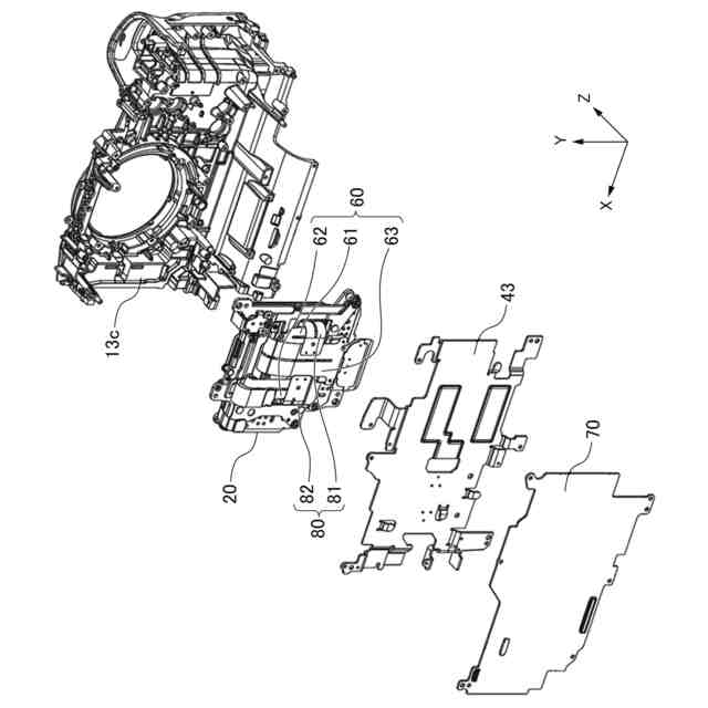
このような駆動装置の適用例として、撮像装置に搭載されるブレ補正機構が挙げられる。ブレ補正機構では、可動部に撮像素子を実装した回路基板が搭載され、この回路基板にはコネクタ等の電気的接続部品も実装されている。一方、可動部を保持する筐体等の固定部側には、可動部を駆動制御する制御部が搭載され、この制御基板にはコネクタ等の電気的接続部品も実装されている。
【0004】
可動部側及び固定部側の夫々に実装される電気的接続部品はFPC(フレキシブルプリント基板)によって電気的に接続されている。このFPCの持つ可撓性を利用して、固定部に搭載される制御部は、可動部を電気的に接続して可動部の駆動制御を行う。
【0005】
近年、撮像装置の動画の高画素化や、高速連写などの機能向上のため、撮像素子の消費電力、接続信号数は増大しており、FPCの配線部の幅が増加している。このようなFPCの配線部の幅の増加は、可動部の駆動の負荷となっている。このため、例えば、特許文献1では、撮像装置を背面から見た場合に、複数のFPC同士が重ならないよう配置し、可動部の駆動の負荷を軽減する技術が開示されている。
【先行技術文献】
【特許文献】
【0006】
特開2020-64281号公報
【発明の概要】
【発明が解決しようとする課題】
【0007】
しかしながら、撮像装置の機能向上に伴い、FPCの配線部の幅が増大した際、特許文献1の技術のようにFPC同士が重ならないように配置すると、ブレ補正機構が大型化するおそれがある。ひいては、撮像装置が大型化するおそれがある。
【0008】
そこで、本発明は、FPCの配線部の幅が増大した場合においても、撮像装置の大型化を抑制することを目的とする。
【課題を解決するための手段】
【0009】
上記課題を解決するため、本発明の請求項1に係る撮像装置は、第1のユニットと、撮像光学系の光軸に直交する平面内で、前記第1のユニットに対して撮像素子が相対的に移動可能に配置される第2のユニットと、前記第1のユニットと前記第2のユニットを電気的に接続する二本以上の配線部材とを備え、前記二本以上の配線部材は、第1の配線部材及び第2の配線部材を含み、前記第1の配線部材と前記第2の配線部材は、前記撮像光学系の光軸方向から見た場合に所定量だけ重なり且つ前記所定量だけ重なる部分において前記光軸方向に離間することを特徴とする。
【発明の効果】
【0010】
本発明によれば、FPCの配線部の幅が増大した場合においても、大型化を抑制した撮像装置を提供することができる。
【図面の簡単な説明】
(【0011】以降は省略されています)
この特許をJ-PlatPat(特許庁公式サイト)で参照する
関連特許
キヤノン株式会社
トナー
1か月前
キヤノン株式会社
二次電池
6日前
キヤノン株式会社
記録装置
5日前
キヤノン株式会社
撮像装置
11日前
キヤノン株式会社
定着装置
25日前
キヤノン株式会社
定着装置
25日前
キヤノン株式会社
撮像装置
11日前
キヤノン株式会社
表示装置
11日前
キヤノン株式会社
発光装置
11日前
キヤノン株式会社
電子機器
4日前
キヤノン株式会社
撮像装置
27日前
キヤノン株式会社
記録装置
5日前
キヤノン株式会社
撮像装置
4日前
キヤノン株式会社
雲台装置
1か月前
キヤノン株式会社
電子機器
今日
キヤノン株式会社
撮像装置
4日前
キヤノン株式会社
撮像装置
4日前
キヤノン株式会社
定着装置
19日前
キヤノン株式会社
電子機器
27日前
キヤノン株式会社
撮像装置
19日前
キヤノン株式会社
表示装置
4日前
キヤノン株式会社
撮像装置
4日前
キヤノン株式会社
撮像装置
4日前
キヤノン株式会社
撮像装置
19日前
キヤノン株式会社
表示装置
11日前
キヤノン株式会社
表示装置
11日前
キヤノン株式会社
電子機器
1か月前
キヤノン株式会社
記録装置
25日前
キヤノン株式会社
定着装置
25日前
キヤノン株式会社
撮像装置
13日前
キヤノン株式会社
定着装置
19日前
キヤノン株式会社
撮像装置
1か月前
キヤノン株式会社
インク容器
5日前
キヤノン株式会社
露光ヘッド
25日前
キヤノン株式会社
画像形成装置
27日前
キヤノン株式会社
画像形成装置
27日前
続きを見る
他の特許を見る