TOP
|
特許
|
意匠
|
商標
特許ウォッチ
Twitter
他の特許を見る
公開番号
2025152599
公報種別
公開特許公報(A)
公開日
2025-10-10
出願番号
2024054567
出願日
2024-03-28
発明の名称
記録装置
出願人
キヤノン株式会社
代理人
個人
,
個人
,
個人
,
個人
,
個人
主分類
B41J
19/20 20060101AFI20251002BHJP(印刷;線画機;タイプライター;スタンプ)
要約
【課題】 動作音を低減しつつ装置サイズの大型化が抑制される。
【解決手段】 記録媒体に記録を行う記録ヘッドを搭載して主走査方向に移動するキャリッジと、主走査方向に移動するキャリッジをガイドするガイド部材と、ャリッジと共に走査方向に摺動する摺動部材と、キャリッジと摺動部材との間に配され、キャリッジと相対移動することにより記録媒体と記録ヘッドの間のギャップを切り替える切替部材と、を備え、切替部材は、ギャップを大きくする際に摺動部材と当接する第1斜面の水平面に対する傾斜角度が、ギャップを小さくする際に摺動部材と当接する第3斜面の水平面に対する傾斜角度より大きい。
【選択図】 図6
特許請求の範囲
【請求項1】
記録媒体に記録を行う記録ヘッドを搭載して主走査方向に移動するキャリッジと、
前記主走査方向に移動するキャリッジをガイドするガイド部材と、
前記キャリッジと共に前記主走査方向に摺動する摺動部材と、
前記キャリッジと前記摺動部材との間に配され、前記キャリッジと相対移動することにより前記記録媒体と前記記録ヘッドの間のギャップを切り替える切替部材と、を備え、
前記切替部材は、前記ギャップを大きくする際に前記摺動部材と当接する第1斜面の水平面に対する傾斜角度が、前記ギャップを小さくする際に前記摺動部材と当接する第3斜面の水平面に対する傾斜角度より大きいことを特徴とする記録装置。
続きを表示(約 360 文字)
【請求項2】
前記切替部材は、前記第1斜面を有する第1カム部材と、前記第3斜面を有する第2カム部材と、を含むことを特徴とする請求項1に記載の記録装置。
【請求項3】
前記第1カム部材と前記第2カム部材は係合していることを特徴とする請求項2に記載の記録装置。
【請求項4】
前記第1カム部材と前記第2カム部材は主走査方向と交差する副走査方向に並んで配置されていることを特徴とする請求項2に記載の記録装置。
【請求項5】
前記ガイド部材から前記キャリッジの移動領域に突出する切替手段を備え、
前記移動領域に突出した前記切替手段が前記第1カム部材と当接することで前記第1カム部材が前記キャリッジに対して相対移動することを特徴とする請求項2に記載の記録装置。
発明の詳細な説明
【技術分野】
【0001】
本発明は、記録装置に関する。
続きを表示(約 1,600 文字)
【背景技術】
【0002】
従来、記録媒体への記録精度は記録ヘッドの液体の吐出面と記録媒体の記録面との距離(以下、ギャップ)に影響を受ける。一定の記録精度を保つためには、記録装置は記録媒体の厚みによってギャップを調整する必要がある。ギャップの調整には、高さが固定されたガイドレールとガイドレール上を走査するキャリッジとの距離を変化させる調整機構を用いることがある。特許文献1には、階段状のカム部材を有する調整機構の構成が開示されている。
【先行技術文献】
【特許文献】
【0003】
特開2018-16029号公報
【発明の概要】
【発明が解決しようとする課題】
【0004】
しかしながら、カム部材を有する機構は、カム部材がキャリッジに対して相対移動する際に大きい音が発生する虞がある。それを防止するためにカムの傾斜面を緩やかにする構成とすることも可能だが、傾斜面を緩やかにすることでカム部材の長さが増大し、装置サイズが大きくなる虞があった。
【0005】
本発明は、上記課題に鑑みてなされたものであり、動作音を低減しつつ装置サイズの大型化が抑制された記録装置を提供することを目的とする。
【課題を解決するための手段】
【0006】
上記課題を解決するため、本発明に係る記録装置は、記録媒体に記録を行う記録ヘッドを搭載して主走査方向に移動するキャリッジと、前記主走査方向に移動するキャリッジをガイドするガイド部材と、前記キャリッジと共に前記主走査方向に摺動する摺動部材と、前記キャリッジと前記摺動部材との間に配され、前記キャリッジと相対移動することにより前記記録媒体と前記記録ヘッドの間のギャップを切り替える切替部材と、を備え、前記切替部材は、前記ギャップを大きくする際に前記摺動部材と当接する第1斜面の水平面に対する傾斜角度が、前記ギャップを小さくする際に前記摺動部材と当接する第3斜面の水平面に対する傾斜角度より大きいことを特徴とする。
【発明の効果】
【0007】
本発明によれば、動作音を低減しつつ装置サイズの大型化が抑制された記録装置が提供される。
【図面の簡単な説明】
【0008】
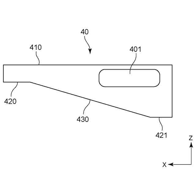
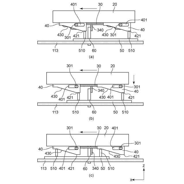
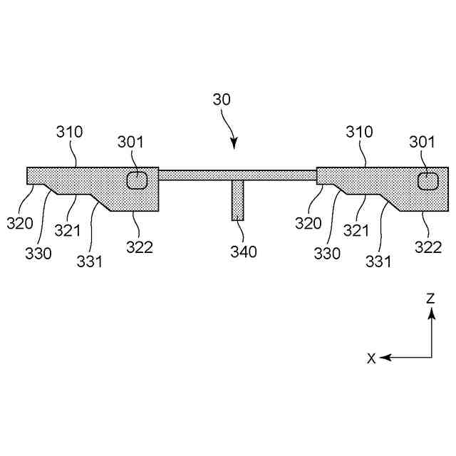
第1実施形態に係る記録装置の一部構成を抜粋した斜視図である。
第1実施形態に係る記録装置のギャップを切り替える構成を説明する斜視図である。
第1実施形態に係る記録装置のギャップを切り替える構成の正面模式図である。
第1実施形態に係る記録装置の第1カム部材の正面図である。
第1実施形態に係る記録装置の第2カム部材の正面図である。
第1実施形態に係る記録装置のギャップを小さくする動作を説明する正面模式図である。
第1実施形態に係る記録装置のギャップを大きくする動作を説明する正面模式図である。
【発明を実施するための形態】
【0009】
以下、本発明実施形態について図面を参照して説明する。但し、以下実施形態は本発明を限定するものではなく、また、本実施形態で説明されている特徴の組み合わせの全てが本発明の解決手段に必須のものとは限らない。また、実施形態に記載されている構成要素の相対配置、形状等はあくまで例示であり、この発明の範囲をそれらのみに限定する趣旨のものではない。
【0010】
なお「記録」には、文字、図形等有意の情報を形成する場合のみならず、有意無意を問わず、広く記録媒体上に画像、模様、パターン等を形成する、又は媒体の加工を行う場合も含まれ、人間が視覚で知覚し得るように顕在化したものであるか否かを問わない。また、本実施形態では「原稿」や「記録媒体」として用紙を想定するが、布、プラスチック・フィルム(OHP)、金属板、ガラス、セラミックス、木材、皮革等であってもよい。
(【0011】以降は省略されています)
この特許をJ-PlatPat(特許庁公式サイト)で参照する
関連特許
個人
箔熱転写装置
1か月前
シヤチハタ株式会社
印判
5か月前
東レ株式会社
凸版印刷版原版
10か月前
シヤチハタ株式会社
反転式印判
9か月前
三菱製紙株式会社
感熱記録材料
11か月前
三光株式会社
感熱記録材料
7か月前
キヤノン株式会社
記録装置
1か月前
独立行政法人 国立印刷局
印刷物
7か月前
独立行政法人 国立印刷局
記録媒体
9か月前
株式会社リコー
液体吐出装置
2か月前
株式会社リコー
液体吐出装置
6か月前
株式会社リコー
印刷システム
1か月前
株式会社リコー
液体吐出装置
5か月前
株式会社リコー
液体吐出装置
4か月前
株式会社リコー
液体吐出装置
5か月前
日本製紙株式会社
感熱記録体
8か月前
独立行政法人 国立印刷局
貼付装置
2か月前
株式会社リコー
液体吐出装置
8か月前
株式会社リコー
液体吐出装置
9か月前
株式会社リコー
画像形成装置
1か月前
株式会社リコー
液体吐出装置
8か月前
株式会社リコー
画像形成装置
1か月前
株式会社リコー
画像形成装置
1か月前
独立行政法人 国立印刷局
貼付機構
2か月前
シャープ株式会社
画像形成装置
12日前
キヤノン株式会社
画像形成装置
18日前
キヤノン株式会社
画像形成装置
11か月前
キヤノン株式会社
印刷システム
8か月前
ブラザー工業株式会社
液体吐出ヘッド
1か月前
キヤノン株式会社
画像形成装置
9か月前
フジコピアン株式会社
熱転写記録媒体
12か月前
キヤノン株式会社
画像形成装置
2か月前
キヤノン株式会社
印刷制御装置
10か月前
ブラザー工業株式会社
プリンタ
2か月前
キヤノン株式会社
画像形成装置
11か月前
キヤノン株式会社
画像形成装置
5か月前
続きを見る
他の特許を見る