TOP
|
特許
|
意匠
|
商標
特許ウォッチ
Twitter
他の特許を見る
10個以上の画像は省略されています。
公開番号
2025155361
公報種別
公開特許公報(A)
公開日
2025-10-14
出願番号
2024059163
出願日
2024-04-01
発明の名称
画像形成装置
出願人
キヤノン株式会社
代理人
個人
,
個人
,
個人
,
個人
主分類
G03G
21/16 20060101AFI20251006BHJP(写真;映画;光波以外の波を使用する類似技術;電子写真;ホログラフイ)
要約
【課題】本開示は、表面に無機微粒子が含有された感光ドラムを有する場合においても、露光ムラによる、画像不良を抑制した画像形成装置を提供すること。
【解決手段】感光ドラムと、発光素子と、レンズアレイと、前記レンズアレイの光出射面を清掃するための清掃部材と、を有する画像形成装置であって、前記感光ドラムが、無機粒子を含有する表面層を有し、前記清掃部材が、前記感光ドラムの表面に摺擦する摺擦面を有するドラム摺擦部を有し、前記感光ドラムの表面に摺擦する摺擦面が、平均繊維径20μm以上100μm以下の繊維で構成されていることを特徴とする画像形成装置を提供する。
【選択図】図4
特許請求の範囲
【請求項1】
回転軸線を中心に回転可能な感光ドラムと、
前記感光ドラムの表面に照射する露光光を出射するための複数の発光素子と、
前記発光素子から出射された露光光を前記感光ドラムの表面に集光するための複数のレンズが前記回転軸線方向に並べられて構成されている、前記発光素子に対向する光入射面及び前記感光ドラムに対向する光出射面を有するレンズアレイと、
前記感光ドラムの表面と前記レンズアレイの光出射面との間に挿入し、前記レンズアレイの長手方向の一端側から他端側にかけて、前記感光ドラムの表面及び前記レンズアレイの光出射面を摺擦しながら、前記レンズアレイの光出射面を清掃するための清掃部材と、
を有する画像形成装置であって、
前記感光ドラムが、無機粒子を含有する表面層を有し、
前記清掃部材が、前記感光ドラムの表面に摺擦する摺擦面を有するドラム摺擦部を有し、
前記感光ドラムの表面に摺擦する摺擦面が、平均繊維径が20μm以上100μm以下の繊維で構成されている、
ことを特徴とする画像形成装置。
続きを表示(約 500 文字)
【請求項2】
前記摺擦面が、前記繊維で形成されたフェルトで構成されている、請求項1に記載の画像形成装置。
【請求項3】
前記摺擦面が、前記繊維で形成された不織布で構成されている、請求項1に記載の画像形成装置。
【請求項4】
前記繊維の引張強度が、20cN/dtex以上50cN/dtex以下である、請求項1~3のいずれか一項に記載の画像形成装置。
【請求項5】
前記繊維が、ポリエステルを含有する、請求項1~3のいずれか一項に記載の画像形成装置。
【請求項6】
前記繊維が、ポリウレタンを含有する、請求項1~3のいずれか一項に記載の画像形成装置。
【請求項7】
前記無機粒子が、二酸化ケイ素を含む粒子である、請求項1~3のいずれか一項に記載の画像形成装置。
【請求項8】
前記無機粒子が、酸化スズを含む粒子である、請求項1~3のいずれか一項に記載の画像形成装置。
【請求項9】
前記無機粒子が、酸化インジウムスズを含む粒子である、請求項1~3のいずれか一項に記載の画像形成装置。
発明の詳細な説明
【技術分野】
【0001】
本開示は、感光体ドラムを用いた画像形成装置に関する。
続きを表示(約 2,100 文字)
【背景技術】
【0002】
レーザビームプリンタやデジタル複写機などの電子写真方式の画像形成装置において、感光ドラムを露光する手段の一つとして、多数のLEDや有機ELなど複数の発光素子を感光ドラムの回転軸と平行な方向(主走査方向)に略直線状に並べ、主走査方向において一括して感光ドラムを露光する方式の露光ヘッドが知られている。この方式は、ポリゴンミラーを用いて走査を行うレーザ走査方式の露光装置に比べて体積が小さく駆動部もないため、画像形成装置の小型化や低騒音化に有利である。
【0003】
固体露光ヘッドは、発光素子から出射した光束を感光ドラム上に結像させるために、発光素子と対向して主走査方向に複数の屈折率分布型レンズを並べたレンズアレイを備える。このレンズアレイは焦点距離が極めて短いため、固体露光ヘッドを感光ドラムに非常に近接して配置する必要があるが、感光ドラム近傍では画像形成装置内部冷却用のエアフローに乗ってトナーが浮遊している場合がある。このような浮遊トナーがレンズアレイの出射面に付着すると、感光ドラムを照射する光量が不均一となり濃度むらなどの不良画像が発生する。このため、固体露光ヘッドにおいてはレンズアレイ表面を清掃する清掃手段が必要となる。
【0004】
清掃手段の例としては、特許文献1には、感光ドラムと清掃部材の距離を制御する案内部を設けガイドする形式でレンズアレイを清掃する手段が開示されている。しかし、小型化を目指して内部ユニットの実装密度を高めた画像形成装置においては、このような案内部を固体露光ヘッド近傍に設けることが困難な場合がある。
【0005】
このような内部ユニットの小型化に応える方法として、特許文献2には、清掃部材の感光ドラムに対向する面に電子写真用感光ドラム用のドラム摺擦部を備えることで、ドラム摺擦部を感光ドラムに接触させながらレンズアレイ表面の清掃を行う手段が開示されている。
【先行技術文献】
【特許文献】
【0006】
特許第4848709号公報
特許第4743303号公報
【発明の概要】
【発明が解決しようとする課題】
【0007】
しかしながら、特許文献2に記載のようにドラム摺擦部を接触させながらレンズアレイの清掃を行う構成の場合次の課題があった。すなわち、接触する感光ドラムの最表面に無機微粒子が含有されている場合、無機微粒子が脱離してしまう。これにより感光ドラム表面特性が変化し、感光ドラムにLED露光ヘッドから照射したときに露光ムラが発生し、濃度ムラなどの画像不良が発生してしまう。本開示は、表面に無機微粒子が含有された感光ドラムを有する場合においても、露光ムラによる、画像不良を抑制した画像形成装置を提供することである。
【課題を解決するための手段】
【0008】
本開示の画像形成装置は、
回転軸線を中心に回転可能な感光ドラムと、
前記感光ドラムの表面に照射する露光光を出射するための複数の発光素子と、
前記発光素子から出射された露光光を前記感光ドラムの表面に集光するための複数のレンズが前記回転軸線の方向に並べられて構成されている、前記発光素子に対向する光入射面及び前記感光ドラムに対向する光出射面を有するレンズアレイと、
前記感光ドラムの表面と前記レンズアレイの光出射面との間に挿入し、前記レンズアレイの長手方向の一端側から他端側にかけて、前記感光ドラムの表面及び前記レンズアレイの光出射面を摺擦しながら、前記レンズアレイの光出射面を清掃するための清掃部材と、
を有する画像形成装置であって、
前記感光ドラムが、無機粒子を含有する表面層を有し、
前記清掃部材が、前記感光ドラムの表面に摺擦する摺擦面を有するドラム摺擦部を有し、
前記感光ドラムの表面に摺擦する摺擦面が、平均繊維径20μm以上100μm以下の繊維で構成されていることを特徴とする。
【発明の効果】
【0009】
本開示によれば、清掃部材をレンズアレイ表面に当接させるためのガイド部材をレンズアレイと感光ドラムとの間に挟み込み感光ドラムと感光ドラム用のドラム摺擦部を接触させながらレンズアレイの清掃を行う構成において、清掃動作時に感光ドラム表面に添加された無機粒子の脱離を防ぐことができる。
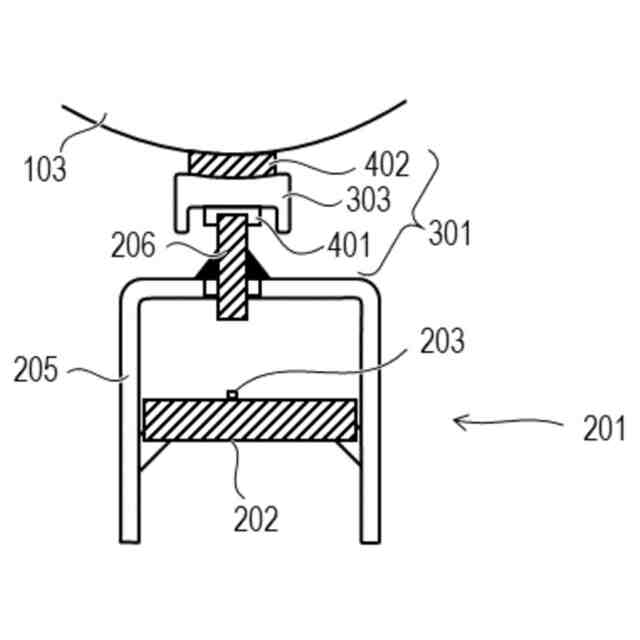
【図面の簡単な説明】
【0010】
本開示で用いられる電子写真装置の一例を示す図である。
本開示で用いられる電子写真装置の感光ドラム周りの拡大図である。
本開示で用いられる露光装置の一例を示す図である。
本開示で用いられる清掃部材の一例を示す図である。
本開示で用いられる露光装置の清掃形態の一例を示す図である。
本開示で用いられる感光ドラムの一例を示す図である。
研磨シートを用いて円筒状の電子写真感光体を研磨する装置を示す図である。
【発明を実施するための形態】
(【0011】以降は省略されています)
この特許をJ-PlatPat(特許庁公式サイト)で参照する
関連特許
キヤノン株式会社
容器
17日前
キヤノン株式会社
容器
23日前
キヤノン株式会社
トナー
26日前
キヤノン株式会社
トナー
9日前
キヤノン株式会社
撮像装置
23日前
キヤノン株式会社
記録装置
9日前
キヤノン株式会社
記録装置
2日前
キヤノン株式会社
電子機器
9日前
キヤノン株式会社
撮像装置
23日前
キヤノン株式会社
撮像装置
23日前
キヤノン株式会社
雲台装置
9日前
キヤノン株式会社
定着装置
2日前
キヤノン株式会社
測距装置
11日前
キヤノン株式会社
表示装置
17日前
キヤノン株式会社
撮像装置
9日前
キヤノン株式会社
現像装置
1か月前
キヤノン株式会社
電子機器
4日前
キヤノン株式会社
撮像装置
4日前
キヤノン株式会社
定着装置
2日前
キヤノン株式会社
撮像装置
17日前
キヤノン株式会社
撮像装置
10日前
キヤノン株式会社
電子機器
9日前
キヤノン株式会社
定着装置
2日前
キヤノン株式会社
記録装置
23日前
キヤノン株式会社
記録装置
9日前
キヤノン株式会社
液体収容体
11日前
キヤノン株式会社
液体収容体
12日前
キヤノン株式会社
露光ヘッド
2日前
キヤノン株式会社
画像形成装置
11日前
キヤノン株式会社
画像形成装置
10日前
キヤノン株式会社
画像形成装置
10日前
キヤノン株式会社
画像形成装置
9日前
キヤノン株式会社
画像形成装置
10日前
キヤノン株式会社
画像形成装置
17日前
キヤノン株式会社
画像形成装置
1か月前
キヤノン株式会社
電子写真装置
1か月前
続きを見る
他の特許を見る