TOP
|
特許
|
意匠
|
商標
特許ウォッチ
Twitter
他の特許を見る
10個以上の画像は省略されています。
公開番号
2025160871
公報種別
公開特許公報(A)
公開日
2025-10-23
出願番号
2025006482
出願日
2025-01-16
発明の名称
画像形成装置
出願人
キヤノン株式会社
代理人
個人
,
個人
,
個人
,
個人
,
個人
主分類
B65H
3/48 20060101AFI20251016BHJP(運搬;包装;貯蔵;薄板状または線条材料の取扱い)
要約
【課題】 画像形成装置の生産性の低下を防止する。
【解決手段】 画像形成部と、第1シート支持部と、第1シート給送部と、装置本体の側面に回動可能に設けられた第2シート支持部と、エアを吹き付けるエア吹き付け部と、を備え、第1シート支持部から給送されるシートに画像を形成した後に、第2シート支持部から給送されるシートに画像を形成する場合に、第1シート給送部から給送されたシートに対する印刷動作が完了する前に、第2シート支持部に支持されたシートにエア吹き付け部によってエアを吹き付ける。
【選択図】 図9
特許請求の範囲
【請求項1】
シートに画像を形成する画像形成部と、
シートを支持する第1シート支持部と、
前記第1シート支持部に支持されたシートを給送する第1シート給送部と、
前記画像形成部を含む装置本体の側面に回動可能に設けられ、シートを支持する第2シート支持部と、
前記第2シート支持部に支持されたシートにエアを吹き付けるエア吹き付け部と、
前記エア吹き付け部によりエアを吹き付けられた、前記第2シート支持部に支持されたシートを給送する第2シート給送部と、
前記第1シート支持部から給送されるシートに画像を形成した後に、前記第2シート支持部から給送されるシートに画像を形成する場合に、前記第1シート給送部から給送されるシートに対する印刷動作が完了する前に、前記第2シート支持部に支持されるシートに前記エア吹き付け部によってエアを吹き付けるように制御する制御部と、
を有することを特徴とする画像形成装置。
続きを表示(約 910 文字)
【請求項2】
印刷ジョブの設定を行う設定手段を備え、
前記制御手段は、前記設定手段によって設定された前記印刷ジョブの情報に基づいて、前記第1シート給送部によって給送されるシートに対する印刷動作を実行している間に、前記第2シート支持部に支持されたシートに前記エア吹き付け部によってエアを吹き付けるように制御する、
ことを特徴とする請求項1に記載の画像形成装置。
【請求項3】
前記第2シート給送部から給送されるシートの枚数をカウントするカウント手段と、を備え、
前記制御部は、前記カウント手段によってカウントされた給送枚数が所定枚数より少ない場合に、前記第2シート支持部に支持されたシートにエアを吹き付ける動作を実行する、
ことを特徴とする請求項1に記載の画像形成装置。
【請求項4】
前記エア吹き付け部がエアを吹き付ける動作を実行していないときに前記第2シート支持部に支持されたシートを前記第2シート給送部が給送する、
ことを特徴とする請求項1に記載の画像形成装置。
【請求項5】
前記エア吹き付け部からエアを記第2シート支持部に支持されたシートに吹き付けている状態で前記第2シート支持部に支持されたシートを前記第2シート給送部が給送する、
ことを特徴とする請求項1に記載の画像形成装置。
【請求項6】
前記第1シート支持部からシートを給送し画像を形成する第1印刷ジョブの後に、前記第2シート支持部からシートを給送し画像を形成する第2印刷ジョブを実行する混載印刷ジョブを設定する設定手段を備え、
前記制御手段は、前記第1シート給送部からシートを給送して前記第1印刷ジョブが完了する前に、前記第2シート支持部のシートに前記エア吹き付け部がエアを吹き付けるように制御する、
ことを特徴とする請求項1に記載の画像形成装置。
【請求項7】
前記第1シート支持部は、前記画像形成部を含む装置本体の下部に設けられている、
ことを特徴とする請求項1に記載の画像形成装置。
発明の詳細な説明
【技術分野】
【0001】
本発明は、シートに画像を形成する画像形成装置に関する
続きを表示(約 1,800 文字)
【背景技術】
【0002】
例えば複写機、ファクシミリ、プリンタ等の画像形成装置には、画像を形成する画像形成部に供給するシートの束をセットするシート給送装置が備えられている。シート給送装置は、画像形成装置本体の下部に設けられた給送カセット部や、画像形成装置の側面に設けられた手差し給送部等を有する。
【0003】
特許文献1には、シート給送装置にセットされたシートにエアを吹き付けて捌くものが開示されている。特許文献1の開示された装置では、所定時間エア吹き付けを行った後にエア吹き付けを止めてからシートを給送する。
【先行技術文献】
【特許文献】
【0004】
特開2023-102814号公報
【発明の概要】
【発明が解決しようとする課題】
【0005】
特許文献1の装置において、シートを捌いている間、当該給送部からのシートの給送はできず、エア吹き付けの完了まで、給送部からのシートの給送の開始を待たなければならない。従って、生産性が低下する虞がある。
【0006】
本発明の目的は、生産性の低下を防ぐことが可能な画像形成装置を提供することである。
【課題を解決するための手段】
【0007】
本発明の画像形成装置は、シートに画像を形成する画像形成部と、シートを支持する第1シート支持部と、前記第1シート支持部に支持されたシートを給送する第1シート給送部と、前記画像形成部を含む装置本体の側面に回動可能に設けられ、シートを支持する第2シート支持部と、前記第2シート支持部に支持されたシートにエアを吹き付けるエア吹き付け部と、前記エア吹き付け部によりエアを吹き付けられた、前記第2シート支持部に支持されたシートを給送する第2シート給送部と、前記第1シート支持部から給送されるシートに画像を形成した後に、前記第2シート支持部から給送されるシートに画像を形成する場合に、前記第1シート給送部から給送されるシートに対する印刷動作が完了する前に、前記第2シート支持部に支持されるシートに前記エア吹き付け部によってエアを吹き付けるように制御する制御部と、を有する。
【発明の効果】
【0008】
本発明によると、生産性の低下を防止することが可能な画像形成装置を提供できる。
【図面の簡単な説明】
【0009】
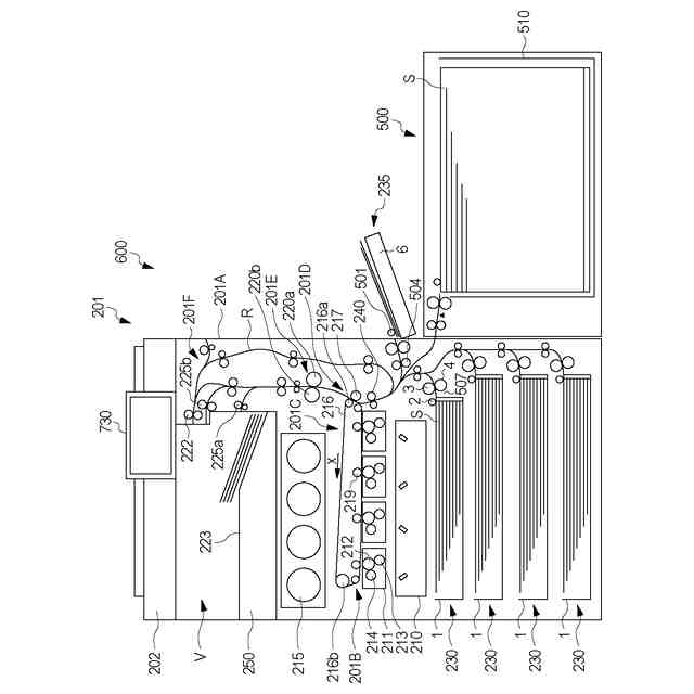
本発明の第1実施形態に係る画像形成装置の断面図。
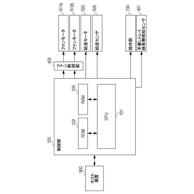
本発明の第1実施形態に係るシート給送装置の制御ブロック図。
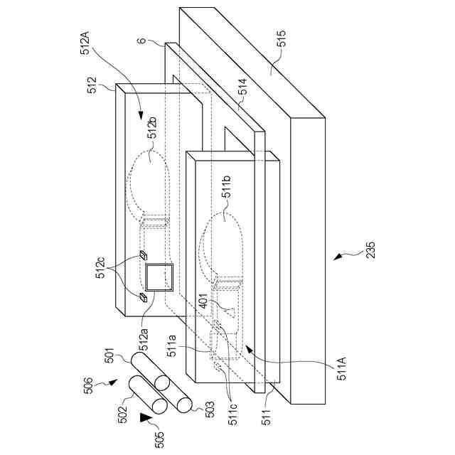
本発明の第1実施形態に係る手差し給送部の構成を示す模式図。
本発明の第1実施形態に係る手差し給送部において、エア吹き付け動作を実行した状態を示す模式図。
本発明の第1実施形態に係るシート情報の設定説明図。
本発明の第1実施形態に係るシート情報の設定手順を示すフローチャート。
本発明の第1実施形態に係る印刷ジョブのスケジューリングを示す図。
本発明の第1実施形態に係るエア吹き付け処理判断を示すフローチャート。
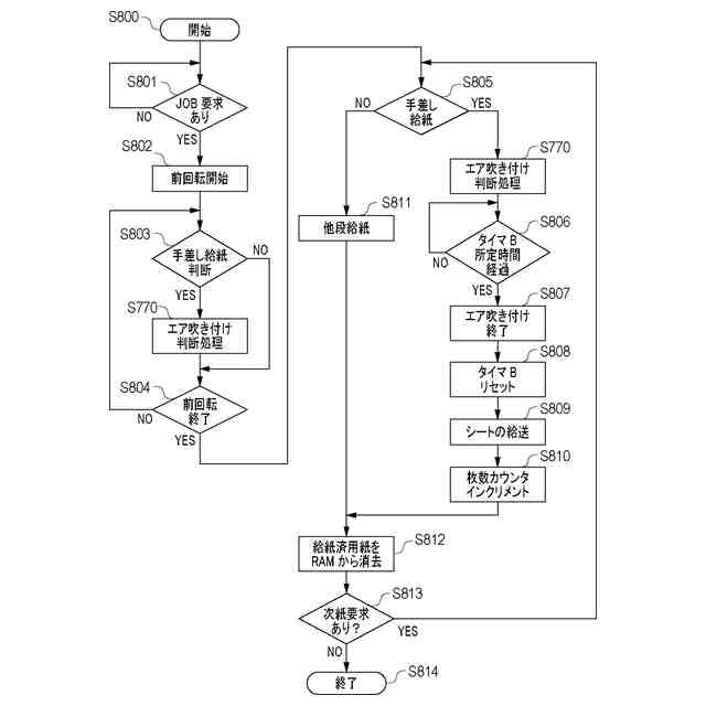
本発明の第1実施形態に係るシート給送制御のフローチャート。
本発明の第1実施形態を実施することよる生産性の効果を示す図。
本発明の第2実施形態に係るエア吹き付け制御のフローチャート。
本発明の第2実施形態を実施することよる生産性の効果を示す図。
本発明の第2実施形態に係るエア吹き付け制御のタイミングチャート。
本発明の第3実施形態に係るシート給送制御のフローチャート。
本発明の第3実施形態に係るエア吹き付け制御のタイミング図。
本発明の第1実施形態に係る画像形成装置の断面図。
【発明を実施するための形態】
【0010】
<実施形態1>
以下、図面を参照して本発明に係る実施形態を詳細に説明する。図1は、本実施形態に係る画像形成システムの断面図である。図1に示すように、画像形成システム600は、画像形成装置201と、画像形成装置201に接続された給送デッキ500とを備えている。給送デッキ500は、画像形成装置201の図1中の右側面に接続され、画像形成装置にシートSを給送可能に構成されている。
(【0011】以降は省略されています)
この特許をJ-PlatPat(特許庁公式サイト)で参照する
関連特許
キヤノン株式会社
容器
1日前
キヤノン株式会社
トナー
17日前
キヤノン株式会社
トナー
4日前
キヤノン株式会社
トナー
22日前
キヤノン株式会社
トナー
17日前
キヤノン株式会社
トナー
17日前
キヤノン株式会社
撮影装置
15日前
キヤノン株式会社
撮像装置
18日前
キヤノン株式会社
定着装置
16日前
キヤノン株式会社
撮像装置
1日前
キヤノン株式会社
撮像装置
22日前
キヤノン株式会社
現像装置
8日前
キヤノン株式会社
記録装置
1日前
キヤノン株式会社
測距装置
10日前
キヤノン株式会社
撮像装置
1日前
キヤノン株式会社
撮像装置
1日前
キヤノン株式会社
電子機器
24日前
キヤノン株式会社
記録装置
15日前
キヤノン株式会社
現像装置
15日前
キヤノン株式会社
現像容器
15日前
キヤノン株式会社
現像容器
15日前
キヤノン株式会社
記録装置
22日前
キヤノン株式会社
電子機器
26日前
キヤノン株式会社
現像装置
15日前
キヤノン株式会社
モジュール
17日前
キヤノン株式会社
半導体装置
24日前
キヤノン株式会社
現像剤容器
23日前
キヤノン株式会社
光学センサ
17日前
キヤノン株式会社
画像形成装置
22日前
キヤノン株式会社
画像処理装置
23日前
キヤノン株式会社
画像形成装置
23日前
キヤノン株式会社
画像形成装置
4日前
キヤノン株式会社
画像形成装置
18日前
キヤノン株式会社
画像形成装置
18日前
キヤノン株式会社
画像形成装置
18日前
キヤノン株式会社
画像形成装置
9日前
続きを見る
他の特許を見る