TOP
|
特許
|
意匠
|
商標
特許ウォッチ
Twitter
他の特許を見る
10個以上の画像は省略されています。
公開番号
2025150815
公報種別
公開特許公報(A)
公開日
2025-10-09
出願番号
2024051922
出願日
2024-03-27
発明の名称
定着装置
出願人
キヤノン株式会社
代理人
弁理士法人近島国際特許事務所
主分類
B41J
2/01 20060101AFI20251002BHJP(印刷;線画機;タイプライター;スタンプ)
要約
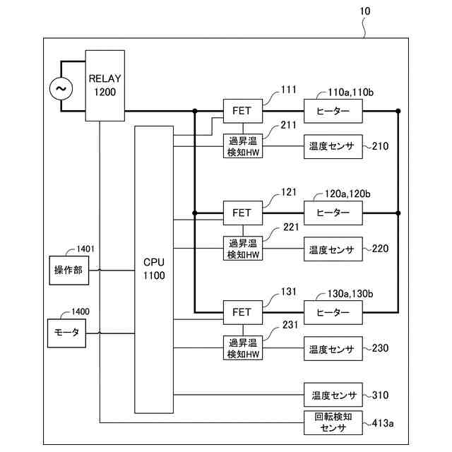
【課題】ベルトを、リフレクタとヒータとを用いて直接加熱する方式、且つ、非接触の温度センサを用いてベルトの温度を検知する構成において、温度センサが高温になることを抑制できる構成を提供する。
【解決手段】ヒータ110a、110bは、上ベルト30に対し非接触に配置され、上ベルト30を加熱する。リフレクタ115は、ヒータ110a、110bが内側に配置され、ヒータ110a、110bの輻射熱を上ベルト30の領域に向けて反射する。温度センサ210は、リフレクタ115の外側に配置され領域の温度を検知する。温度センサ210は、ファンから発生した気流が流れる流路160aに配置されている。
【選択図】図3
特許請求の範囲
【請求項1】
インクを吐出して画像が形成されたシートを加熱して、該シートに画像を定着させる定着装置であって、
回転する無端状のベルトと、
前記ベルトとの間でシートを挟持搬送するためのニップ部を形成するニップ部形成部材と、
前記ベルトに対し非接触に配置され、前記ベルトを加熱するヒータと、
前記ヒータが内側に配置され、前記ヒータの輻射熱を前記ベルトの領域に向けて反射する反射部材と、
前記反射部材の外側に配置され前記領域の温度を検知する温度検知部と、
気流を発生させるファンと、を備え、
前記温度検知部は、前記ファンから発生した気流が流れる流路に配置されている
ことを特徴とする定着装置。
続きを表示(約 1,700 文字)
【請求項2】
前記ファンから発生した気流が流れる前記流路を形成する流路形成部を更に備え、
前記温度検知部は、前記流路に配置されている、
ことを特徴とする請求項1に記載の定着装置。
【請求項3】
前記温度検知部は、前記ベルトの回転方向に関して前記反射部材に隣接して配置されている
ことを特徴とする請求項1に記載の定着装置。
【請求項4】
前記ヒータは、第1ヒータであり、
前記第1ヒータと共に前記反射部材の内側に前記ベルトに対し非接触に配置され、熱を放射することで前記ベルトを加熱する第2ヒータであって、前記第1ヒータよりも電力が小さい第2ヒータを更に備え、
前記反射部材は、前記第1ヒータ及び前記第2ヒータの輻射熱を前記ベルトの前記領域に向けて反射し、
前記温度検知部は、前記第1ヒータとの距離よりも前記第2ヒータとの距離が近い位置に配置される
ことを特徴とする請求項1に記載の定着装置。
【請求項5】
前記反射部材は、前記第1ヒータ及び前記第2ヒータの輻射熱を前記ベルトの第1領域に向けて反射する第1反射部材であり、
前記温度検知部は、前記第1領域の前記ベルトの温度を検知可能な位置に配置され、
前記ベルトに対し非接触に配置され、熱を放射することで前記ベルトを加熱する第3ヒータと、
前記ベルトに対し非接触に配置され、熱を放射することで前記ベルトを加熱する第4ヒータであって、前記第3ヒータよりも電力が小さい第4ヒータと、
前記第3ヒータ及び前記第4ヒータが内側に配置され、前記3ヒータ及び前記第4ヒータの輻射熱を前記ベルトの第2領域に向けて反射する第2反射部材と、を更に備え、
前記温度検知部は、前記ベルトの回転方向に関して前記第1反射部材と前記第2反射部との間であって、前記第1ヒータとの距離よりも前記第2ヒータとの距離が近く、且つ、前記第3ヒータとの距離よりも前記第4ヒータとの距離が近い位置に配置される
ことを特徴とする請求項4に記載の定着装置。
【請求項6】
前記温度検知部は、第1温度検知部であり、
前記第2反射部材の外側から前記第2領域の前記ベルトの温度を検知可能な位置に配置され、前記ベルトの温度を検知する第2温度検知部を更に備え、
前記第2温度検知部は、前記ベルトの回転方向に関して前記第1反射部材と前記第2反射部との間であって、前記第1ヒータとの距離よりも前記第2ヒータとの距離が近く、且つ、前記第3ヒータとの距離よりも前記第4ヒータとの距離が近い位置に配置される
ことを特徴とする請求項5に記載の定着装置。
【請求項7】
前記ヒータ及び前記反射部材は、前記ベルトの回転方向と交差する前記ベルトの幅方向に沿って配置され、
前記温度検知部は、前記幅方向に沿って複数配置されている
ことを特徴とする請求項1に記載の定着装置。
【請求項8】
前記幅方向において、前記ファンは前記ベルトの外側に配置される
ことを特徴とする請求項7に記載の定着装置。
【請求項9】
前記流路は、前記幅方向に沿って形成され、
前記温度検知部が検知可能な前記ベルトの領域を検知領域とした場合に、前記複数の温度検知部の前記検知領域の総面積のうち、前記流路を流れる気流の方向に関して、前記ベルトの幅方向中央よりも上流側における面積が、前記幅方向中央よりも下流側における面積よりも大きくなるように、前記複数の温度検知部が配置されている
ことを特徴とする請求項7に記載の定着装置。
【請求項10】
前記流路は、前記幅方向に沿って形成され、
前記複数の温度検知部は、前記流路を流れる気流の方向に関して、前記ベルトの幅方向中央より上流側の方が、前記幅方向中央より下流側よりも多く配置されている
ことを特徴とする請求項8に記載の定着装置。
(【請求項11】以降は省略されています)
発明の詳細な説明
【技術分野】
【0001】
本発明は、インクを吐出して画像が形成されたシートを加熱して、該シートに画像を定着させる定着装置に関する。
続きを表示(約 1,700 文字)
【背景技術】
【0002】
特許文献1には、ベルトを加熱するヒータ上に配置されたセンサを用いてヒータの温度を測定し、異常昇温を検知した場合にヒータへの通電制御を変更する構成が記載されている。
【先行技術文献】
【特許文献】
【0003】
特開2018-136392号公報
【発明の概要】
【発明が解決しようとする課題】
【0004】
ここで、ベルトをヒータで直接加熱する方式では、非接触の温度センサ(温度検知部)を用いてのベルト温度を検知することがある。また、ヒータによるベルトを加熱する効率を上げるためにリフレクタ(反射部材)を用いる構成が提案される。この構成を採用した場合に、温度検知部は輻射熱によって故障を抑制するためリフレクタの外側に配置される。
【0005】
しかしながら、リフレクタが遮熱しても温度検知部が熱を受けることで精度よく温度検知を行えない場合がある。理由として、精度よく対象の領域の温度を検知するため、温度センサをベルトやヒータに十分近い場所に配置しなければならないことが挙げられる。上記構成を採用した場合でも温度検知部が精度よく温度を検知する構成が求められている。
【0006】
本発明は、ベルトを、反射部材とヒータとを用いて直接加熱する方式、且つ、非接触の温度検知部を用いてベルトの温度を検知する構成において、温度検知部が高温になることを抑制できる構成を提供することを目的とする。
【課題を解決するための手段】
【0007】
本発明の一態様は、インクを吐出して画像が形成されたシートを加熱して、該シートに画像を定着させる定着装置であって、回転する無端状のベルトと、前記ベルトとの間でシートを挟持搬送するためのニップ部を形成するニップ部形成部材と、前記ベルトに対し非接触に配置され、前記ベルトを加熱するヒータと、前記ヒータが内側に配置され、前記ヒータの輻射熱を前記ベルトの領域に向けて反射する反射部材と、前記反射部材の外側に配置され前記領域の温度を検知する温度検知部と、気流を発生させるファンと、を備え、前記温度検知部は、前記ファンから発生した気流が流れる流路に配置されていることを特徴とする定着装置である。
【0008】
本発明の一態様は、インクを吐出して画像が形成されたシートを加熱して、該シートに画像を定着させる定着装置であって、回転する無端状のベルトと、前記ベルトとの間でシートを挟持搬送するためのニップ部を形成するニップ部形成部材と、前記ベルトに対し非接触に、且つ、前記ベルトの回転方向と交差する前記ベルトの幅方向に沿って配置され、前記ベルトを加熱するヒータと、前記ヒータが内側に配置され、前記ヒータの輻射熱を前記ベルトの領域に向けて反射する反射部材と、前記幅方向に関して前記ヒータの端部よりも外側で、前記反射部材の外側に配置され前記領域の温度を検知する温度検知部と、を備えたことを特徴とする定着装置である。
【0009】
本発明の一態様は、インクを吐出して画像が形成されたシートを加熱して、該シートに画像を定着させる定着装置であって、回転する無端状のベルトと、前記ベルトとの間でシートを挟持搬送するためのニップ部を形成するニップ部形成部材と、前記ベルトに対し非接触に、且つ、前記ベルトの回転方向と交差する前記ベルトの幅方向に沿って配置され、前記ベルトの前記ニップ部から外れた位置を加熱するヒータと、前記ヒータが内側に配置され、前記ヒータの輻射熱を前記ベルトの領域に向けて反射する反射部材と、前記ベルトの前記ヒータ及び前記反射部材が配置された側とは反対側に配置され、前記領域の前記ベルトの裏面の温度を検知する温度検知部と、を備えたことを特徴とする定着装置である。
【発明の効果】
【0010】
本発明によれば、ベルトを、反射部材とヒータとを用いて直接加熱する方式、且つ、非接触の温度検知部を用いてベルトの温度を検知する構成において、温度検知部が高温になることを抑制できる。
【図面の簡単な説明】
(【0011】以降は省略されています)
この特許をJ-PlatPat(特許庁公式サイト)で参照する
関連特許
キヤノン株式会社
容器
10日前
キヤノン株式会社
容器
4日前
キヤノン株式会社
トナー
26日前
キヤノン株式会社
トナー
26日前
キヤノン株式会社
トナー
26日前
キヤノン株式会社
トナー
1か月前
キヤノン株式会社
トナー
13日前
キヤノン株式会社
撮像装置
10日前
キヤノン株式会社
定着装置
25日前
キヤノン株式会社
記録装置
24日前
キヤノン株式会社
記録装置
10日前
キヤノン株式会社
撮像装置
1か月前
キヤノン株式会社
撮像装置
10日前
キヤノン株式会社
撮像装置
27日前
キヤノン株式会社
現像容器
24日前
キヤノン株式会社
現像装置
24日前
キヤノン株式会社
現像容器
24日前
キヤノン株式会社
現像装置
24日前
キヤノン株式会社
測距装置
19日前
キヤノン株式会社
記録装置
1か月前
キヤノン株式会社
現像装置
17日前
キヤノン株式会社
撮像装置
10日前
キヤノン株式会社
撮影装置
24日前
キヤノン株式会社
表示装置
4日前
キヤノン株式会社
撮像装置
4日前
キヤノン株式会社
モジュール
26日前
キヤノン株式会社
光学センサ
26日前
キヤノン株式会社
現像剤容器
1か月前
キヤノン株式会社
画像形成装置
10日前
キヤノン株式会社
画像形成装置
24日前
キヤノン株式会社
画像形成装置
24日前
キヤノン株式会社
画像形成装置
24日前
キヤノン株式会社
カートリッジ
24日前
キヤノン株式会社
情報処理装置
24日前
キヤノン株式会社
画像形成装置
17日前
キヤノン株式会社
画像形成装置
27日前
続きを見る
他の特許を見る