TOP
|
特許
|
意匠
|
商標
特許ウォッチ
Twitter
他の特許を見る
10個以上の画像は省略されています。
公開番号
2025164984
公報種別
公開特許公報(A)
公開日
2025-11-04
出願番号
2024068803
出願日
2024-04-22
発明の名称
液体収容体
出願人
キヤノン株式会社
代理人
弁理士法人谷・阿部特許事務所
主分類
B41J
2/175 20060101AFI20251027BHJP(印刷;線画機;タイプライター;スタンプ)
要約
【課題】脱炭素/循環型社会などの持続可能な社会の実現に貢献し得る技術として、使用済みの液体収容体の省スペース化を実現することが可能な液体収容体を提供する。
【解決手段】液体を吐出する液体吐出装置に液体を供給するための液体収容体10であって、液体を収容する液体収容袋20と、液体収容袋20に設けられた、液体収容袋20と液体吐出装置とを接続するための接続口部30と、を備え、液体収容袋20に収容された液体が減少するのに応じて、接続口部30の延伸方向における液体収容袋20の長さ、もしくは当該延伸方向および鉛直方向と交差する方向における液体収容袋20の長さが小さくなる。
【選択図】図4
特許請求の範囲
【請求項1】
液体を吐出する液体吐出装置に液体を供給するための液体収容体であって、
液体を収容する液体収容袋と、
前記液体収容袋に設けられた、前記液体収容袋と前記液体吐出装置とを接続するための接続口部と、
を備え、
前記液体収容袋に収容された液体が減少するのに応じて、前記接続口部の延伸方向における前記液体収容袋の長さ、もしくは前記延伸方向および鉛直方向と交差する方向における前記液体収容袋の長さが小さくなることを特徴とする液体収容体。
続きを表示(約 1,100 文字)
【請求項2】
前記液体収容袋に収容された液体が減少するのに応じて前記液体収容袋が巻かれて、前記延伸方向における前記液体収容袋の長さ、もしくは前記延伸方向および鉛直方向と交差する方向における前記液体収容袋の長さが小さくなる、請求項1に記載の液体収容体。
【請求項3】
前記液体収容袋が巻かれて、前記延伸方向における前記液体収容袋の長さが小さくなる、請求項2に記載の液体収容体。
【請求項4】
前記液体収容袋を巻くための付勢力を与える付勢部材を備え、
前記液体収容袋に収容された液体が減少するのに応じて、前記付勢部材の前記付勢力により前記液体収容袋が巻かれる、請求項2または3に記載の液体収容体。
【請求項5】
前記付勢部材は、線材を用いて形成されて前記液体収容袋に取り付けられる、請求項4に記載の液体収容体。
【請求項6】
前記液体収容袋は、
シート状に形成される第1シート部材と、
シート状に形成されて前記第1シート部材に重なる第2シート部材と、
を備え、
前記第1シート部材と前記第2シート部材との間に液体が収容され、
前記第1シート部材の材料の線膨張率と前記第2シート部材の材料の線膨張率とが互いに異なり、
前記液体収容袋に収容された液体が減少するのに応じて、前記第1シート部材の材料の線膨張率と前記第2シート部材の材料の線膨張率との差に基づいて生じる力により前記液体収容袋が巻かれる、請求項2または3に記載の液体収容体。
【請求項7】
前記液体収容袋に巻き癖が付いており、
前記液体収容袋に収容された液体が減少するのに応じて、前記液体収容袋に付いた前記巻き癖により前記液体収容袋が巻かれる、請求項2または3に記載の液体収容体。
【請求項8】
前記液体収容袋に収容された液体が減少するのに応じて前記液体収容袋が折り畳まれて、前記延伸方向における前記液体収容袋の長さ、もしくは前記延伸方向および鉛直方向と交差する方向における前記液体収容袋の長さが小さくなる、請求項1に記載の液体収容体。
【請求項9】
前記液体収容袋は、前記液体収容袋を折り畳むための折り癖が付いた折り目を有し、
前記液体収容袋に収容された液体が減少するのに応じて、前記折り目に付いた前記折り癖により前記液体収容袋が折り畳まれる、請求項8に記載の液体収容体。
【請求項10】
前記液体収容袋が折り畳まれて、前記延伸方向における前記液体収容袋の長さが小さくなる、請求項9に記載の液体収容体。
(【請求項11】以降は省略されています)
発明の詳細な説明
【技術分野】
【0001】
本開示は、液体収容体に関する。
続きを表示(約 1,800 文字)
【背景技術】
【0002】
従来、液体吐出装置へ液体を供給する方法として、液体収容体を用いた供給方法が知られている。特許文献1には、インクなどの液体を収容可能な液体収容体と、液体収容体を収容するケースとを備えるカートリッジに関する技術が開示されている。液体収容体は、2枚の樹脂製のシートを用いて形成される液体収容袋を備える。液体収容袋に収容された液体が液体吐出装置へ供給されると、液体収容袋を形成する2枚のシートが互いに接触する方向に撓む。使用済みの液体収容体は、カートリッジのケースから取り外され、使用済みの液体収容体に代えて、未使用の液体収容体がケースに取り付けられる。
【先行技術文献】
【特許文献】
【0003】
特許第6372322号公報
【発明の概要】
【発明が解決しようとする課題】
【0004】
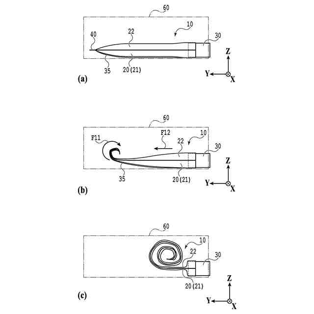
カートリッジのケースから取り外された使用済みの液体収容体は、作業者によって折り畳まれたり、丸められたりする。このように、使用済みの液体収容体の取り扱い方は、作業者によって異なる。液体収容体のリユースまたはリサイクルを行うためには、使用済みの液体収容体の省スペース化を図ることが望ましい。しかしながら、使用済みの液体収容体が乱雑に丸められると、使用済みの液体収容体を回収するに必要なスペースが広くなる。
【0005】
本開示は、使用済みの液体収容体の省スペース化を実現することを目的とする。
【課題を解決するための手段】
【0006】
本開示の一態様に係る液体収容体は、液体を吐出する液体吐出装置に液体を供給するための液体収容体であって、液体を収容する液体収容袋と、前記液体収容袋に設けられた、前記液体収容袋と前記液体吐出装置とを接続するための接続口部と、を備え、前記液体収容袋に収容された液体が減少するのに応じて、前記接続口部の延伸方向における前記液体収容袋の長さ、もしくは前記延伸方向および鉛直方向と交差する方向における前記液体収容袋の長さが小さくなる。
【発明の効果】
【0007】
本開示によれば、使用済みの液体収容体の省スペース化を実現することができる。
【図面の簡単な説明】
【0008】
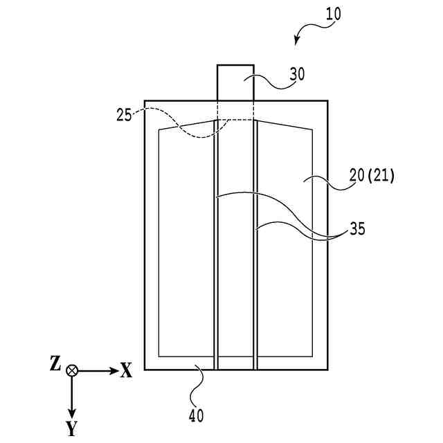
液体吐出装置の概略斜視図である。
第1実施形態に係る液体収容体の概略図である。
第1実施形態に係る液体収容体の底面図である。
第1実施形態に係る液体収容体における液体収容袋の状態を示す側面図である。
第1実施形態に係る液体収容体の変形例を示す底面図である。
第2実施形態に係る液体収容体の概略図である。
第2実施形態に係る液体収容体における液体収容袋の状態を示す側面図である。
第3実施形態に係る液体収容体の概略図である。
第3実施形態に係る液体収容体における液体収容袋の状態を示す側面図である。
第4実施形態に係る液体収容体の概略図である。
第4実施形態に係る液体収容体における液体収容袋の状態を示す側面図である。
第4実施形態に係る液体収容体の第1変形例を示す側面図である。
第4実施形態に係る液体収容体の第2変形例を示す斜視図である。
第4実施形態に係る液体収容体の第3変形例を示す正面図である。
【発明を実施するための形態】
【0009】
以下、添付図面を参照して本開示の好適な実施の形態を詳しく説明する。尚、以下の実施の形態は本開示事項を限定するものでなく、また以下の実施の形態で説明されている特徴の組み合わせすべてが本開示の解決手段に必須のものとは限らない。以下の実施の形態に記載されている構成部品の寸法、材質、形状、相対配置などは、本開示が適用される液体収容体の構成、各種条件などにより適宜変更される。尚、同一の構成については、同じ符号を付して説明する。
【0010】
<<第1実施形態>>
本明細書に記載の技術は脱炭素/循環型社会などの持続可能な社会の実現に貢献し得る。本実施形態では、持続可能な社会の実現に貢献し得る技術として、使用済みの液体収容体の省スペース化を実現することが可能な液体収容体について説明する。
(【0011】以降は省略されています)
この特許をJ-PlatPat(特許庁公式サイト)で参照する
関連特許
キヤノン株式会社
表示装置
1日前
キヤノン株式会社
撮像装置
1日前
キヤノン株式会社
表示装置
1日前
キヤノン株式会社
表示装置
1日前
キヤノン株式会社
撮像装置
1日前
キヤノン株式会社
撮像装置
3日前
キヤノン株式会社
発光装置
1日前
キヤノン株式会社
定着装置
9日前
キヤノン株式会社
検査システム
1日前
キヤノン株式会社
画像形成装置
4日前
キヤノン株式会社
情報処理装置
9日前
キヤノン株式会社
画像形成装置
1日前
キヤノン株式会社
画像形成装置
4日前
キヤノン株式会社
情報処理装置
9日前
キヤノン株式会社
インク収納体
3日前
キヤノン株式会社
二成分現像剤
1日前
キヤノン株式会社
画像形成装置
2日前
キヤノン株式会社
画像認識装置
9日前
キヤノン株式会社
情報処理装置
9日前
キヤノン株式会社
情報処理装置
9日前
キヤノン株式会社
情報処理装置
9日前
キヤノン株式会社
画像形成装置
9日前
キヤノン株式会社
インク収容容器
9日前
キヤノン株式会社
インク補充用パウチ
1日前
キヤノン株式会社
光学系および撮像装置
9日前
キヤノン株式会社
発光装置及び測距装置
1日前
キヤノン株式会社
発光装置及び測距装置
1日前
キヤノン株式会社
ズームレンズ及び撮像装置
1日前
キヤノン株式会社
記録装置及びその制御方法
1日前
キヤノン株式会社
画像処理装置、画像処理方法
1日前
キヤノン株式会社
撮像装置およびその制御方法
2日前
キヤノン株式会社
ズームレンズおよび撮像装置
1日前
キヤノン株式会社
ポリマー電解質及び二次電池
1日前
キヤノン株式会社
表示装置および表示制御方法
9日前
キヤノン株式会社
画像読取装置及び画像形成装置
1日前
キヤノン株式会社
撮像装置、撮像装置の制御方法
1日前
続きを見る
他の特許を見る