TOP
|
特許
|
意匠
|
商標
特許ウォッチ
Twitter
他の特許を見る
公開番号
2025169057
公報種別
公開特許公報(A)
公開日
2025-11-12
出願番号
2024074036
出願日
2024-04-30
発明の名称
画像形成装置
出願人
キヤノン株式会社
代理人
弁理士法人大塚国際特許事務所
主分類
G03G
21/00 20060101AFI20251105BHJP(写真;映画;光波以外の波を使用する類似技術;電子写真;ホログラフイ)
要約
【課題】一次転写同時クリーニング方式において、中間転写ベルトの急激な搬送速度の変化などによって意図しないタイミングでクリーニング部に蓄積されたトナーが中間転写体に飛散すると、そのトナーが二次転写ニップにおいて記録媒体を汚染したり、記録媒体の画像不良として顕在化してしまう可能性があった。
【解決手段】トナー像を担持する像担持体と、二次転写ローラを含み、前記像担持体から中間転写体に一次転写されたトナー像を前記中間転写体から記録媒体に二次転写する二次転写手段と、前記中間転写体に対して当接及び離間が可能で、前記二次転写の後に前記中間転写体上に残留したトナーを帯電してクリーニングするためのクリーニング部とを有する画像形成装置であって、前記記録媒体の先端が、前記二次転写ローラと前記中間転写体との当接部を通過した後に前記クリーニング部を前記中間転写体に当接させるよう制御する。
【選択図】 図5
特許請求の範囲
【請求項1】
トナー像を担持する像担持体と、
二次転写ローラを含み、前記像担持体から中間転写体に一次転写されたトナー像を前記中間転写体から記録媒体に二次転写する二次転写手段と、
前記中間転写体に対して当接及び離間が可能で、前記二次転写の後に前記中間転写体上に残留したトナーを帯電してクリーニングするためのクリーニング部と、
前記記録媒体の先端が、前記二次転写ローラと前記中間転写体との当接部を通過した後に前記クリーニング部を前記中間転写体に当接させるよう制御する制御手段と、
を有することを特徴とする画像形成装置。
続きを表示(約 1,100 文字)
【請求項2】
前記クリーニング部は、電圧が印加されることで前記二次転写の後に前記中間転写体に残留したトナーを帯電させるブラシ部材を有することを特徴とする請求項1に記載の画像形成装置。
【請求項3】
前記ブラシ部材は、前記中間転写体と当接する領域の表面にトナーを保持することを特徴とする請求項2に記載の画像形成装置。
【請求項4】
前記中間転写体を搬送する駆動源であるモータと、
前記記録媒体が前記二次転写ローラに到達したことを検出するセンサとを、更に有し
前記制御手段は、前記センサが前記記録媒体を検出した後、前記モータを所定の回転量、駆動した後、前記クリーニング部を中間転写体に当接させることを特徴とする請求項1に記載の画像形成装置。
【請求項5】
トナー像を担持する像担持体と、
前記像担持体に形成されたトナー像を中間転写体に一次転写する一次転写手段と、
二次転写ローラを含み、前記中間転写体から記録媒体に前記トナー像を二次転写する二次転写手段と、
前記中間転写体に対して当接及び離間が可能で、前記二次転写の後に前記中間転写体上に残留したトナーを帯電してクリーニングするためのクリーニング部と、
前記記録媒体に二次転写されたトナー像を、互いに圧接された定着回転体と加圧体との間に形成された定着ニップ部において加熱、加圧することで前記記録媒体に定着させる定着器と、
前記二次転写手段により二次転写された前記記録媒体の先端が、前記定着器の前記定着ニップ部を通過した後に前記クリーニング部を前記中間転写体に当接させるよう制御する制御手段と、
を有することを特徴とする画像形成装置。
【請求項6】
前記クリーニング部は、電圧が印加されることで前記二次転写の後に前記中間転写体に残留したトナーを帯電させるブラシ部材を有することを特徴とする請求項5に記載の画像形成装置。
【請求項7】
前記中間転写体上における前記二次転写ローラから前記クリーニング部までの距離は、前記二次転写ローラから前記定着器までの距離よりも長いことを特徴とする請求項5に記載の画像形成装置。
【請求項8】
前記クリーニング部は、前記中間転写体と当接する領域の表面にトナーを保持することを特徴とする請求項5に記載の画像形成装置。
【請求項9】
前記記録媒体が、前記定着器の定着ニップ部を通過したことを検出するセンサを、更に有し
前記制御手段は、前記センサによる検出に基づいて前記クリーニング部を中間転写体に当接させることを特徴とする請求項5に記載の画像形成装置。
発明の詳細な説明
【技術分野】
【0001】
本発明は、記録媒体に画像を形成する画像形成装置に関する。
続きを表示(約 2,200 文字)
【背景技術】
【0002】
電子写真方式の画像形成装置では、電子写真感光体上に形成したトナー像を、一旦中間転写体上に一次転写させ、その中間転写体に転写されたトナー像を、記録媒体に接触して転写させる転写部材による二次転写を行って画像を形成している。このような電子写真方式による画像形成装置を使用することで、各成分色画像の重ね合わせ位置の物理的なずれ(色ずれ)の少ないカラー画像を得ることができる。
【0003】
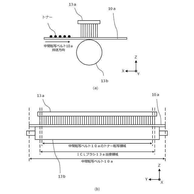
上述の中間転写体を用いた画像形成装置では、中間転写体から紙などの記録媒体へ転写する二次転写の後に、その中間転写体上に残留したトナーを除去(クリーニング)することが、良好な画像を得る上で重要である。このため、従来、二次転写位置の後にクリーニングブレードを設け、二次転写の後に中間転写体上に残留した残トナーをかきとる手法が用いられている。また中間転写体上の二次転写の残トナーを感光ドラムの帯電電位と逆電位に帯電させ、一次転写ニップにおいて残トナーを感光ドラムに回収し、同時に一次転写も行う一次転写同時クリーニング方式が用いられている(特許文献1)。
【0004】
この一次転写同時クリーニング方式では、二次転写後の残トナーは感光ドラムを経て、感光ドラムのクリーニングユニットに回収される。このため、中間転写体の残トナーを回収する廃トナー容器の容量を最小限にでき、また中間転写体をブレードなどで強く摺擦しないため中間転写体の長寿命化が図れるという利点がある。
【0005】
また特許文献2のように、二次転写後の残トナーの帯電手段を、中間転写体に対して当接離間できるようにし、中間転写体上に残トナーが存在しないときは帯電手段を中間転写体から離間させる。これにより、中間転写体の更なる長寿命化を達成することができる。今後、上述した一次転写同時クリーニング方式における二次転写後の残トナーの帯電手段をICL(Intermediate transfer apparatus CLeanig)手段と称することとする。
【先行技術文献】
【特許文献】
【0006】
特開平11-52748号公報
特許第5954939号公報
【発明の概要】
【発明が解決しようとする課題】
【0007】
ところで上述した一次転写同時クリーニング方式では、ICL手段は、二次転写後の残トナーを感光ドラムの帯電電位と逆電位に帯電させることを目的としているものの、帯電しきれずにICL手段に回収、保持されるトナーが存在する。例えばICL手段がブラシである場合、中間転写体上の二次転写後の残トナーは、感光ドラムの帯電電位と逆電位が印加されたブラシに到達する。そしてその残トナーは、感光ドラムの帯電電位と逆電位に帯電されてブラシを通過していくトナーと、感光ドラムの帯電電位と逆電位まで帯電しきれずにブラシに絡み取られてブラシに保持されるトナーとに分かれる。そしてブラシに保持されたトナーは、所定のタイミングでブラシに電圧を印加することで中間転写体上へ吐き出され一次転写ニップで感光ドラムに回収される。但し、このとき、ブラシに保持された全てのトナーが吐き出されることはなく、そのブラシには、ある程度のトナーが保持された状態になっている。この保持されたトナーが、画像形成中の意図しないタイミングで中間転写体に飛散すると、飛散したトナーは一次転写ニップを通過し、二次転写ニップにおいて二次転写部材を汚染したり、記録媒体に汚れを転写して画像不良として顕在化する可能性があった。上述したブラシからのトナーの飛散は、ブラシが中間転写体に接触していて、かつ中間転写体の搬送速度が変化するときに発生しやすい。
【0008】
そこで本発明の目的は、中間転写体の搬送速度が変化しやすいタイミングにおいて、クリーニング部を中間転写体から離間しておくことで、クリーニング部に蓄積したトナーの中間転写体への飛散を防止する技術を提供することにある。
【課題を解決するための手段】
【0009】
上記目的を達成するために本発明の一態様に係る画像形成装置は以下のような構成を備える。即ち、
トナー像を担持する像担持体と、
二次転写ローラを含み、前記像担持体から中間転写体に一次転写されたトナー像を前記中間転写体から記録媒体に二次転写する二次転写手段と、
前記中間転写体に対して当接及び離間が可能で、前記二次転写の後に前記中間転写体上に残留したトナーを帯電してクリーニングするためのクリーニング部と、
前記記録媒体の先端が、前記二次転写ローラと前記中間転写体との当接部を通過した後に前記クリーニング部を前記中間転写体に当接させるよう制御する制御手段と、を有することを特徴とする。
【発明の効果】
【0010】
本発明によれば、中間転写体の搬送速度が変化しやすいタイミングにおいて、クリーニング部を中間転写体から離間しておくことで、クリーニング部に蓄積したトナーの中間転写体への飛散を抑制することができるという効果がある。
(【0011】以降は省略されています)
この特許をJ-PlatPat(特許庁公式サイト)で参照する
関連特許
キヤノン株式会社
容器
1か月前
キヤノン株式会社
容器
1か月前
キヤノン株式会社
トナー
1か月前
キヤノン株式会社
トナー
1か月前
キヤノン株式会社
撮像装置
1か月前
キヤノン株式会社
撮像装置
1か月前
キヤノン株式会社
撮像装置
1か月前
キヤノン株式会社
記録装置
1か月前
キヤノン株式会社
定着装置
24日前
キヤノン株式会社
撮像装置
18日前
キヤノン株式会社
撮像装置
1か月前
キヤノン株式会社
撮像装置
3日前
キヤノン株式会社
撮像装置
3日前
キヤノン株式会社
撮像装置
3日前
キヤノン株式会社
記録装置
4日前
キヤノン株式会社
定着装置
18日前
キヤノン株式会社
撮像装置
18日前
キヤノン株式会社
撮像装置
1か月前
キヤノン株式会社
現像装置
1か月前
キヤノン株式会社
測距装置
1か月前
キヤノン株式会社
撮像装置
3日前
キヤノン株式会社
二次電池
5日前
キヤノン株式会社
定着装置
18日前
キヤノン株式会社
撮像装置
12日前
キヤノン株式会社
撮像装置
1か月前
キヤノン株式会社
表示装置
1か月前
キヤノン株式会社
発光装置
10日前
キヤノン株式会社
表示装置
10日前
キヤノン株式会社
撮像装置
10日前
キヤノン株式会社
撮像装置
10日前
キヤノン株式会社
表示装置
10日前
キヤノン株式会社
表示装置
10日前
キヤノン株式会社
撮像装置
3日前
キヤノン株式会社
記録装置
4日前
キヤノン株式会社
表示装置
3日前
キヤノン株式会社
記録装置
24日前
続きを見る
他の特許を見る