TOP
|
特許
|
意匠
|
商標
特許ウォッチ
Twitter
他の特許を見る
10個以上の画像は省略されています。
公開番号
2025149818
公報種別
公開特許公報(A)
公開日
2025-10-08
出願番号
2024185243
出願日
2024-10-21
発明の名称
モジュール
出願人
キヤノン株式会社
代理人
個人
,
個人
,
個人
,
個人
主分類
H05K
1/18 20060101AFI20251001BHJP(他に分類されない電気技術)
要約
【課題】チップ部品の実装レイアウトの自由度を向上させる。
【解決手段】本開示に係るモジュールは、配線板と、第1電極部、第1非電極部、および第2電極部を有し、前記配線板の上に設けられた第1チップ部品と、第3電極部、第2非電極部および第4電極部を有し、前記第1チップ部品の上に積層された第2チップ部品と、を備え、前記第2電極部は、前記第3電極部および前記第4電極部から電気的に隔離され、前記第2電極部は、前記第2非電極部と前記配線板との間に位置する。
【選択図】図2B
特許請求の範囲
【請求項1】
配線板と、
第1電極部、第1非電極部、および第2電極部を有し、前記配線板の上に設けられた第1チップ部品と、
第3電極部、第2非電極部、および第4電極部を有し、前記第1チップ部品の上に積層された第2チップ部品と、を備え、
前記第2電極部は、前記第3電極部および前記第4電極部から電気的に隔離され、
前記第2電極部は、前記第2非電極部と前記配線板との間に位置する、ことを特徴とするモジュール。
続きを表示(約 1,200 文字)
【請求項2】
配線板と、
第1電極部、第1非電極部、および第2電極部を有し、前記配線板の上に設けられた第1チップ部品と、
第3電極部、第2非電極部、および第4電極部を有し、前記第1チップ部品の上に積層された第2チップ部品と、を備え、
前記第3電極部は、前記第1電極部および前記第2電極部から電気的に隔離され、
前記第1非電極部は、前記第3電極部と前記配線板との間に位置する、ことを特徴とするモジュール。
【請求項3】
配線板と、
第1電極部、第1非電極部、および第2電極部を有し、前記配線板の上に設けられた第1チップ部品と、
第3電極部、第2非電極部、および第4電極部を有し、前記第1チップ部品の上に積層された第2チップ部品と、を備え、
前記第1電極部は、第1接合材を介して前記配線板と接合され、
前記第2電極部は、第2接合材を介して前記配線板と接合され、
前記第3電極部は、第3接合材を介して前記配線板と接合され、
前記第4電極部は、第4接合材を介して前記配線板と接合され、
前記第1接合材、前記第2接合材、前記第3接合材、および前記第4接合材は、互いに分離している、ことを特徴とするモジュール。
【請求項4】
前記第2電極部は、前記第1チップ部品と前記第2チップ部品との積層方向における間隙を介して前記第3電極部および前記第4電極部から電気的に隔離される、請求項1に記載のモジュール。
【請求項5】
前記第3電極部は、前記第1チップ部品と前記第2チップ部品との積層方向における間隙を介して前記第1電極部および前記第2電極部から電気的に隔離される、請求項2に記載のモジュール。
【請求項6】
前記第2チップ部品のサイズは、前記第1チップ部品のサイズよりも大きい、ことを特徴とする、請求項1乃至5のいずれか1項に記載のモジュール。
【請求項7】
前記間隙の距離は、200μm未満である、ことを特徴とする請求項4または5に記載のモジュール。
【請求項8】
第5電極部、第3非電極部、および第6電極部を有し、前記配線板の上に設けられた第3チップ部品をさらに備え、
前記第3チップ部品は、前記配線板と前記第2チップ部品との間に配置されている、ことを特徴とする請求項4または5に記載のモジュール。
【請求項9】
前記第6電極部は、前記間隙を介して前記第3電極部および前記第4電極部から電気的に隔離され、かつ、前記第2非電極部と前記配線板との間に位置する、ことを特徴とする請求項8に記載のモジュール。
【請求項10】
前記第4電極部は、前記間隙を介して前記第5電極部および前記第6電極部から電気的に隔離され、
前記第3非電極部は、前記第4電極部と前記配線板との間に位置する、ことを特徴とする請求項8に記載のモジュール。
(【請求項11】以降は省略されています)
発明の詳細な説明
【技術分野】
【0001】
本発明は、モジュールに関する。
続きを表示(約 2,900 文字)
【背景技術】
【0002】
近年、半導体装置(IC)の集積化によって電子回路の小型・高密度化が著しく進展している。しかしながら、ICの周辺回路には依然としてコンデンサや抵抗などの個別回路部品が利用され、これらの部品をプリント配線板に実装することでプリント回路板が形成されている。電子機器の高機能化を実現するため、ICの扱う信号数および動作速度は増加している。このため、信号の波形成形、信号や電源のノイズ対策に必要な部品の数は増加する傾向にある。
プリント回路板に実装する部品はチップ化が進み、チップコンデンサ、チップ抵抗器等のチップ部品の小型化も進められている。しかし、前述の実装部品数の増加傾向と電子機器の小型化に対する要求のために、プリント回路板におけるチップ部品の実装密度を向上させるニーズは高まっている。
【0003】
このような状況に対して、プリント配線板を含む電子機器の容積利用率を高め、立体的に電子部品を配置し、それによって小さなプリント配線板、例えば小さな制御装置などの電子機器を実現しようとする試みがある。例えば、特許文献1には、複数のチップ部品を実装した上に別のチップ部品を積層して実装する形態が開示されている。しかしながら、上段のチップ部品の電極と下段のチップ部品の電極とが直接接続されるように積み重ねる場合には、上段のチップ部品の電極間距離によって下段の複数のチップ部品同士の間隙の幅が制限されてしまう。すなわち、下段のチップ部品同士の距離を、上段のチップ部品のサイズで決まる電極間距離よりも近接させることができないという問題があった。この結果、下段のチップ部品同士の間隙はデッドスペースとなって、チップ部品の実装レイアウトの自由度が制限されてしまう場合があった。
【先行技術文献】
【特許文献】
【0004】
特開2005-216884号公報
【発明の概要】
【発明が解決しようとする課題】
【0005】
そこで、本開示は、チップ部品の実装レイアウトの自由度を向上させたモジュールを提供することを目的とする。
【課題を解決するための手段】
【0006】
本開示に係るモジュールは、配線板と、第1電極部、第1非電極部、および第2電極部を有し、前記配線板の上に設けられた第1チップ部品と、第3電極部、第2非電極部および第4電極部を有し、前記第1チップ部品の上に積層された第2チップ部品と、を備え、前記第2電極部は、前記第3電極部および前記第4電極部から電気的に隔離され、前記第2電極部は、前記第2非電極部と前記配線板との間に位置する、ことを特徴とする。
【発明の効果】
【0007】
本開示によれば、チップ部品の実装レイアウトの自由度を向上させたモジュールを提供することが可能となる。
【図面の簡単な説明】
【0008】
第1実施形態に係る電子機器を示す模式図である。
第1実施形態に係る処理モジュールの上面図である。
図2Aの点線A101-A′101における断面図である。
従来の処理モジュールを示す図面である。
第2実施形態に係る処理モジュールを示す上面図である。
図4Aの点線A201-A′201における断面図である。
第3実施形態に係る処理モジュールを示す上面図である。
図5Aの点線A301-A′301におけるXZ平面の断面図である。
図5Bの点線B301-B′301におけるXY平面の断面図である。
第3実施形態の効果を説明するための比較例に係る処理モジュールを示す上面図である。
比較例に係る処理モジュールの点線A351-A′351におけるXZ平面の断面図である。
図6Bの点線B351-B′351におけるXY平面の断面図である。
実施例1と比較例の電源インピーダンスのシミュレーション結果を示す図である。
第4の実施形態に係る処理モジュールを示す図である。
第4実施形態の効果を説明するための比較例に係る処理モジュール4505を示す図である。
実施例2と比較例の電源インピーダンスのシミュレーション結果を示す図である。
第5実施形態に係る処理モジュールを示す図である。
第5実施形態の効果を説明するための比較例に係る処理モジュールを示す図である。
実施例3と比較例の電源インピーダンスのシミュレーション結果である。
第6実施形態に係る処理モジュールを示す図である。
第7実施形態に係る処理モジュールを示す図である。
第8実施形態に係る処理モジュールを示す図である。
第9実施形態に係る処理モジュールを示す図である。
第10実施形態に係る処理モジュールを示す図である。
第11実施形態に係る処理モジュールを示す図である。
第12実施形態に係る処理モジュールを示す図である。
第13実施形態に係る処理モジュールを示す図である。
第14実施形態に係る処理モジュールを示す図である。
第15実施形態に係る処理モジュールを示す図である。
第16実施形態に係る処理モジュールを示す図である。
第17実施形態に係る処理モジュールを示す図である。
第18実施形態に係る処理モジュールを示す図である。
第19実施形態に係る処理モジュールの上面図である。
図27Aの点線B-B′における断面図である。
第20実施形態に係る処理モジュールの上面図である。
図28Aの点線C-C′における断面図である。
図28Aの点線C-C′における断面図である。
【発明を実施するための形態】
【0009】
以下、本開示を実施するための形態を、図面を参照しながら詳細に説明する。なお、本開示は以下の実施形態に限定されるものではなく、その要旨を逸脱しない範囲において適宜変更可能である。また、以下で説明する図面において、同じ機能を有するものは同一の符号を付し、その説明を省略又は簡潔にすることもある。
【0010】
[第1実施形態]
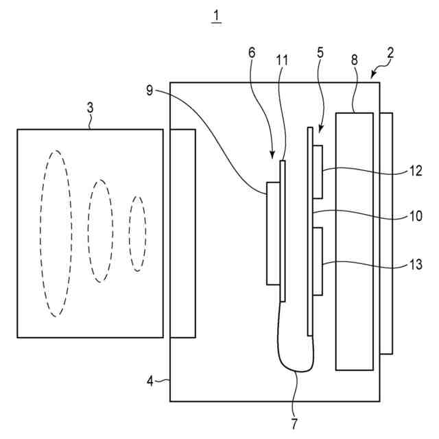
図1は、第1実施形態に係る電子機器の一例を示す模式図である。ここでは、電子機器として撮像装置であるデジタルカメラ1が示されている。デジタルカメラ1は、レンズ交換式のデジタルカメラであり、カメラ本体2を備える。カメラ本体2には、レンズを含むレンズユニット(レンズ鏡筒)3が着脱可能となっている。カメラ本体2は、筐体4と、処理モジュール5と、センサモジュール6と、を備えている。処理モジュール5およびセンサモジュール6は、筐体4の内部に配置されている。
(【0011】以降は省略されています)
この特許をJ-PlatPat(特許庁公式サイト)で参照する
関連特許
キヤノン株式会社
撮像装置
3日前
キヤノン株式会社
画像形成装置
3日前
キヤノン株式会社
画像形成装置
3日前
キヤノン株式会社
画像形成装置
3日前
キヤノン株式会社
画像形成装置
3日前
キヤノン株式会社
発光装置、表示装置、撮像装置、及び電子機器
3日前
キヤノン株式会社
情報処理装置、画像形成装置、制御方法及びそのプログラム
3日前
キヤノン株式会社
画像形成装置
3日前
キヤノン株式会社
画像形成装置
3日前
キヤノン株式会社
水性インク、インクカートリッジ、及びインクジェット記録方法
3日前
キヤノン株式会社
光学系及びそれを有する撮像装置
3日前
キヤノン株式会社
基板処理装置および物品製造方法
3日前
キヤノン株式会社
シート供給装置およびプリント装置
3日前
キヤノン株式会社
画像処理システム、および、画像処理方法、学習済みモデルとその学習方法及びプログラム
3日前
キヤノン株式会社
撮影制御装置および撮影制御方法、ならびに撮像システム
3日前
個人
電子部品の実装方法
1か月前
愛知電機株式会社
装柱金具
24日前
個人
非衝突型ガウス加速器
2か月前
日本精機株式会社
回路基板
1か月前
個人
電気式バーナー
16日前
日本放送協会
基板固定装置
1か月前
個人
節電材料
2か月前
イビデン株式会社
配線基板
25日前
アイホン株式会社
電気機器
2か月前
キヤノン株式会社
電子機器
1か月前
アイホン株式会社
電気機器
1か月前
メクテック株式会社
配線基板
2か月前
東レ株式会社
霧化状活性液体供給装置
2か月前
個人
静電気中和除去装置
3日前
株式会社レクザム
剥離装置
24日前
サクサ株式会社
筐体の壁掛け構造
2か月前
イビデン株式会社
配線基板
2か月前
FDK株式会社
基板
1か月前
イビデン株式会社
プリント配線板
1か月前
株式会社デンソー
電子装置
25日前
イビデン株式会社
配線基板
2か月前
続きを見る
他の特許を見る