TOP
|
特許
|
意匠
|
商標
特許ウォッチ
Twitter
他の特許を見る
公開番号
2025159662
公報種別
公開特許公報(A)
公開日
2025-10-21
出願番号
2024062417
出願日
2024-04-08
発明の名称
画像形成装置
出願人
キヤノン株式会社
代理人
個人
,
個人
,
個人
,
個人
,
個人
主分類
G03G
21/00 20060101AFI20251014BHJP(写真;映画;光波以外の波を使用する類似技術;電子写真;ホログラフイ)
要約
【課題】 中間転写ベルト表面に付着した付着物を除去するスクレーパーを備えた画像形成装置において、簡易な構成でスクレーパー当接部に堆積した堆積物を除去可能な画像形成装置を提供する。
【解決手段】 クリーニングスクレーパーのニップ部に堆積した中間転写体表面とクリーニング部材ニップ部に堆積した堆積物を逆回転制御により効率よく除去することができ、中間転写体表面につく傷を防止することができる。
【選択図】 図4
特許請求の範囲
【請求項1】
回転可能に設けられ、トナー像を担持する像担持体と、
前記像担持体に形成されたトナー像を記録材に転写する転写部材と、
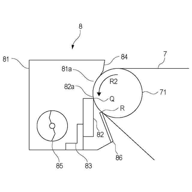
前記像担持体と第1当接部で当接して設けられ、前記像担持体に残留するトナーをクリーニングするクリーニングブレードと、
前記像担持体の回転方向において、前記第1当接部よりも下流の第2当接部で前記像担持体と当接するスクレーパーと、
前記像担持体を駆動する駆動源と、
前記像担持体を逆回転させる逆回転動作を実行するように前記駆動源を制御する制御部と、を有する画像形成装置において、
前記制御部は、前記逆回転動作を実行する場合、前記像担持体が逆回転したときの移動距離が、前記第1当接部と前記第2当接部との間の前記像担持体の周長距離Lより長くなるように、前記駆動源を制御することを特徴とする画像形成装置。
続きを表示(約 270 文字)
【請求項2】
前記制御部は、画像形成枚数に基づき、前記逆回転動作を実行することを特徴とする請求項1に記載の画像形成装置。
【請求項3】
前記逆回転動作は第1の逆回転動作であり、前記制御部は、前記第1の逆回転動作は第1の条件で実行され、第2の逆回転動作は、前記第1の条件とは異なる第2の条件で実行されることを特徴とする請求項1に記載の画像形成装置。
【請求項4】
前記第2の逆回転動作は、前記像担持体が逆回転したときの移動距離が前記周長距離よりも短いことを特徴とする請求項3に記載の画像形成装置。
発明の詳細な説明
【技術分野】
【0001】
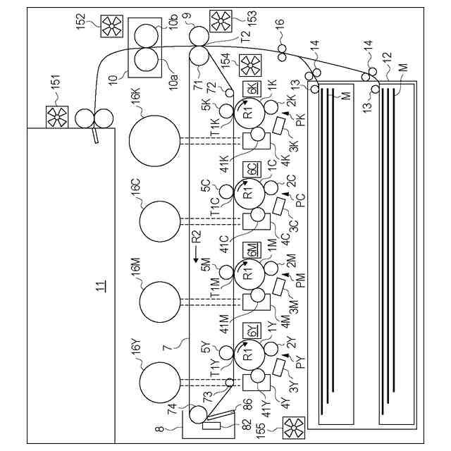
本発明は、像担持体表面に当接してクリーニングするクリーニングブレードと、像担持体表面に当接してクリーニングするスクレーパーと、を備えた画像形成装置に関する。
続きを表示(約 1,600 文字)
【背景技術】
【0002】
従来の電子写真方式の画像形成装置は、トナー像が記録シートに転写された後の感光体や中間転写ベルト等の像担持体表面に付着した残留トナーを除去(クリーニング)するクリーニング装置を備えている。前記クリーニング装置は、像担持体表面に当接して残留トナーを除去するクリーニング部材を有しており、前記トナーの他に像担持体表面に付着した、トナーに外添されている外添剤や記録シートから剥離した紙粉等もクリーニングする。
【0003】
前記外添剤は、通常、トナーに比べ粒径が小さく、クリーニングしにくい。また、外添剤が十分除去できないと、像担持体表面にフィルム状に固着するフィルミングが発生する場合がある。前記フィルミングが発生すると、ブレード状のクリーニング部材(クリーニングブレード)を使用している場合、像担持体とクリーニングブレードとの摩擦抵抗が高まり、ブレードの先端がめくれ、クリーニング不良が発生するおそれがある。
【0004】
また、前記外添剤や紙粉が十分クリーニングできない場合、像担持体表面の帯電電位が低下して、転写不良等が発生し、画像欠陥の原因となる。さらに、紙粉がクリーニングブレードと像担持体との当接部に突入すると、当接部に紙粉が挟まり、紙粉が挟まった部分をトナーが透り抜けるクリーニング不良に繋がるおそれがある。
【0005】
特許文献1には、無端状のベルトの表面をクリーニングするクリーニング装置が開示されている。無端状のベルトは、像担持体表面に接触しながら回転して像担持体表面のトナーを回収するクリーニングブラシによりクリーニングされる。その後、回収しきれなかったトナーや紙粉などをスクレーパーで回収している。
【先行技術文献】
【特許文献】
【0006】
特開2004-347864号公報
【発明の概要】
【発明が解決しようとする課題】
【0007】
しかしながら、上記特許文献1に記載されているような構成の場合、硬度が高いスクレーパーを使用するため、ベルト表面がクリーニング部材の摺擦により削られることで削れ粉が発生してしまう場合がある。そして、この削れ粉がスクレーパーの当接部に挟まり、ベルト表面を傷つけてしまう可能性がある。
【0008】
そこで、本発明の目的は、像担持体表面に付着した付着物を除去するスクレーパーを備えた画像形成装置において、簡易な構成でスクレーパー当接部に堆積した堆積物を除去可能な画像形成装置を提供することである。
【課題を解決するための手段】
【0009】
上記目的は本発明に係る画像形成装置により解決することができる。要約すれば、回転可能に設けられ、トナー像を担持する像担持体と、前記像担持体に形成されたトナー像を記録材に転写する転写部材と、前記像担持体と第1当接部で当接して設けられ、前記像担持体に残留するトナーをクリーニングするクリーニングブレードと、前記像担持体の回転方向において、前記第1当接部よりも下流の第2当接部で前記像担持体と当接するスクレーパーと、前記像担持体を駆動する駆動源と、前記像担持体を逆回転させる逆回転動作を実行するように前記駆動源を制御する制御部と、を有する画像形成装置において、前記制御部は、前記逆回転動作を実行する場合、前記像担持体が逆回転したときの移動距離が、前記第1当接部と前記第2当接部との間の前記像担持体の周長距離Lより長くなるように、前記駆動源を制御することを特徴とする。
【発明の効果】
【0010】
本発明によれば、像担持体表面に付着した付着物を除去するスクレーパーを備えた画像形成装置において、簡易な構成でスクレーパー当接部に堆積した堆積物を除去可能な画像形成装置を提供することができる。
【図面の簡単な説明】
(【0011】以降は省略されています)
この特許をJ-PlatPat(特許庁公式サイト)で参照する
関連特許
キヤノン株式会社
容器
2日前
キヤノン株式会社
トナー
5日前
キヤノン株式会社
トナー
18日前
キヤノン株式会社
トナー
18日前
キヤノン株式会社
トナー
18日前
キヤノン株式会社
トナー
23日前
キヤノン株式会社
撮像装置
19日前
キヤノン株式会社
撮像装置
2日前
キヤノン株式会社
記録装置
16日前
キヤノン株式会社
現像装置
16日前
キヤノン株式会社
現像容器
16日前
キヤノン株式会社
撮像装置
2日前
キヤノン株式会社
現像装置
16日前
キヤノン株式会社
撮像装置
2日前
キヤノン株式会社
現像装置
9日前
キヤノン株式会社
現像容器
16日前
キヤノン株式会社
測距装置
11日前
キヤノン株式会社
記録装置
23日前
キヤノン株式会社
撮像装置
23日前
キヤノン株式会社
記録装置
2日前
キヤノン株式会社
電子機器
25日前
キヤノン株式会社
定着装置
17日前
キヤノン株式会社
撮影装置
16日前
キヤノン株式会社
モジュール
18日前
キヤノン株式会社
光学センサ
18日前
キヤノン株式会社
現像剤容器
24日前
キヤノン株式会社
半導体装置
25日前
キヤノン株式会社
画像形成装置
25日前
キヤノン株式会社
画像形成装置
19日前
キヤノン株式会社
画像形成装置
19日前
キヤノン株式会社
画像形成装置
10日前
キヤノン株式会社
画像形成装置
19日前
キヤノン株式会社
画像形成装置
10日前
キヤノン株式会社
画像処理装置
24日前
キヤノン株式会社
電子写真装置
3日前
キヤノン株式会社
画像処理装置
16日前
続きを見る
他の特許を見る