TOP
|
特許
|
意匠
|
商標
特許ウォッチ
Twitter
他の特許を見る
10個以上の画像は省略されています。
公開番号
2025144852
公報種別
公開特許公報(A)
公開日
2025-10-03
出願番号
2024044735
出願日
2024-03-21
発明の名称
記録装置
出願人
キヤノン株式会社
代理人
個人
,
個人
,
個人
,
個人
,
個人
主分類
B41J
13/10 20060101AFI20250926BHJP(印刷;線画機;タイプライター;スタンプ)
要約
【課題】 カラーラベルの記録媒体でも印刷エリアを検出することを目的とする。
【解決手段】 記録媒体へ光を照射する発光手段と、記録媒体からその乱反射光を検出する複数の受光素子で構成された第1の受光手段と、第1の受光手段の乱反射光の検出結果から記録媒体の印刷可能なエリアを検出する検出手段と、を有する。
【選択図】 図1
特許請求の範囲
【請求項1】
記録媒体へ光を照射する発光手段と、
記録媒体からその乱反射光を検出する複数の受光素子で構成された第1の受光手段と、
前記第1の受光手段の乱反射光の検出結果から記録媒体の印刷可能なエリアを検出する検出手段と、
を有することを特徴とする記録装置。
続きを表示(約 130 文字)
【請求項2】
正反射光を検出する第2の受光手段と、
前記第1の受光手段の乱反射光の検出結果と前記第2の受光手段の正反射光の検出結果に基づき記録媒体の誤挿入を検出してユーザに通知する通知手段と、
を有する請求項1に記載の記録装置。
発明の詳細な説明
【技術分野】
【0001】
本発明は、記録装置に関する。
続きを表示(約 1,400 文字)
【背景技術】
【0002】
特許文献1には反射型センサを用いて、光学センサの検出波形を所定の閾値に基づいてディスクの印刷面かデータ記録面かを判断することが開示されている。また、特許文献1にはディスク面の印刷エリア外に設けた判別マークの有無を検知して印刷可能なディスクかどうか判断することも記載されている。
【先行技術文献】
【特許文献】
【0003】
特開2006-25906号公報
【発明の概要】
【発明が解決しようとする課題】
【0004】
しかしながら、ラベル印刷対応ディスク媒体の印刷エリアは、白色のみではなくカラーの場合がある。そのため、反射型センサを用いて検出した波形を所定の閾値で印刷面を判定しようとするとカラーラベルの下地色によっては反射光量が少なく検知できない場合がある。
【0005】
本実施形態ではカラーラベルの記録媒体でも印刷エリアを検出することを目的とする。
【課題を解決するための手段】
【0006】
本発明は、記録媒体へ光を照射する発光手段と、記録媒体からその乱反射光を検出する複数の受光素子で構成された第1の受光手段と、前記第1の受光手段の乱反射光の検出結果から記録媒体の印刷可能なエリアを検出する検出手段と、を有することを特徴とする。
【発明の効果】
【0007】
カラーラベルの記録媒体でも印刷エリアを検出することができる。
【図面の簡単な説明】
【0008】
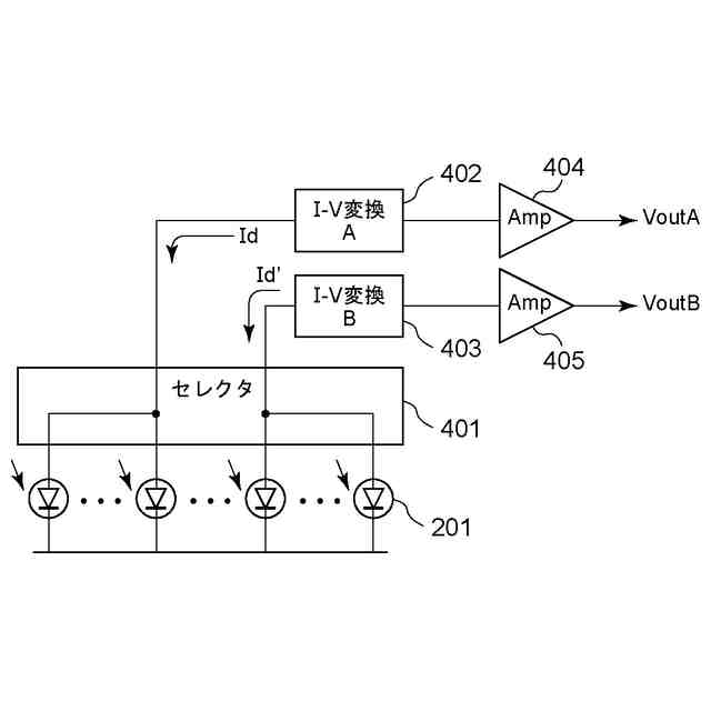
第1の実施形態のセンサ位置を示す構成図である。
検出センサの受光素子の構成図である。
受光素子の選択例を示した図である。
位置検出回路図である。
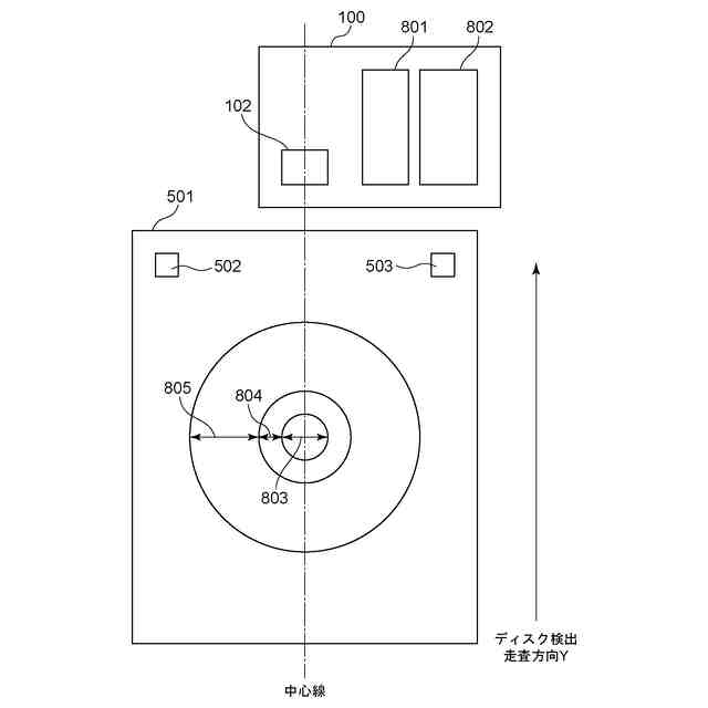
ディスク搬送トレイの構成図である。
内観斜視図である。
ディスクトレイの位置マーカを検出する波形を示した図である。
検出センサの位置とディスクの検出走査方向を示した図である。
ディスク未着装を検出する波形を示した図である。
ディスクの印刷エリアを検出する第1の波形を示した図である。
ディスクの印刷エリアを検出する第2の波形を示した図である。
ディスク誤着装を検出する波形を示した図である。
第1の実施形態の動作フローである。
カード搬送トレイの構成図である。
カードの印刷エリアを検出する波形を示した図である。
第2の実施形態の動作フローである。
実施形態に係るマルチファンクションプリンタのブロック図である。
カードトレイの位置マーカを検出する波形を示した図である。
検出センサの位置とカードの検出走査方向を示した図である。
カード未着装を検出する波形を示した図である。
【発明を実施するための形態】
【0009】
(第1の実施形態)
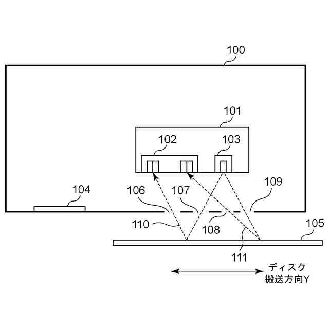
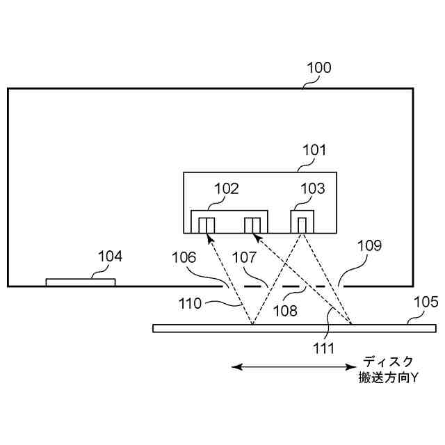
図1は、第1の実施形態におけるセンサの配置および記録媒体からの反射光路を示す構成図である。
【0010】
インクカートリッジを格納するキャリッジユニット100内には、複数の受光素子で構成されるマルチセンサ102とLEDから成る発光素子103で構成されるセンサユニット101、プリントヘッド104が具備されている。
(【0011】以降は省略されています)
この特許をJ-PlatPat(特許庁公式サイト)で参照する
関連特許
キヤノン株式会社
容器
2日前
キヤノン株式会社
トナー
5日前
キヤノン株式会社
トナー
23日前
キヤノン株式会社
トナー
18日前
キヤノン株式会社
トナー
18日前
キヤノン株式会社
トナー
18日前
キヤノン株式会社
記録装置
2日前
キヤノン株式会社
測距装置
11日前
キヤノン株式会社
撮像装置
23日前
キヤノン株式会社
現像装置
9日前
キヤノン株式会社
現像容器
16日前
キヤノン株式会社
現像装置
16日前
キヤノン株式会社
定着装置
17日前
キヤノン株式会社
撮影装置
16日前
キヤノン株式会社
現像容器
16日前
キヤノン株式会社
撮像装置
2日前
キヤノン株式会社
撮像装置
2日前
キヤノン株式会社
撮像装置
2日前
キヤノン株式会社
撮像装置
19日前
キヤノン株式会社
現像装置
16日前
キヤノン株式会社
記録装置
23日前
キヤノン株式会社
電子機器
25日前
キヤノン株式会社
記録装置
16日前
キヤノン株式会社
モジュール
18日前
キヤノン株式会社
光学センサ
18日前
キヤノン株式会社
半導体装置
25日前
キヤノン株式会社
現像剤容器
24日前
キヤノン株式会社
画像形成装置
24日前
キヤノン株式会社
画像形成装置
9日前
キヤノン株式会社
画像形成装置
24日前
キヤノン株式会社
画像形成装置
10日前
キヤノン株式会社
画像形成装置
16日前
キヤノン株式会社
画像形成装置
24日前
キヤノン株式会社
画像形成装置
16日前
キヤノン株式会社
画像形成装置
16日前
キヤノン株式会社
画像形成装置
16日前
続きを見る
他の特許を見る