TOP
|
特許
|
意匠
|
商標
特許ウォッチ
Twitter
他の特許を見る
10個以上の画像は省略されています。
公開番号
2025166352
公報種別
公開特許公報(A)
公開日
2025-11-06
出願番号
2024070299
出願日
2024-04-24
発明の名称
画像形成装置
出願人
キヤノン株式会社
代理人
弁理士法人近島国際特許事務所
主分類
G03G
21/16 20060101AFI20251029BHJP(写真;映画;光波以外の波を使用する類似技術;電子写真;ホログラフイ)
要約
【課題】本発明によれば、従来の技術を発展させた新たな形態の画像形成装置を提供することができる。
【解決手段】画像形成装置であって、感光ドラムと、感光ドラムの表面を露光して表面に静電潜像を形成する露光装置と、静電潜像をトナー像として現像する現像ローラと、現像ローラに供給されるトナーを収容する収容部を備えた収容枠体と、を有する回転可能なロータリと、トナーを収容し、ロータリに着脱可能なトナーカートリッジと、を有し、露光装置は、筐体と、筐体に設けられ、感光ドラムに向けて照射される光が通過する通過部と、を備え、トナーカートリッジは、ロータリの収容部にトナーを供給するためのトナー排出口を備え、ロータリの回転軸線方向における一方から他方に向かう方向を所定方向としたとき、所定方向において、トナー排出口の下流端は、通過部の下流端よりも下流に位置する、ことを特徴とする画像形成装置である。
【選択図】図21
特許請求の範囲
【請求項1】
画像形成装置であって、
感光ドラムと、
前記感光ドラムの表面を露光して前記表面に静電潜像を形成する露光装置と、
前記静電潜像をトナー像として現像する現像ローラと、前記現像ローラに供給されるトナーを収容する収容部を備えた収容枠体と、を有する回転可能なロータリと、
トナーを収容し、前記ロータリに着脱可能なトナーカートリッジであって、前記収容枠体に対し、装着位置と、前記装着位置から退避した退避位置とに移動可能であり、前記装着位置にある状態で前記収容部にトナーを供給するように構成されたトナーカートリッジと、
を有し、
前記露光装置は、筐体と、前記筐体に設けられ、前記感光ドラムに向けて照射される光が通過する通過部であって、前記ロータリの回転軸線よりも下方に配置される通過部と、を備え、
前記トナーカートリッジは、前記ロータリの前記収容部にトナーを供給するためのトナー排出口を備え、
前記ロータリの回転軸線方向における一方から他方に向かう方向を所定方向としたとき、前記所定方向において、前記トナー排出口の下流端は、前記通過部の下流端よりも下流に位置する、
ことを特徴とする画像形成装置。
続きを表示(約 920 文字)
【請求項2】
前記所定方向において、前記トナー排出口の前記下流端と前記通過部の前記下流端との間の距離は、前記トナー排出口の上流端と前記通過部の前記下流端との間の距離よりも長い、
ことを特徴とする請求項1に記載の画像形成装置。
【請求項3】
前記所定方向において、前記トナー排出口の上流端は、前記通過部の前記下流端よりも上流に位置する、
ことを特徴とする請求項1に記載の画像形成装置。
【請求項4】
前記所定方向において、前記トナー排出口の上流端は、前記通過部の前記下流端よりも下流に位置する、
ことを特徴とする請求項1に記載の画像形成装置。
【請求項5】
前記トナー排出口は、第1トナー排出口であり、
前記トナーカートリッジは、前記所定方向において前記第1トナー排出口よりも上流に配置され、前記ロータリの前記収容部にトナーを供給するための第2トナー排出口を備え、
前記所定方向において、前記第2トナー排出口の上流端は、前記通過部の上流端よりも上流に位置する、
ことを特徴とする請求項1に記載の画像形成装置。
【請求項6】
前記通過部は、前記筐体に設けられる開口部である、
ことを特徴とする請求項1に記載の画像形成装置。
【請求項7】
前記通過部は、前記感光ドラムに向けて照射される光を透過可能な透明部である、
ことを特徴とする請求項1に記載の画像形成装置。
【請求項8】
前記トナーカートリッジが前記装着位置から前記退避位置に移動するように、前記収容枠体に対して移動可能に支持される支持部材を更に有する、
ことを特徴とする請求項1乃至7のいずれか1項に記載の画像形成装置。
【請求項9】
駆動源と、
前記駆動源からの駆動力によって駆動されるピニオンギアと、
前記支持部材に設けられ、前記ピニオンギアと噛み合うことで前記支持部材と一体に移動するラックギアと、を更に有する、
ことを特徴とする請求項8に記載の画像形成装置。
発明の詳細な説明
【技術分野】
【0001】
本発明は、記録材に画像を形成する画像形成装置に関する。
続きを表示(約 2,400 文字)
【背景技術】
【0002】
電子写真方式の画像形成装置において、複数の現像部材を備えたロータリを回転させることでカラー画像を形成するロータリ現像方式が知られている。特許文献1、2には、複数本の現像ローラを備えたロータリと、該ロータリに対してそれぞれ着脱可能な複数のトナーカートリッジ(トナー収容容器)と、を備えた画像形成装置が記載されている。
【先行技術文献】
【特許文献】
【0003】
特開2007-183305号公報
特開2008-096852号公報
【発明の概要】
【発明が解決しようとする課題】
【0004】
本発明は、従来の技術を発展させた新たな形態の画像形成装置を提供することを目的とする。
【課題を解決するための手段】
【0005】
本発明の一態様は、画像形成装置であって、感光ドラムと、前記感光ドラムの表面を露光して前記表面に静電潜像を形成する露光装置と、前記静電潜像をトナー像として現像する現像ローラと、前記現像ローラに供給されるトナーを収容する収容部を備えた収容枠体と、を有する回転可能なロータリと、トナーを収容し、前記ロータリに着脱可能なトナーカートリッジであって、前記収容枠体に対し、装着位置と、前記装着位置から退避した退避位置とに移動可能であり、前記装着位置にある状態で前記収容部にトナーを供給するように構成されたトナーカートリッジと、を有し、前記露光装置は、筐体と、前記筐体に設けられ、前記感光ドラムに向けて照射される光が通過する通過部であって、前記ロータリの回転軸線よりも下方に配置される通過部と、を備え、前記トナーカートリッジは、前記ロータリの前記収容部にトナーを供給するためのトナー排出口を備え、前記ロータリの回転軸線方向における一方から他方に向かう方向を所定方向としたとき、前記所定方向において、前記トナー排出口の下流端は、前記通過部の下流端よりも下流に位置する、ことを特徴とする画像形成装置である。
【発明の効果】
【0006】
本発明によれば、従来の技術を発展させた新たな形態の画像形成装置を提供することができる。
【図面の簡単な説明】
【0007】
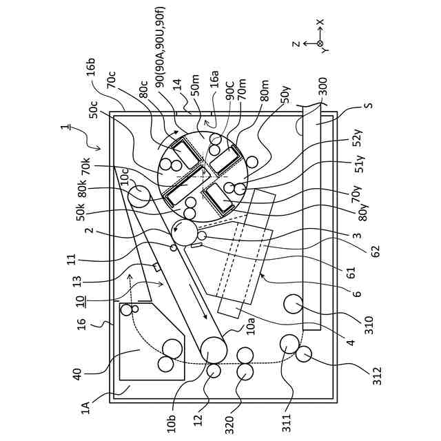
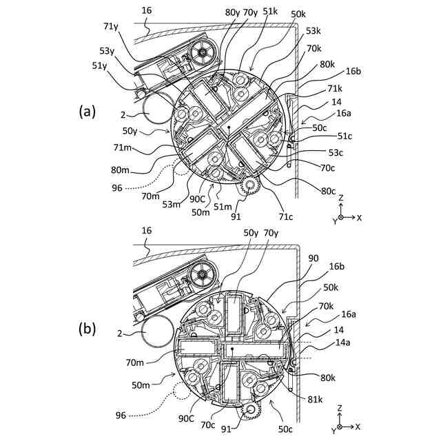
実施例1に係る画像形成装置の概略図。
実施例1に係る画像形成装置の構成図。
実施例1に係る現像ユニット、トナーカートリッジ及びトレイの模式図。
実施例1に係る画像形成装置の断面図(a、b)。
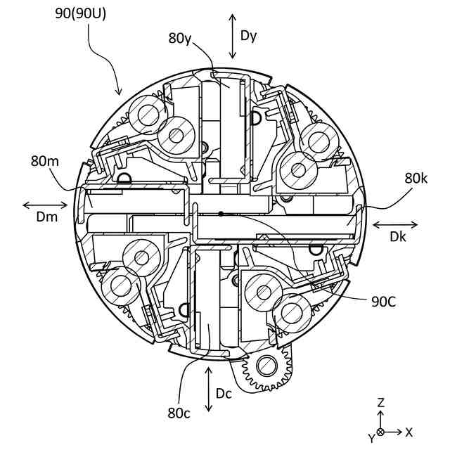
実施例1に係るロータリ本体の斜視図。
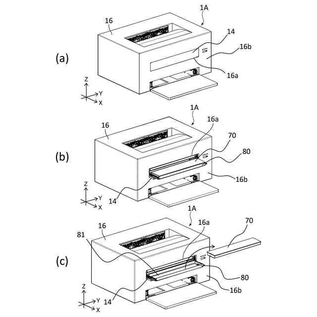
実施例1に係る画像形成装置の斜視図(a~c)。
実施例1に係る画像形成装置の断面図(a、b)。
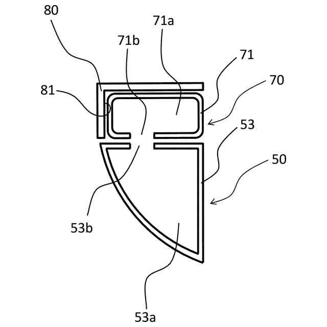
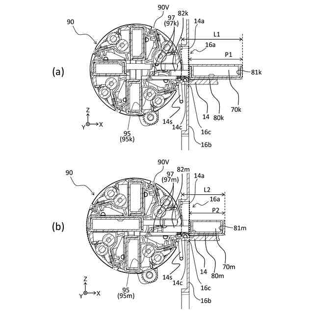
実施例1に係るロータリ本体の説明図。
実施例1に係るロータリ本体の説明図。
実施例1に係るロータリ本体の説明図。
実施例1に係るトレイの移動に関する構成の説明図(a、b)。
実施例1に係るトレイの移動に関する構成の説明図(a、b)。
実施例1に係る画像形成装置の断面構成を示す断面図(a、b)。
実施例1に係る中間転写ユニット、クリーニングユニット及びスキャナを示す斜視図。
実施例1に係るクリーニングユニット及びスキャナを示す正面図。
実施例1に係るスキャナの支持構成を示す説明図(a、b)。
変形例1,2に係る画像形成装置を示す断面図(a、b)。
実施例1に係るスキャナ及びトナーカートリッジを示す斜視図。
実施例1に係るスキャナの通過部を示す平面図。
実施例1に係るスキャナ及びトナーカートリッジを示す側面図。
実施例1に係る図20の21A-21A断面を示す断面図。
実施例2に係る図20の21A-21A断面を示す断面図。
【発明を実施するための形態】
【0008】
以下、本開示に係る実施形態について、図面を参照しながら説明する。
【0009】
《実施例1》
図1~図12(a、b)を用いて、実施例1に係る画像形成装置1について説明する。以下の説明及び各図面において、画像形成装置1が水平面に設置された場合の鉛直方向をZ方向とする。Z方向と交差する方向であって、後述するロータリ本体90の回転軸線90Cの方向(ロータリの回転軸線方向)をY方向とする。なお、感光ドラム2の回転軸線の方向(感光ドラムの回転軸線方向)も、ロータリ本体90の回転軸線90Cの方向は、と平行であり、Y方向である。Z方向及びY方向の双方と交差する方向をX方向とする。X方向及びY方向は、好ましくは水平方向である。また、X方向、Y方向、Z方向は、好ましくは互いに直交する。また、必要に応じ、各図面に図示した矢印X、Y、Zの方向をそれぞれ+X側、+Y側、+Z側と表し、その反対側をそれぞれ-X側、-Y側、-Z側と表す。
【0010】
(画像形成装置の全体構成)
まず、画像形成装置1の全体構成について説明する。画像形成装置1は、電子写真方式によりシートSに画像を形成するレーザービームプリンタである。より具体的には、画像形成装置1は、4つの現像ユニット50y、50m、50c、50kを備えるカラーレーザービームプリンタである。記録材(記録媒体)であるシートSとしては、普通紙及び厚紙等の紙、プラスチックフィルム、布、コート紙のような表面処理が施されたシート材、封筒やインデックス紙等の特殊形状のシート材等、サイズ及び材質の異なる多様なシート材を使用可能である。
(【0011】以降は省略されています)
この特許をJ-PlatPat(特許庁公式サイト)で参照する
関連特許
キヤノン株式会社
容器
1か月前
キヤノン株式会社
容器
1か月前
キヤノン株式会社
トナー
1か月前
キヤノン株式会社
トナー
1か月前
キヤノン株式会社
記録装置
1か月前
キヤノン株式会社
表示装置
9日前
キヤノン株式会社
電子機器
1か月前
キヤノン株式会社
記録装置
3日前
キヤノン株式会社
撮像装置
17日前
キヤノン株式会社
撮像装置
17日前
キヤノン株式会社
記録装置
3日前
キヤノン株式会社
表示装置
9日前
キヤノン株式会社
撮像装置
2日前
キヤノン株式会社
撮像装置
2日前
キヤノン株式会社
定着装置
17日前
キヤノン株式会社
現像装置
1か月前
キヤノン株式会社
電子機器
1か月前
キヤノン株式会社
現像装置
1か月前
キヤノン株式会社
雲台装置
1か月前
キヤノン株式会社
撮像装置
2日前
キヤノン株式会社
二次電池
4日前
キヤノン株式会社
撮像装置
1か月前
キヤノン株式会社
発光装置
9日前
キヤノン株式会社
撮像装置
9日前
キヤノン株式会社
記録装置
1か月前
キヤノン株式会社
撮像装置
9日前
キヤノン株式会社
表示装置
9日前
キヤノン株式会社
表示装置
1か月前
キヤノン株式会社
撮像装置
1か月前
キヤノン株式会社
撮影装置
1か月前
キヤノン株式会社
撮像装置
1か月前
キヤノン株式会社
撮像装置
11日前
キヤノン株式会社
測距装置
1か月前
キヤノン株式会社
定着装置
17日前
キヤノン株式会社
記録装置
1か月前
キヤノン株式会社
撮像装置
1か月前
続きを見る
他の特許を見る