TOP
|
特許
|
意匠
|
商標
特許ウォッチ
Twitter
他の特許を見る
公開番号
2025165568
公報種別
公開特許公報(A)
公開日
2025-11-05
出願番号
2024069692
出願日
2024-04-23
発明の名称
液体収容体
出願人
キヤノン株式会社
代理人
弁理士法人谷・阿部特許事務所
主分類
B41J
2/175 20060101AFI20251028BHJP(印刷;線画機;タイプライター;スタンプ)
要約
【課題】脱炭素/循環型社会などの持続可能な社会の実現に貢献し得る技術として、バリア機能を備えつつ、液体収容袋を再利用することができる液体収容体を提供する。
【解決手段】液体を収容する液体収容袋と、前記液体収容袋と連通し、前記液体収容袋に収容された液体を消費する装置に接合するための接合部材と、前記液体収容袋を収容しつつ保護するとともに、前記液体収容袋に収容された液体の透過を抑制するバリア機能を備えた保護部材と、を有するようにした。
【選択図】図2
特許請求の範囲
【請求項1】
液体を収容する液体収容袋と、
前記液体収容袋と連通し、前記液体収容袋に収容された液体を消費する装置に接合するための接合部材と、
前記液体収容袋を収容しつつ保護するとともに、前記液体収容袋に収容された液体の透過を抑制するバリア機能を備えた保護部材と、を有することを特徴とする液体収容体。
続きを表示(約 870 文字)
【請求項2】
前記保護部材は、前記液体収容体と対向する内面に、バリア機能を備えた素材が配置される請求項1に記載の液体収容体。
【請求項3】
前記保護部材は、前記内面にアルミ箔がラミネートされる請求項2に記載の液体収容体。
【請求項4】
前記保護部材の内部の圧力に応じて、前記保護部材の内部と外部との連通および遮断を切り替える栓部材をさらに有する請求項1に記載の液体収容体。
【請求項5】
前記栓部材は、前記装置に収容される際に、前記装置に干渉しない位置に設けられる請求項4に記載の液体収容体。
【請求項6】
液体を収容する液体収容袋と、
前記液体収容袋と連通し、前記液体収容袋に収容された液体を消費する装置に接合するための接合部材と、
前記液体収容袋を内部に収容するとともに、前記液体収容袋に収容した液体の透過を抑制するバリア機能を備えた袋部と、
前記液体収容袋および前記袋部を収容して、前記液体収容袋および前記袋部を保護する保護部材と、を有することを特徴とする液体収容体。
【請求項7】
前記袋部は、
延在方向の一方の端部において前記接合部材に固定され、
前記延在方向の略中央位置において前記保護部材に固定される請求項6に記載の液体収容体。
【請求項8】
前記袋部の内部の圧力に応じて、前記袋部の内部と外部との連通および遮断を切り替える栓部材をさらに有する請求項6に記載の液体収容体。
【請求項9】
前記袋部の内部の圧力に応じて、前記袋部の内部と外部との連通および遮断を切り替える栓部材をさらに有し、
前記栓部材は、前記接合部材と前記袋部の前記保護部材との固定部との間に設けられる請求項7に記載の液体収容体。
【請求項10】
前記保護部材は、略楕円柱形状である請求項1から9のいずれか1項に記載の液体収容体。
(【請求項11】以降は省略されています)
発明の詳細な説明
【技術分野】
【0001】
本開示は、液体収容体に関する。
続きを表示(約 1,200 文字)
【背景技術】
【0002】
記録装置には、記録ヘッドにインクなどの液体を供給するため、当該液体が収容された液体収容体が交換可能に収納されている。こうした液体収容体は、例えば、液体を収容する液体収容袋と、液体収容袋を収容し、収容した液体収容袋を搬送時の振動や落下時の衝撃から保護する保護ケースと、を備えている。
【0003】
特許文献1には、バリア機能を備えた多層フィルムからなる液体収容袋を、段ボール製の保護ケースで保護した液体収容体が開示されている。
【先行技術文献】
【特許文献】
【0004】
特開2013-129101号公報
【発明の概要】
【発明が解決しようとする課題】
【0005】
特許文献1の液体収容体は、リサイクル性の観点では、紙製ケースは回収してその状態のまま再利用することも可能であるが、液体収容袋は、柔らかく、振動や衝撃などによってバリア層に微小な亀裂が生じることがあり、再利用することが困難であった。
【0006】
本開示は、上記課題に鑑みてなされたものであり、バリア機能を備えつつ、液体収容袋を再利用することが可能な液体収容体を提供することを目的とする。
【課題を解決するための手段】
【0007】
上記目的を達成するために、本開示による液体収容体の一実施形態は、液体を収容する液体収容袋と、前記液体収容袋と連通し、前記液体収容袋に収容された液体を消費する装置に接合するための接合部材と、前記液体収容袋を収容しつつ保護するとともに、前記液体収容袋に収容された液体の透過を抑制するバリア機能を備えた保護部材と、を有することを特徴とする。
【発明の効果】
【0008】
本開示によれば、液体収容体が、バリア機能を備えつつ、液体収容袋を再利用することできるようになる。
【図面の簡単な説明】
【0009】
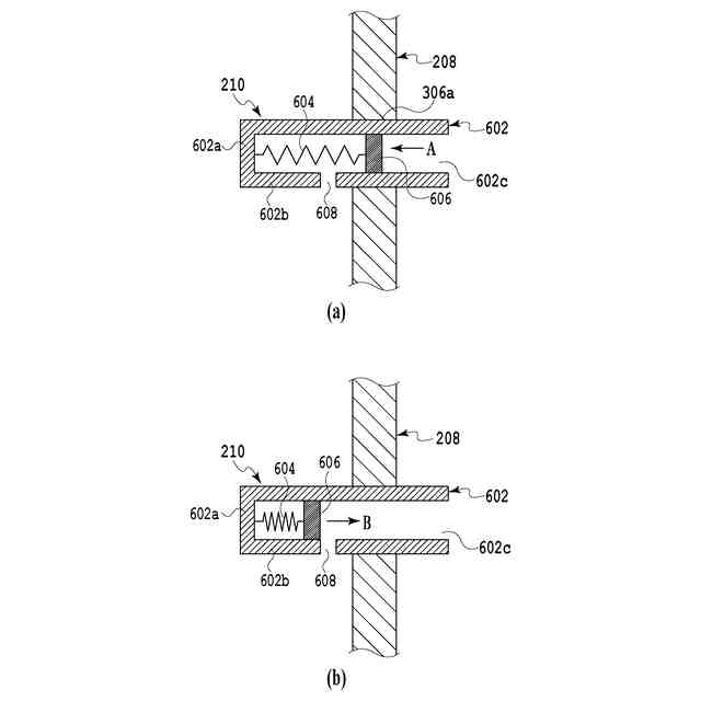
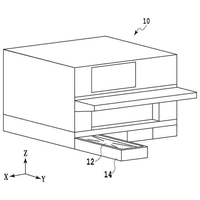
液体収容体を用いる記録装置の斜視図。
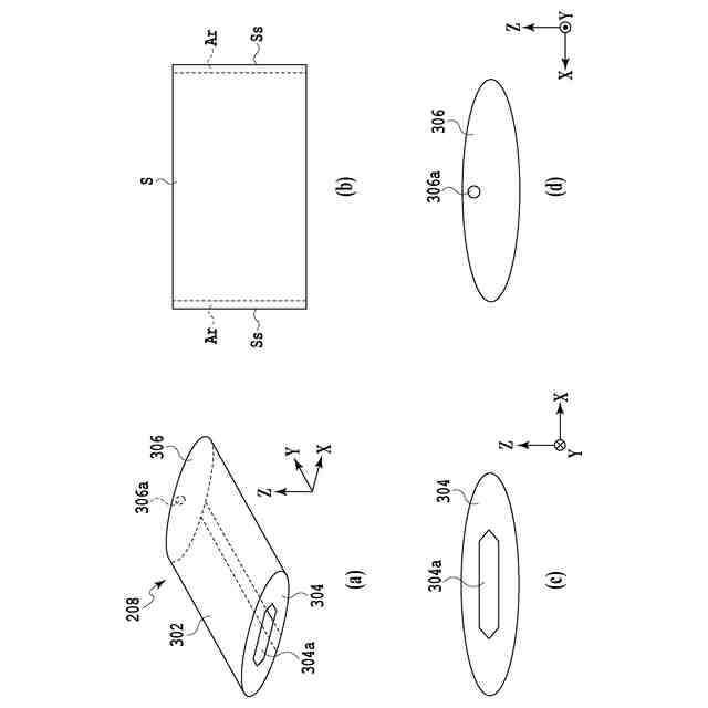
液体収容体の概略構成図。
保護部材の構成を説明する図。
液体取込部の斜視構成図。
接合部材の構成を説明する図。
連通栓の構成を説明する図。
他の実施形態による液体収容体の概略構成図。
【発明を実施するための形態】
【0010】
以下、添付の図面を参照しながら、液体収容体の実施形態の一例を説明する。なお、以下の実施形態は、本開示を限定しるものではなく、また、本実施形態で説明されている特徴の組合せのすべてが本開示の解決手段に必須のものとは限らない。また、本実施形態に記載されている構成要素の位置、形状などはあくまで一例であり、この開示をそれらのみに限定する趣旨のものではない。
(【0011】以降は省略されています)
この特許をJ-PlatPat(特許庁公式サイト)で参照する
関連特許
キヤノン株式会社
トナー
19日前
キヤノン株式会社
雲台装置
19日前
キヤノン株式会社
定着装置
6日前
キヤノン株式会社
撮像装置
19日前
キヤノン株式会社
定着装置
12日前
キヤノン株式会社
記録装置
12日前
キヤノン株式会社
定着装置
12日前
キヤノン株式会社
定着装置
12日前
キヤノン株式会社
定着装置
6日前
キヤノン株式会社
撮像装置
6日前
キヤノン株式会社
撮像装置
6日前
キヤノン株式会社
電子機器
14日前
キヤノン株式会社
撮像装置
今日
キヤノン株式会社
撮像装置
14日前
キヤノン株式会社
露光ヘッド
12日前
キヤノン株式会社
画像形成装置
6日前
キヤノン株式会社
眼科撮像装置
7日前
キヤノン株式会社
画像形成装置
19日前
キヤノン株式会社
画像形成装置
7日前
キヤノン株式会社
画像形成装置
7日前
キヤノン株式会社
画像形成装置
7日前
キヤノン株式会社
印刷システム
6日前
キヤノン株式会社
画像形成装置
7日前
キヤノン株式会社
画像形成装置
7日前
キヤノン株式会社
画像形成装置
7日前
キヤノン株式会社
画像形成装置
7日前
キヤノン株式会社
画像形成装置
6日前
キヤノン株式会社
画像形成装置
12日前
キヤノン株式会社
画像形成装置
12日前
キヤノン株式会社
画像形成装置
12日前
キヤノン株式会社
画像形成装置
14日前
キヤノン株式会社
画像形成装置
14日前
キヤノン株式会社
画像形成装置
14日前
キヤノン株式会社
画像形成装置
14日前
キヤノン株式会社
画像形成装置
14日前
キヤノン株式会社
画像形成装置
12日前
続きを見る
他の特許を見る